LEMON Manuals: Even more car manuals for everyone: 1960-2025
Home >> Infiniti >> 2010 >> FX35 AWD >> Repair and Diagnosis >> Brakes >> Traction Control >> Brake Control System VDC/TCS/Abs >> On-Vehicle Repair >> Yaw Rate/Side G Sensor >> Exploded View
April 5, 2026: LEMON Manuals is launched! Read the announcement.

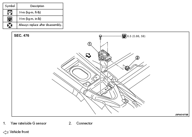
Exploded View

Fig 1: Yaw Rate/Side G Sensor And Connector With Torque Specifications
G05981863Courtesy of NISSAN MOTOR CO., U.S.A.

Refer to GENERAL INFORMATION or COMPONENTS for symbol makes above.