LEMON Manuals: Even more car manuals for everyone: 1960-2025
Home >> Infiniti >> 2010 >> G37 Base, 2D Convertible >> Repair and Diagnosis >> External Pages >> Different car >> Section 265 (Security Control System) >> With Intelligent Key System >> System Description >> System >> INTELLIGENT KEY SYSTEM/ENGINE START FUNCTION : System Diagram
April 5, 2026: LEMON Manuals is launched! Read the announcement.

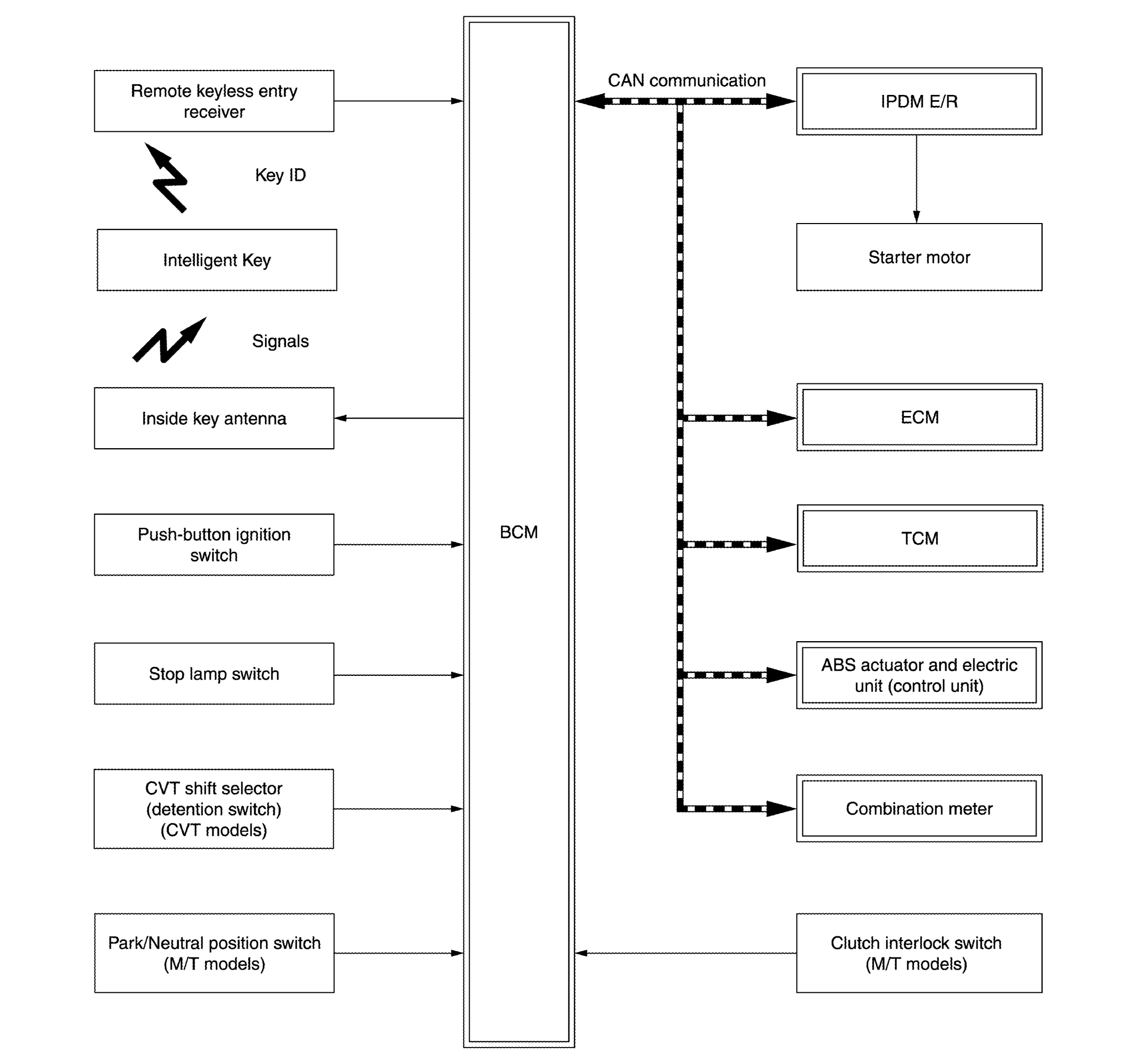
INTELLIGENT KEY SYSTEM/ENGINE START FUNCTION : System Diagram

WARNING: This page is about a different car, the 2011 Nissan Juke. However, it is still accessible from the selected car via links, so may be relevant.
Fig 1: Intelligent Key System/Engine Start Function System Diagram
G06936221Courtesy of NISSAN MOTOR CO., U.S.A.