LEMON Manuals: Even more car manuals for everyone: 1960-2025
Home >> Infiniti >> 2011 >> M56 Base >> Repair and Diagnosis >> External Pages >> Different car >> Section 32 (Body Control System) >> System Description >> System >> Power Consumption Control System >> POWER CONSUMPTION CONTROL SYSTEM : System Diagram
April 5, 2026: LEMON Manuals is launched! Read the announcement.

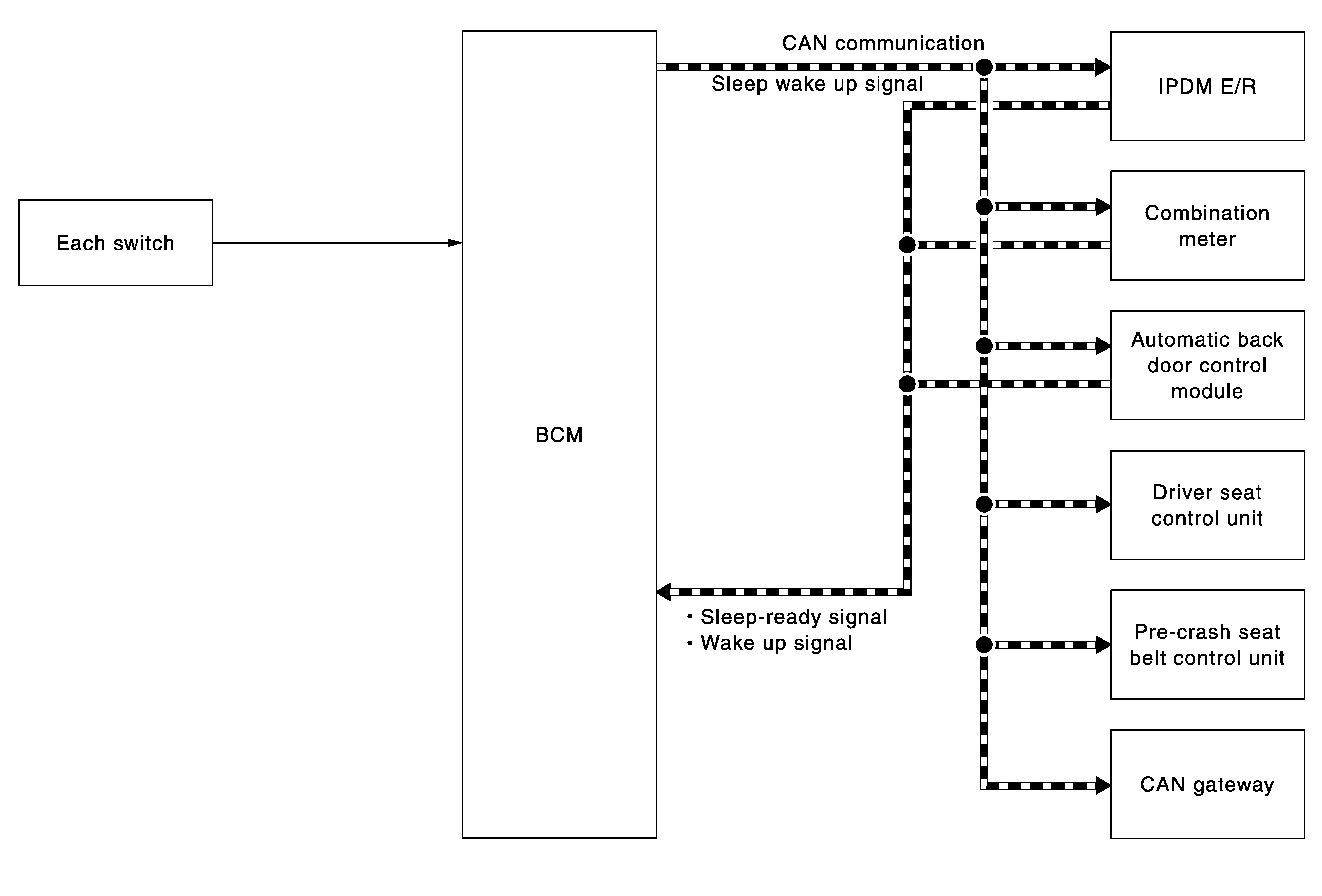
POWER CONSUMPTION CONTROL SYSTEM : System Diagram

WARNING: This page is about a different car, the 2011 Infiniti QX56. However, it is still accessible from the selected car via links, so may be relevant.
Fig 1: Power Consumption Control - System Diagram
G07024498Courtesy of NISSAN MOTOR CO., U.S.A.