LEMON Manuals: Even more car manuals for everyone: 1960-2025
Home >> Infiniti >> 2012 >> G37 Base, 2D Convertible >> Repair and Diagnosis >> Transmission >> Automatic Transmission (Convertible) >> Unit Disassembly And Assembly >> Transmission Assembly >> Assembly
April 5, 2026: LEMON Manuals is launched! Read the announcement.

Transmission Assembly: Assembly

  1. As shown in the figure below, use a drift [22 mm (0.87 in) dia. commercial service tool] to drive manual shaft oil seals into the transmission case until it is flush.
    CAUTION:
    • Never reuse manual shaft oil seals.
    • Apply ATF to manual shaft oil seals.
    Fig 1: Installing Manual Shaft Oil Seals
    G07013621Courtesy of NISSAN NORTH AMERICA, INC.
  2. Install detent spring to transmission case and tighten detent spring mounting bolt (→ ) to the specified torque.
    Fig 2: Locating Detent Spring Mounting Bolt
    G08446781Courtesy of NISSAN NORTH AMERICA, INC.
  3. Install manual shaft to transmission case.
    Fig 3: Installing Manual Shaft
    G07013613Courtesy of NISSAN NORTH AMERICA, INC.
  4. Install parking rod (1) to manual plate (2).
    Fig 4: Installing Parking Rod To Manual Plate
    G07013624Courtesy of NISSAN NORTH AMERICA, INC.
  5. Install manual plate (with parking rod) to manual shaft.
    Fig 5: Installing Manual Plate With Parking Rod To Manual Shaft
    G07013612Courtesy of NISSAN NORTH AMERICA, INC.
  6. Install retaining pin (1) into the manual plate and manual shaft.
    1. Fit pinhole of the manual plate to pinhole of the manual shaft with a pin punch.
    2. Use a hammer to tap the retaining pin into the manual plate.

    A: Approx. 2 mm (0.08in) 

    Fig 6: Identifying Retaining Pin Installation Dimensions
    G07023211Courtesy of NISSAN NORTH AMERICA, INC.
    CAUTION: Drive retaining pin to 2±0.5 mm (0.08±0.020 in) over the manual plate.
  7. Install retaining pin into the transmission case and manual shaft.
    1. Fit pinhole of the transmission case to pinhole of the manual shaft with a pin punch.
    2. Use a hammer to tap the retaining pin into the transmission case.
    CAUTION: Drive retaining pin to 5±1 mm (0.20±0.04 in) over the transmission case.
    Fig 7: Identifying Retaining Pin Installation Dimensions
    G07023212Courtesy of NISSAN NORTH AMERICA, INC.
  8. Install D-rings in reverse brake piston.
    Fig 8: Identifying D-Rings In Reverse Brake Piston
    G07023213Courtesy of NISSAN NORTH AMERICA, INC.
  9. Install reverse brake piston in transmission case.
    Fig 9: Identifying Reverse Brake Piston
    G07013629Courtesy of NISSAN NORTH AMERICA, INC.
  10. Install needle bearing to drum support edge surface.
    CAUTION: Check the direction of needle bearing. Refer to "LOCATION OF NEEDLE BEARINGS AND BEARING RACES ".
    Fig 10: Identifying Needle Bearing
    G07016159Courtesy of NISSAN NORTH AMERICA, INC.
  11. Install seal rings to drum support.
    Fig 11: Identifying Seal Rings
    G07023216Courtesy of NISSAN NORTH AMERICA, INC.
  12. Install reverse brake spring retainer and reverse brake return spring in transmission case.
    Fig 12: Identifying Spring Retainer
    G07016157Courtesy of NISSAN NORTH AMERICA, INC.
  13. Set the clutch spring compressor on reverse brake spring retainer and install snap ring (fixing spring retainer) in transmission case while compressing return spring.
    CAUTION:
    • Securely assemble them using a flat-bladed screwdriver so that snap ring tension is slightly weak.
    • Be careful not to damage snap ring.
    Fig 13: Installing Snap Ring In Transmission Case Using Press
    G04876166Courtesy of NISSAN NORTH AMERICA, INC.
  14. Install reverse brake component part (drive plates, driven plates, and dish plates) in transmission case.
    Fig 14: Identifying Reverse Brake Component Part Installation (Drive Plates, Driven Plates, And Dish Plates)
    G08446793Courtesy of NISSAN NORTH AMERICA, INC.
    CAUTION: Check order of plates.
  15. Assemble N-spring.
  16. Install reverse brake retaining plate in transmission case.
    Fig 15: Identifying N-Spring, Drive Plates, Driven Plates & Transmission Case
    G07013635Courtesy of NISSAN NORTH AMERICA, INC.
  17. Install snap ring in transmission case.
    CAUTION: Be careful not to damage snap ring.
    Fig 16: Identifying Snap Ring In Transmission Case
    G07013636Courtesy of NISSAN NORTH AMERICA, INC.
  18. Measure clearance between retaining plate and snap ring. If not within specified clearance, select proper retaining plate.

    Specified clearance "A" 

    Standard: Refer to " REVERSE BRAKE CLEARANCE  ". 

    Retaining plate: Refer to " REVERSE BRAKE CLEARANCE  " 

    Fig 17: Identifying Clearance Between Retaining Plate And Snap Ring
    G07013637Courtesy of NISSAN NORTH AMERICA, INC.
  19. Install needle bearing to transmission case.
    CAUTION: Check the direction of needle bearing. Refer to "LOCATION OF NEEDLE BEARINGS AND BEARING RACES ".
    Fig 18: Identifying Needle Bearing
    G07016151Courtesy of NISSAN NORTH AMERICA, INC.
  20. Install output speed sensor (1) to transmission case and tighten output speed sensor mounting bolt (→ ) to the specified torque.
    CAUTION:
    • Never subject it to impact by dropping or hitting it.
    • Never disassemble.
    • Never allow metal filings, etc. to get on the sensor's front edge magnetic area.
    • Never place in an area affected by magnetism.
    Fig 19: Locating Output Speed Sensor
    G06578129Courtesy of NISSAN NORTH AMERICA, INC.
  21. As shown in the figure below, use the drift to drive rear oil seal into the rear extension until it is flush.
    CAUTION:
    • Never reuse rear oil seal.
    • Apply ATF to rear oil seal.
    Fig 20: Installing Rear Oil Seal
    G04875969Courtesy of NISSAN NORTH AMERICA, INC.
  22. Install return spring (1) to parking pawl (2).
    Fig 21: Identifying Return Spring And Parking Pawl
    G07013540Courtesy of NISSAN NORTH AMERICA, INC.
  23. Install parking pawl (with return spring) and pawl shaft to rear extension.
    Fig 22: Removing/Installing Parking Pawl (With Return Spring)
    G07013618Courtesy of NISSAN NORTH AMERICA, INC.
  24. Install parking actuator support to rear extension.
    Fig 23: Removing/Installing Parking Actuator Support
    G07013617Courtesy of NISSAN NORTH AMERICA, INC.
  25. Install needle bearing (1) to rear extension.
    CAUTION: Check the direction of needle bearing. Refer to "LOCATION OF NEEDLE BEARINGS AND BEARING RACES ".
    Fig 24: Identifying Needle Bearing
    G07013537Courtesy of NISSAN NORTH AMERICA, INC.
  26. Install seal rings (1) to output shaft.
    Fig 25: Identifying Output Shaft Seal Rings
    G07023069Courtesy of NISSAN NORTH AMERICA, INC.
  27. Install parking gear (1) to output shaft (2).
    Fig 26: Installing Parking Gear To Output Shaft
    G07013535Courtesy of NISSAN NORTH AMERICA, INC.
  28. Install output shaft in transmission case.
    CAUTION: Be careful not to mistake front for rear because both sides looks similar. (Thinner end is front side.)
    Fig 27: Installing Output Shaft In Transmission Case
    G07016140Courtesy of NISSAN NORTH AMERICA, INC.
  29. Install bearing race to output shaft.
    Fig 28: Installing Bearing Race To Output Shaft
    G07016139Courtesy of NISSAN NORTH AMERICA, INC.
  30. Apply recommended sealant (Genuine Anaerobic Liquid Gasket or equivalent. Refer to "RECOMMENDED CHEMICAL PRODUCTS AND SEALANTS ".) to rear extension assembly as shown in the figure below.

    Sealant starting point and end point (A): Start and finish point shall be in the center of two bolts. 

    Overlap width of sealant starting point and end point (B): 3 - 5 mm (0.12 - 0.20 in) 

    Sealant width (C): 1.0 - 2.0 mm (0.04 - 0.08 in) 

    Sealant height (C): 0.4 - 1.0 mm (0.016 - 0.04 in) 

    Fig 29: Identifying Anaerobic Liquid Gasket
    G07013558Courtesy of NISSAN NORTH AMERICA, INC.
    CAUTION: Completely remove all moisture, oil and old sealant, etc. from the transmission case and rear extension assembly mounting surfaces.
  31. Install rear extension assembly to transmission case.
    CAUTION: Insert the tip of parking rod between the parking pawl and the parking actuator support when assembling the rear extension assembly.
    Fig 30: Installing Rear Extension Assembly
    G07016138Courtesy of NISSAN NORTH AMERICA, INC.
  32. Tighten rear extension assembly bolts to the specified torque.
    Fig 31: Identifying Rear Extension Assembly Bolts
    G08446810Courtesy of NISSAN NORTH AMERICA, INC.
  33. Install needle bearing in drum support.
    CAUTION: Check the direction of needle bearing. Refer to "LOCATION OF NEEDLE BEARINGS AND BEARING RACES ".
    Fig 32: Identifying Needle Bearing
    G07016126Courtesy of NISSAN NORTH AMERICA, INC.
  34. Install direct clutch assembly in reverse brake.
    CAUTION: Make sure that drum support edge surface and direct clutch inner boss edge surface come to almost same place.
    Fig 33: Identifying Direct Clutch Assembly
    G07016125Courtesy of NISSAN NORTH AMERICA, INC.
  35. Install high and low reverse clutch assembly in direct clutch.
    Fig 34: Identifying High And Low Reverse Clutch Assembly
    G07016124Courtesy of NISSAN NORTH AMERICA, INC.
  36. Align the drive plate using a flat-bladed screwdriver.
    Fig 35: Aligning Drive Plate Using Flat-Bladed Screwdriver
    G07013662Courtesy of NISSAN NORTH AMERICA, INC.
  37. Install high and low reverse clutch hub, mid sun gear assembly, and rear sun gear assembly as a unit.
    Fig 36: Identifying Mid Sun Gear Assembly, Rear Sun Gear Assembly And High And Low Reverse Clutch Hub
    G07016123Courtesy of NISSAN NORTH AMERICA, INC.
    CAUTION: Make sure that portion "A" of high and low reverse clutch drum protrudes approximately 2 mm (0.08 in) beyond portion "B" of rear sun gear.
    Fig 37: Identifying Proper Installation Of High & Low Reverse Clutch Drum
    G07013664Courtesy of NISSAN NORTH AMERICA, INC.
  38. Install needle bearing in rear carrier assembly.
    CAUTION: Check the direction of needle bearing. Refer to "LOCATION OF NEEDLE BEARINGS AND BEARING RACES ".
    Fig 38: Installing Needle Bearing To Rear Carrier Assembly
    G07013665Courtesy of NISSAN NORTH AMERICA, INC.
  39. Install bearing race in rear carrier assembly.
    CAUTION: Check the direction of needle bearing. Refer to "LOCATION OF NEEDLE BEARINGS AND BEARING RACES ".
    Fig 39: Installing Bearing Race To Rear Carrier Assembly
    G07016121Courtesy of NISSAN NORTH AMERICA, INC.
  40. Install rear carrier assembly in direct clutch drum.
    Fig 40: Identifying Rear Carrier Assembly
    G07013667Courtesy of NISSAN NORTH AMERICA, INC.
  41. Install needle bearing (rear side) to mid carrier assembly.
    CAUTION: Check the direction of needle bearing. Refer to "LOCATION OF NEEDLE BEARINGS AND BEARING RACES ".
    Fig 41: Installing Needle Bearing (Rear Side) To Mid Carrier Assembly
    G07016120Courtesy of NISSAN NORTH AMERICA, INC.
  42. Install needle bearing (front side) to mid carrier assembly.
    CAUTION: Check the direction of needle bearing. Refer to "LOCATION OF NEEDLE BEARINGS AND BEARING RACES ".
    Fig 42: Installing Needle Bearing (Front Side) To Mid Carrier Assembly
    G07016119Courtesy of NISSAN NORTH AMERICA, INC.
  43. Install mid carrier assembly in rear carrier assembly.
    Fig 43: Identifying Mid Carrier Assembly
    G07016117Courtesy of NISSAN NORTH AMERICA, INC.
  44. Install seal rings (1) to input clutch assembly.
    Fig 44: Identifying Seal Rings
    G07023148Courtesy of NISSAN NORTH AMERICA, INC.
  45. Install needle bearing (1) to front carrier assembly.
    CAUTION: Check the direction of needle bearing. Refer to "LOCATION OF NEEDLE BEARINGS AND BEARING RACES ".
    Fig 45: Identifying Front Carrier Assembly Needle Bearing
    G07016115Courtesy of NISSAN NORTH AMERICA, INC.
  46. Install input clutch assembly (with front carrier assembly and rear internal gear) (1) to transmission case.
    CAUTION: Check that the needle bearing (2) is securely positioned. If the needle bearing position is misaligned, adjust it to the specified position.
    Fig 46: Installing Input Clutch Assembly To Transmission Case
    G07013673Courtesy of NISSAN NORTH AMERICA, INC.
  47. Install 1st one-way clutch (1) to front brake hub (with under drive carrier) (2).
  48. Check operation of 1st one-way clutch.
    1. Hold 1st one-way clutch.
    2. Check front brake hub for correct locking and unlocking directions.
    Fig 47: Checking Operation Of 1st One-Way Clutch
    G08446826Courtesy of NISSAN NORTH AMERICA, INC.
    CAUTION: If not shown in figure below, check installation direction of 1st one-way clutch.
  49. Install under drive carrier (with 1st one-way clutch) (1) to transmission case.
    Fig 48: Identifying Under Drive Carrier With 1st One-Way Clutch
    G07013675Courtesy of NISSAN NORTH AMERICA, INC.
  50. Install snap ring (1) to transmission case.
    CAUTION: Be careful not to damage snap ring.
    Fig 49: Identifying Snap Ring
    G07016111Courtesy of NISSAN NORTH AMERICA, INC.
  51. Install front brake component part (retaining plates, drive plates and driven plate) to transmission case.
    Fig 50: Identifying Front Brake Component Part Installation (Retaining Plates, Drive Plates And Driven Plate)
    G08446829Courtesy of NISSAN NORTH AMERICA, INC.
    CAUTION: Check order of plates.
  52. Install needle bearing (1) to under drive carrier assembly.
    CAUTION: Check the direction of needle bearing. Refer to "LOCATION OF NEEDLE BEARINGS AND BEARING RACES ".
    Fig 51: Identifying Needle Bearing
    G07016109Courtesy of NISSAN NORTH AMERICA, INC.
  53. Install under drive sun gear (1) to under drive carrier assembly.
    Fig 52: Identifying Under Drive Sun Gear
    G07016107Courtesy of NISSAN NORTH AMERICA, INC.
  54. Adjustment of total end play "T".
    • Measure clearance between bearing race (1) and oil pump cover (2).
    • Select proper thickness of bearing race so that end play is within specifications.
    Fig 53: Measuring Clearance Between Bearing Race And Oil Pump Cover
    G07013680Courtesy of NISSAN NORTH AMERICA, INC.
    1. Measure dimensions "K" and "L", and calculate dimension "J".
      Fig 54: Identifying Measuring Locations
      G08446833Courtesy of NISSAN NORTH AMERICA, INC.

      "J": Distance between the oil pump fitting surface of transmission case and the needle bearing mating surface of under drive sun gear. 

      J = K - L 

      1. Measure dimension "K" between the converter housing fitting surface of transmission case and the needle bearing mating surface of under drive sun gear.
        CAUTION:
        • Never change the straightedge (A) installation position before the completion of "L" measurement.
        • Measure dimension "K" in at least three places, and take the average.
        Fig 55: Measuring Dimension K
        G07013682Courtesy of NISSAN NORTH AMERICA, INC.
      2. Measure dimension "L" between the converter housing fitting surface of transmission case and the oil pump fitting surface of transmission case.
        Fig 56: Measuring Dimension L
        G08446835Courtesy of NISSAN NORTH AMERICA, INC.
        CAUTION: Measure dimension "L" in at least three places, and take the average.
      3. Calculate dimension "J".
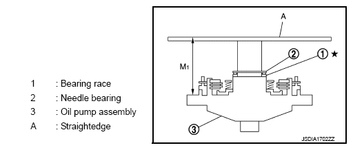
    2. Measure dimensions "M1" and "M2", and calculate dimension "M".
      Fig 57: Identifying Measuring Locations
      G08446836Courtesy of NISSAN NORTH AMERICA, INC.

      "M": Distance between the transmission case fitting surface of oil pump and the needle bearing on oil pump. 

      M = M1-M2 

      1. Place bearing race (1) and needle bearing (2) on oil pump assembly (3).
        Fig 58: Identifying Bearing Race, Needle Bearing And Oil Pump Assembly
        G07013685Courtesy of NISSAN NORTH AMERICA, INC.
      2. Measure dimension "M1" between the transmission case fitting surface of oil pump and the end of oil pump.
        Fig 59: Measuring Dimension M1
        G08446838Courtesy of NISSAN NORTH AMERICA, INC.
        CAUTION: Measure dimension "M1" in at least three places, and take the average.
      3. Measure dimension "M2" between the needle bearing on oil pump and the end of oil pump.
        Fig 60: Measuring Dimension M2
        G08446839Courtesy of NISSAN NORTH AMERICA, INC.
        CAUTION: Measure dimension "M2" in at least three places, and take the average.
      4. Calculate dimension "M".

        M = M1-M2 

    3. Adjust total end play "T".
      Fig 61: Identifying Total End Play T
      G08446840Courtesy of NISSAN NORTH AMERICA, INC.

      T = J - M 

      Total end play "T": Refer to " TOTAL END PLAY  ". 

      • Select proper thickness of bearing race so that total end play is within specifications.

        Bearing races: Refer to " TOTAL END PLAY  ". 

  55. Adjustment of front brake clearance "C".
    • Measure clearance between front brake piston (1) and front brake retaining plate (2).
    • Select proper thickness of front brake retaining plat so that clearance is within specifications.
    Fig 62: Measuring Clearance Between Front Brake Piston And Front Brake Retaining Plate
    G07013689Courtesy of NISSAN NORTH AMERICA, INC.
    1. Measure dimensions "O" and "P", and calculate dimension "N".
      Fig 63: Checking Distance (N) Between Oil Pump Fitting Surface Of Transmission Case And Front Brake Retaining Plate
      G08446842Courtesy of NISSAN NORTH AMERICA, INC.

      "N": Distance between the oil pump fitting surface of transmission case and the front brake retaining plate. 

      N = O - P 

      1. Measure dimension "O" between the converter housing fitting surface of transmission case (1) and the front brake retaining plate (2).
        CAUTION:
        • Never change the straightedge (A) installation position before the completion of "P" measurement.
        • Measure dimension "O" in at least three places, and take the average.
        Fig 64: Measuring Dimension Between Converter Housing Fitting Surface Of Transmission Case And Front Brake Retaining Plate
        G08104256Courtesy of NISSAN NORTH AMERICA, INC.
      2. Measure dimension "P" between the converter housing fitting surface of transmission case and the oil pump fitting surface of transmission case.
        Fig 65: Measuring Dimension P Between Converter Housing Fitting Surface Of Transmission Case And Oil Pump Fitting Surface
        G08446844Courtesy of NISSAN NORTH AMERICA, INC.
        CAUTION: Measure dimension "P" in at least three places, and take the average.
      3. Calculate dimension "N".

        N = O - P 

    2. Measure dimensions "Q1" and "Q2", and calculate dimension "Q".
      Fig 66: Checking Distance (Q) Between Transmission Case Fitting Surface Of Oil Pump And Front Brake Piston
      G08446845Courtesy of NISSAN NORTH AMERICA, INC.

      "Q": Distance between the transmission case fitting surface of oil pump and the front brake piston. 

      Q = Q1-Q2 

      1. Measure dimension "Q1" between the transmission case fitting surface of oil pump and the straightedge on front brake piston.
        Fig 67: Measuring Dimension Q1 Between Transmission Case Fitting Surface Of Oil Pump And Straightedge On Front Brake Piston
        G08446846Courtesy of NISSAN NORTH AMERICA, INC.
        CAUTION: Measure dimension "Q1" in at least three places, and take the average.
      2. Measure dimension "Q2" of the straightedge.
        Fig 68: Measuring Dimension Q2
        G08446847Courtesy of NISSAN NORTH AMERICA, INC.
      3. Calculate dimension "Q".

        Q = Q1-Q2 

    3. Adjust front brake clearance "C".
      Fig 69: Identifying Front Brake Clearance C
      G08446848Courtesy of NISSAN NORTH AMERICA, INC.

      C = N - Q 

      Front brake clearance "C": Refer to " FRONT BRAKE CLEARANCE  ". 

      • Select proper thickness of retaining plate so that front brake clearance is within specifications.

      Retaining plate: Refer to " FRONT BRAKE CLEARANCE  ". 

  56. Remove under drive sun gear (1) from under drive carrier assembly.
    Fig 70: Identifying Under Drive Sun Gear
    G07016107Courtesy of NISSAN NORTH AMERICA, INC.
  57. Install needle bearing (1) to under drive sun gear.
    CAUTION: Check the direction of needle bearing. Refer to "LOCATION OF NEEDLE BEARINGS AND BEARING RACES ".
    Fig 71: Installing Needle Bearing To Under Drive Sun Gear
    G07016108Courtesy of NISSAN NORTH AMERICA, INC.
  58. Install O-ring (1) to oil pump assembly.
    Fig 72: Identifying Oil Pump Assembly O-Ring
    G07023136Courtesy of NISSAN NORTH AMERICA, INC.
  59. Install seal ring (1) to oil pump assembly.
    Fig 73: Identifying Oil Pump Assembly Seal Ring
    G07023138Courtesy of NISSAN NORTH AMERICA, INC.
  60. Install bearing race (1) to oil pump assembly.
    Fig 74: Identifying Oil Pump Assembly Bearing Race
    G07016105Courtesy of NISSAN NORTH AMERICA, INC.
  61. Install under drive sun gear (with needle bearing) (1) to oil pump assembly (2).
    Fig 75: Identifying Under Drive Sun Gear And Oil Pump Assembly
    G07013702Courtesy of NISSAN NORTH AMERICA, INC.
  62. Install oil pump assembly (with under drive sun gear) to transmission case.
    CAUTION: Apply ATF to oil pump bearing.
    Fig 76: Installing Oil Pump Assembly (With Under Drive Sun Gear)
    G07013703Courtesy of NISSAN NORTH AMERICA, INC.
  63. Apply recommended sealant to oil pump assembly as shown in the figure below.
    Fig 77: Identifying Sealant
    G08446856Courtesy of NISSAN NORTH AMERICA, INC.
    CAUTION: Completely remove all moisture, oil and old sealant, etc. from the oil pump mounting bolts and oil pump mounting bolt mounting surfaces.
  64. Tighten oil pump bolts (→ ) to the specified torque.
    Fig 78: Identifying Oil Pump Bolts
    G07013606Courtesy of NISSAN NORTH AMERICA, INC.
  65. Install O-ring to input clutch assembly.
    Fig 79: Identifying O-Ring
    G07013605Courtesy of NISSAN NORTH AMERICA, INC.
  66. Install converter housing to transmission case, and tighten converter housing bolts (→ ) to the specified torque.
    Fig 80: Locating Converter Housing Bolts
    G07013604Courtesy of NISSAN NORTH AMERICA, INC.
  67. Connect TCM connector (A) to joint connector.
    Fig 81: Identifying TCM Connector
    G07016135Courtesy of NISSAN NORTH AMERICA, INC.
  68. Install joint connector (1) to the control valve & TCM.
    CAUTION: Apply ATF to O-ring of joint connector.
    Fig 82: Installing Joint Connector To Control Valve
    G07023294Courtesy of NISSAN NORTH AMERICA, INC.
  69. Install the control valve & TCM (1) to transmission case.
    Fig 83: Removing/Installing Control Valve & TCM
    G07016133Courtesy of NISSAN NORTH AMERICA, INC.
    CAUTION:
    • Make sure that input speed sensor securely installs input speed sensor holes (A).
    • Hang down output speed sensor harness toward outside so as not to disturb installation of the control valve & TCM.
    • Adjust joint connector of the control valve & TCM to terminal hole of transmission case.
      Fig 84: Identifying Input Speed Sensor Holes
      G07013524Courtesy of NISSAN NORTH AMERICA, INC.
    • Assemble it so that manual valve cutout is engaged with manual plate projection.
    Fig 85: Identifying Manual Valve & Manual Plate
    G07013712Courtesy of NISSAN NORTH AMERICA, INC.
  70. Install bolts and clip (1) to the control valve & TCM. Tighten bolt (E) to the specified torque before tightening the other than bolts.
    Fig 86: Identifying Bolts, Clip And Control Valve & TCM
    G08446865Courtesy of NISSAN NORTH AMERICA, INC.
    Bolt symbol Length mm (in) Number of bolts
    A 43 (1.69) 3
    B 40 (1.57) 2
    C 54 (2.13) 6
    D 50 (1.97) 2
    E(1) 50 (1.97) 1
    (1) Reamer bolt
  71. Connect output speed sensor connector (A).
  72. Engage output speed sensor harness with terminal clips (→ ).
    Fig 87: Identifying Output Speed Sensor Connector And Terminal Clips
    G07013520Courtesy of NISSAN NORTH AMERICA, INC.
  73. Pull down joint connector (1).
    CAUTION: Be careful not to damage connector.
    Fig 88: Pulling Down Joint Connector
    G07013715Courtesy of NISSAN NORTH AMERICA, INC.
  74. Install snap ring (1) to joint connector (2).
    Fig 89: Installing Joint Connector Snap Ring
    G07013716Courtesy of NISSAN NORTH AMERICA, INC.
  75. Install magnets (1) in oil pan.
  76. Install oil pan gasket to transmission case.
    CAUTION:
    • Never reuse oil pan gasket.
    • Install it in the direction to align hole positions.
    • Completely remove all moisture, oil and old gasket, etc. from oil pan gasket mounting surface.
    Fig 90: Identifying Oil Pan Magnets
    G07013517Courtesy of NISSAN NORTH AMERICA, INC.
  77. Install oil pan (2) and clips (1) to transmission case.
    CAUTION:
    • Be careful not to pinch harnesses.
    • Completely remove all moisture, oil and old gasket, etc. from oil pan mounting surface.
    Fig 91: Locating Oil Pan Mounting Bolts
    G08446870Courtesy of NISSAN NORTH AMERICA, INC.
  78. Tighten oil pan mounting bolts to the specified torque in numerical order shown in the figure below after temporarily tightening them. Tighten oil pan mounting bolts to the specified torque.
    Fig 92: Identifying Oil Pan Mounting Bolt Tightening Sequence
    G08446871Courtesy of NISSAN NORTH AMERICA, INC.
    CAUTION: Never reuse oil pan mounting bolts.
  79. Install drain plug to oil pan. Tighten drain plug to the specified torque.
    CAUTION: Never reuse drain plug gasket.
  80. Pour ATF into torque converter.
    • Approximately 2 liter (2-1/8 US qt, 1-3/4 Imp qt) of ATF is required for a new torque converter  .
    • When reusing old torque converter, add the same amount of ATF as was drained  .
    Fig 93: Pouring ATF Into Torque Converter
    G07013720Courtesy of NISSAN NORTH AMERICA, INC.
  81. Install torque converter while aligning notches of torque converter with notches of oil pump.
    CAUTION: Install torque converter while rotating it.
    Fig 94: Installing Torque Converter
    G07013603Courtesy of NISSAN NORTH AMERICA, INC.
  82. Measure dimension "A" to make sure that torque converter is in proper position.
    Fig 95: Checking Torque Converter Installation Depth
    G08446874Courtesy of NISSAN NORTH AMERICA, INC.

    Dimension "A": Refer to " TORQUE CONVERTER  ".