LEMON Manuals: Even more car manuals for everyone: 1960-2025
Home >> Infiniti >> 2012 >> G37 IPL, Automatic Trans >> Repair and Diagnosis >> External Pages >> Different car >> Section 67 (Brake Control System) >> Removal And Installation >> Yaw Rate/Side G Sensor >> Exploded View
April 5, 2026: LEMON Manuals is launched! Read the announcement.

Exploded View

WARNING: This page is about a different car, the 2011 Nissan 370Z. However, it is still accessible from the selected car via links, so may be relevant.
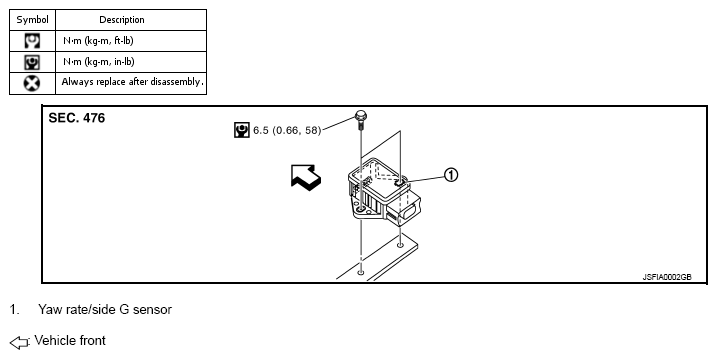
Fig 1: Exploded View Of YAW Rate/Side G Sensor Components With Torque Specifications
G07101116Courtesy of NISSAN MOTOR CO., U.S.A.

Refer to "COMPONENTS " for symbols in the figure.