LEMON Manuals: Even more car manuals for everyone: 1960-2025
Home >> Infiniti >> 2013 >> EX37 Base, AWD >> Repair and Diagnosis >> External Pages >> Different car >> Section 39 (Auto Cruise Control System) >> Intelligent Cruise Control >> Function Diagnosis >> Intelligent Cruise Control System >> System Diagram
April 5, 2026: LEMON Manuals is launched! Read the announcement.

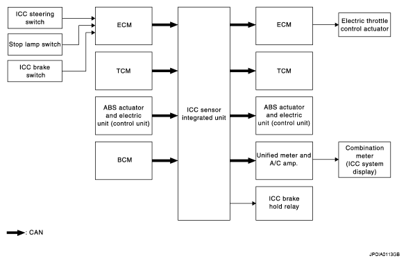
System Diagram

WARNING: This page is about a different car, the 2008 Infiniti EX35. However, it is still accessible from the selected car via links, so may be relevant.
Fig 1: Identifying Intelligent Cruise Control System - System Diagram
G05732558Courtesy of NISSAN MOTOR CO., U.S.A.