LEMON Manuals: Even more car manuals for everyone: 1960-2025
Home >> Infiniti >> 2013 >> M35h >> Repair and Diagnosis >> Accessories & Equipment >> Communication Devices >> Body Control System >> System Description >> System >> Signal Buffer System >> SIGNAL BUFFER SYSTEM: System Diagram
April 5, 2026: LEMON Manuals is launched! Read the announcement.

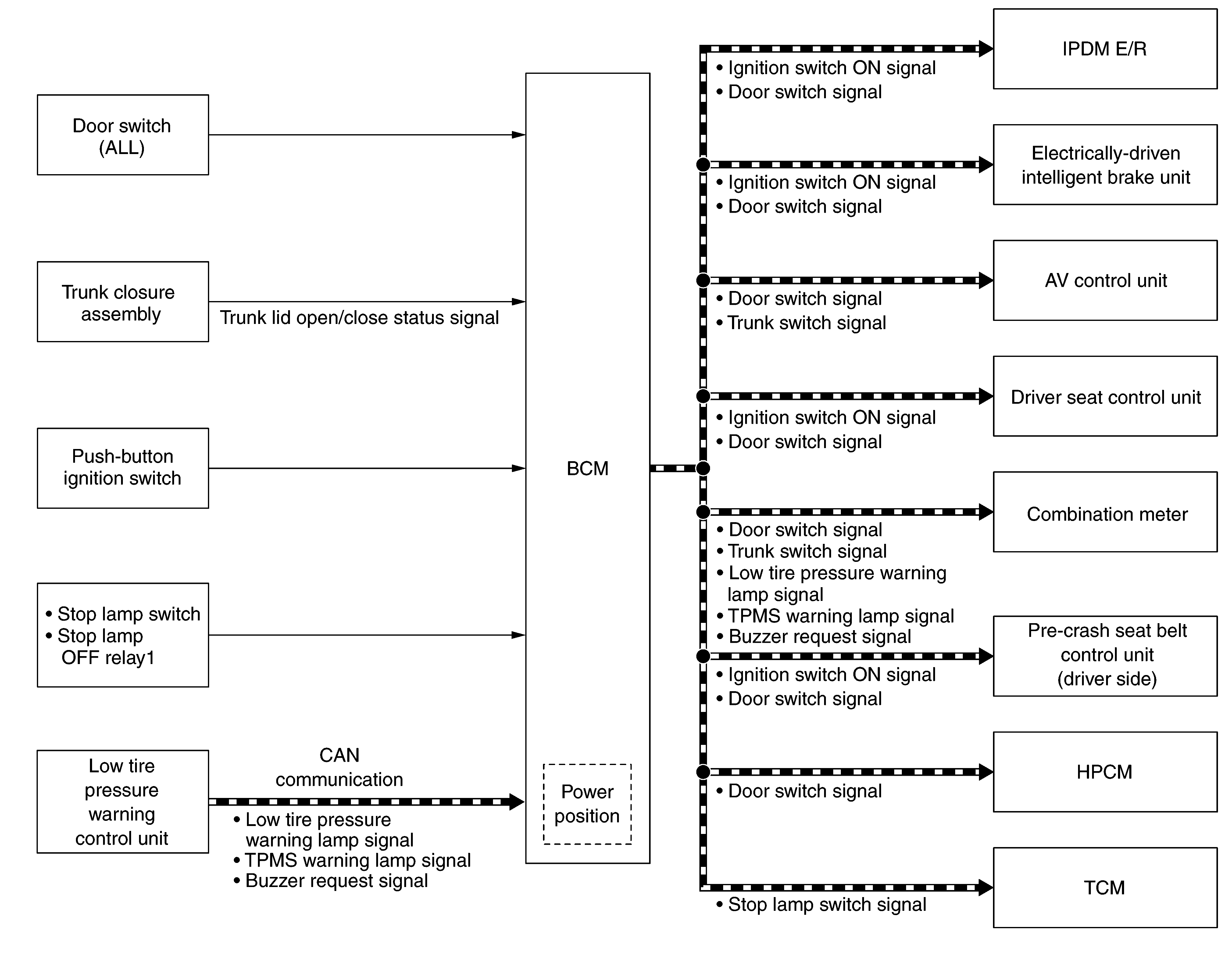
SIGNAL BUFFER SYSTEM: System Diagram

Fig 1: Signal Buffer System Diagram
G08902415Courtesy of NISSAN NORTH AMERICA, INC.