LEMON Manuals: Even more car manuals for everyone: 1960-2025
Home >> Infiniti >> 2015 >> Q40 AWD >> Repair and Diagnosis >> Body & Frame >> Door Locks >> Security Control System >> System Description >> Intelligent Key System/Engine Start Function >> System Diagram
April 5, 2026: LEMON Manuals is launched! Read the announcement.

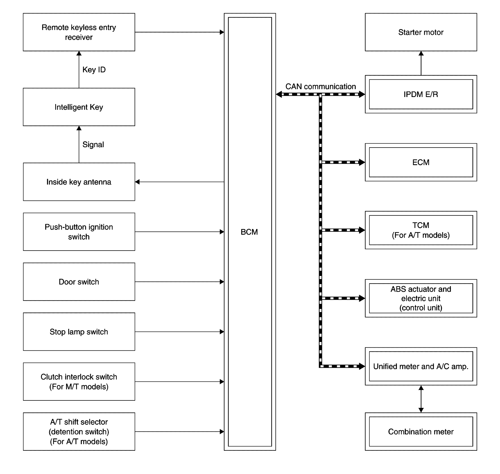
System Diagram

Fig 1: Intelligent Key System/Engine Start Function System Diagram
G08219611Courtesy of NISSAN NORTH AMERICA, INC.