LEMON Manuals: Even more car manuals for everyone: 1960-2025
Home >> Infiniti >> 2015 >> QX50 Base, AWD >> Repair and Diagnosis >> Body & Frame >> Windows >> Glass & Window System >> Removal And Installation >> Front Regulator >> Exploded View With Torque Specifications
April 5, 2026: LEMON Manuals is launched! Read the announcement.

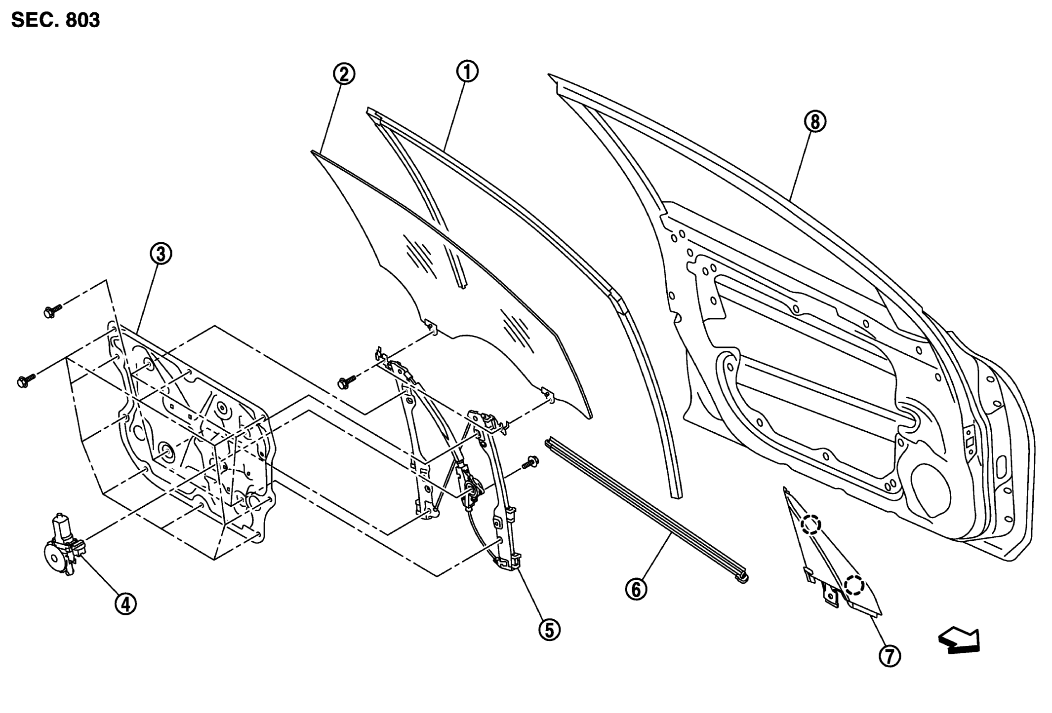
Exploded View With Torque Specifications

Fig 1: Exploded View Of Front Door Window Regulator & Glass
GNSJMKIA1944ZZ-944Courtesy of NISSAN NORTH AMERICA, INC.
1. Front door glass run 2. Front door glass 3. Module base
4. Power window motor 5. Regulator assembly 6. Front door inside seal
7. Corner cover 8. Front door panel    
: Clip        
==> : Vehicle front