LEMON Manuals: Even more car manuals for everyone: 1960-2025
Home >> Infiniti >> 2015 >> QX80 Base, AWD >> Repair and Diagnosis >> Transmission >> Transfer Case >> Basic Inspection >> Configuration (Transfer Control Unit) >> Work Procedure
April 5, 2026: LEMON Manuals is launched! Read the announcement.

Work Procedure

NOTE:

In fail-safe mode, can not perform work support. (Except that DTC P181F is detected.)

  1. CONFIRM REPLACING PARTS

    Confirm the replacing parts.

    What is the replacing parts?

    Transfer control unit 

    GO TO STEP 2  .

    Transfer control actuator 

    GO TO STEP 3  .

    Transfer assembly 

    GO TO STEP 4  .

  2. WRITE UNIT PARAMETER (1)

    G-20With CONSULT 

    1. Make the new unit parameter with the following procedure.
      1. Confirm the alphabet of unit parameter (A).
        Fig 1: Identifying Unit Parameter
        G07023537Courtesy of NISSAN NORTH AMERICA, INC.
        NOTE:
        • This illustration is sample.
        • For this illustration, the unit parameter is "G3" and the alphabet of unit parameter is "G".
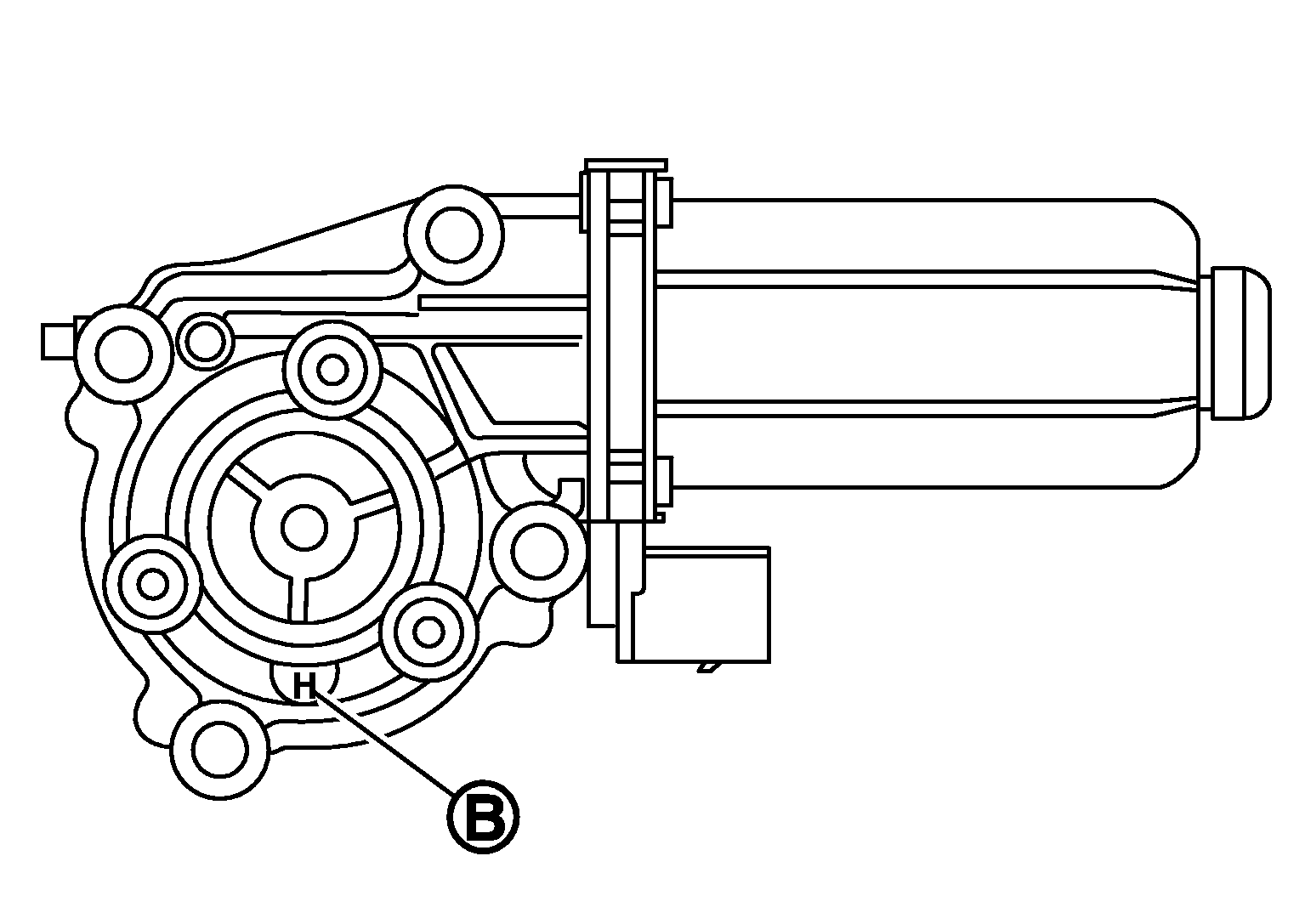
      2. Confirm the alphabet of transfer control actuator parameter (B).
        Fig 2: Identifying Transfer Control Actuator Parameter Letter
        G07023538Courtesy of NISSAN NORTH AMERICA, INC.
        NOTE:
        • Original transfer control actuator does not have marking of alphabet.
        • Just in case that transfer control actuator has been replaced, it has marking of alphabet.
        • This illustration is sample of replaced transfer control actuator.
        • For this illustration, the alphabet of transfer control actuator parameter is "H".
      3. Make new alphabet of unit parameter as to the alphabets of unit parameter and the transfer control actuator parameter, using following chart.
        WHEN THE ALPHABET OF TRANSFER CONTROL ACTUATOR PARAMETER IS NO MARKING.

        The alphabet of original unit parameter A B C D E F G H J
        The new alphabet of unit parameter A B C D E F G H J
        WHEN THE ALPHABET OF TRANSFER CONTROL ACTUATOR PARAMETER IS "C".

        The alphabet of original unit parameter A B C D E F G H J
        The new alphabet of unit parameter A B C C D E E F G
        WHEN THE ALPHABET OF TRANSFER CONTROL ACTUATOR PARAMETER IS "H".

        The alphabet of original unit parameter A B C D E F G H J
        The new alphabet of unit parameter B C D D E F F G H
        WHEN THE ALPHABET OF TRANSFER CONTROL ACTUATOR PARAMETER IS "N".

        The alphabet of original unit parameter A B C D E F G H J
        The new alphabet of unit parameter C D E E F G G H J
        NOTE:

        For the sample illustrations, the new alphabet of unit parameter is "F".

      4. Add the same number of unit parameter behind the new alphabet of unit parameter.
        NOTE:

        For the sample illustration, the number of unit parameter is "3" and new unit parameter is "F3".

    2. Turn the ignition switch OFF to ON.
    3. Select "UNIT CHARACTERISTICS WRITE" of CONSULT "WORK SUPPORT" for "ALL MODE AWD/4WD".
    4. Input new unit parameter.
    5. Select "Start".
    6. Check that "UNIT CHARACTERISTICS WRITE COMPLETED" or "UNIT CHARACTERISTICS WRITE ALREADY WRITTEN" is displayed.

    WORK END.

  3. WRITE UNIT PARAMETER (2)

    G-20With CONSULT 

    1. Make the new unit parameter with the following procedure.
      1. Confirm the alphabet of unit parameter (A).
        Fig 3: Identifying Unit Parameter
        G07023537Courtesy of NISSAN NORTH AMERICA, INC.
        NOTE:
        • This illustration is sample.
        • For this illustration, the unit parameter is "G3" and the alphabet of unit parameter is "G".
      2. Confirm the alphabet of transfer control actuator parameter (B).
        Fig 4: Identifying Transfer Control Actuator Parameter Letter
        G07023538Courtesy of NISSAN NORTH AMERICA, INC.
        NOTE:
        • Original transfer control actuator does not have marking of alphabet.
        • Just in case that transfer control actuator has been replaced, it has marking of alphabet.
        • This illustration is sample of replaced transfer control actuator.
        • For this illustration, the alphabet of transfer control actuator parameter is "H".
      3. Make new alphabet of unit parameter as to the alphabets of unit parameter and the transfer control actuator parameter, using following chart.
        WHEN THE ALPHABET OF TRANSFER CONTROL ACTUATOR PARAMETER IS "C".

        The alphabet of original unit parameter A B C D E F G H J
        The new alphabet of unit parameter A B C C D E E F G
        WHEN THE ALPHABET OF TRANSFER CONTROL ACTUATOR PARAMETER IS "H".

        The alphabet of original unit parameter A B C D E F G H J
        The new alphabet of unit parameter B C D D E F F G H
        WHEN THE ALPHABET OF TRANSFER CONTROL ACTUATOR PARAMETER IS "N".

        The alphabet of original unit parameter A B C D E F G H J
        The new alphabet of unit parameter C D E E F G G H J
        NOTE:

        For the sample illustrations, the new alphabet of unit parameter is "F".

      4. Add the same number of unit parameter behind the new alphabet of unit parameter.
        NOTE:

        For the sample illustration, the number of unit parameter is "3" and new unit parameter is "F3".

    2. Turn the ignition switch OFF to ON.
    3. Select "UNIT CHARACTERISTICS WRITE" of CONSULT "WORK SUPPORT" for "ALL MODE AWD/4WD".
    4. Input new unit parameter.
    5. Select "Start".
    6. Check that "UNIT CHARACTERISTICS WRITE COMPLETED" or "UNIT CHARACTERISTICS WRITE ALREADY WRITTEN" is displayed.

    WORK END.

  4. WRITE UNIT PARAMETER (3)

    G-20With CONSULT 

    1. Confirm the unit parameter (A).
      Fig 5: Identifying Unit Parameter
      G07023537Courtesy of NISSAN NORTH AMERICA, INC.
      NOTE:
      • This illustration is sample.
      • For this illustration, the unit parameter is "G3".
    2. Turn the ignition switch OFF to ON.
    3. Select "UNIT CHARACTERISTICS WRITE" of CONSULT "WORK SUPPORT" for "ALL MODE AWD/4WD".
    4. Input unit parameter.
    5. Select "Start".
    6. Check that "UNIT CHARACTERISTICS WRITE COMPLETED" or "UNIT CHARACTERISTICS WRITE ALREADY WRITTEN" is displayed.

    WORK END.