LEMON Manuals: Even more car manuals for everyone: 1960-2025
Home >> Infiniti >> 2017 >> QX80 Base, AWD >> Repair and Diagnosis (Single Page) >> Accessories & Equipment >> Communication Devices >> Body Control System (Introduction, Wiring Diagrams And Basic Inspection) >> System Description >> System >> Power Consumption Control System >> System Diagram
April 5, 2026: LEMON Manuals is launched! Read the announcement.

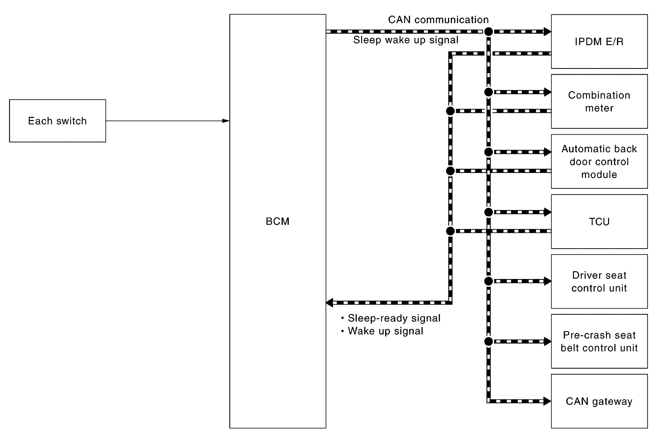
System Diagram

G08878346Courtesy of NISSAN NORTH AMERICA, INC.