LEMON Manuals: Even more car manuals for everyone: 1960-2025
Home >> Infiniti >> 2017 >> QX80 Base, RWD >> Repair and Diagnosis >> Body & Frame >> Door Locks >> Security Control System >> System Description >> System >> Vehicle Security System >> System Diagram
April 5, 2026: LEMON Manuals is launched! Read the announcement.

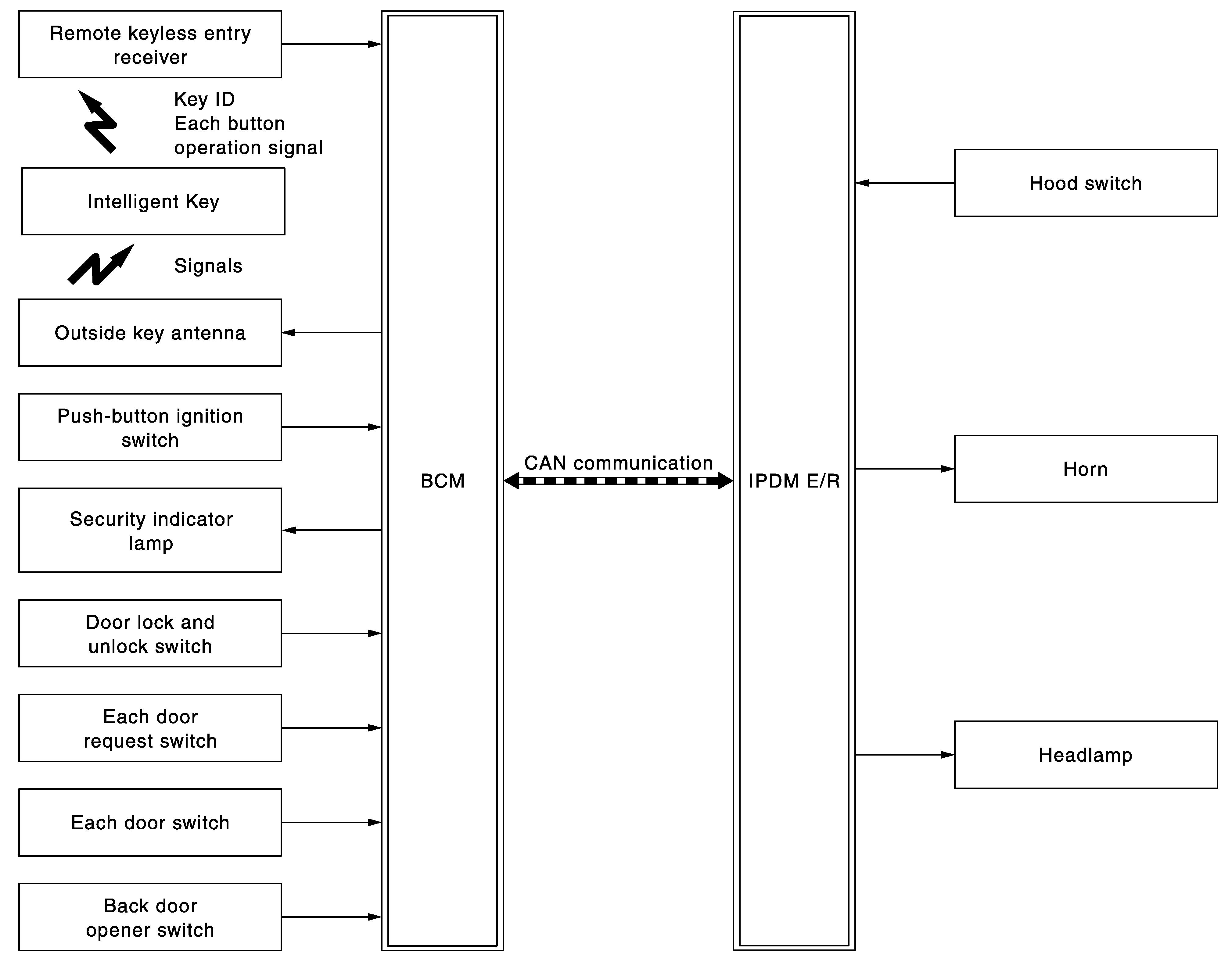
System Diagram

G07022310Courtesy of NISSAN NORTH AMERICA, INC.