LEMON Manuals: Even more car manuals for everyone: 1960-2025
Home >> Infiniti >> 2018 >> QX60 AWD >> Repair and Diagnosis >> Engine Performance >> Fuel Delivery >> Fuel System >> Disassembly And Assembly >> Fuel Level Sensor Unit >> Disassembly and Assembly >> Disassembly
April 5, 2026: LEMON Manuals is launched! Read the announcement.

Disassembly and Assembly: Disassembly

NOTE: Before disassembly, note the proper placement of the wires to the correct terminals and correct wire routing to the terminals.
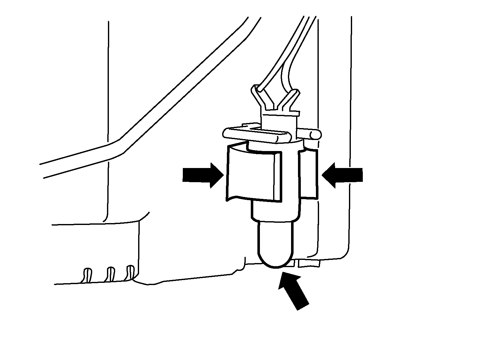
  1. Disconnect the fuel level sensor unit (A) and the fuel tank temperature sensor (C) harness connectors. Press the tabs on the terminals to release the locking tabs.
    GNSALBIA0796Z-796Courtesy of NISSAN NORTH AMERICA, INC.

    (B)

    : Fuel pump harness connector

  2. Release the two clips and remove the fuel tank temperature sensor from the pump assembly.
    GNSDB119705Courtesy of NISSAN NORTH AMERICA, INC.
  3. Release the tab (A) and slide the fuel level sensor unit and float arm assembly up (B) to remove.
    GNSDB118752Courtesy of NISSAN NORTH AMERICA, INC.