LEMON Manuals: Even more car manuals for everyone: 1960-2025
Home >> Infiniti >> 2018 >> QX80 RWD >> Repair and Diagnosis >> External Pages >> Different car >> Section 6 (Power Control System) >> IPDM E/R >> System Description >> System >> Relay Control System >> System Diagram
April 5, 2026: LEMON Manuals is launched! Read the announcement.

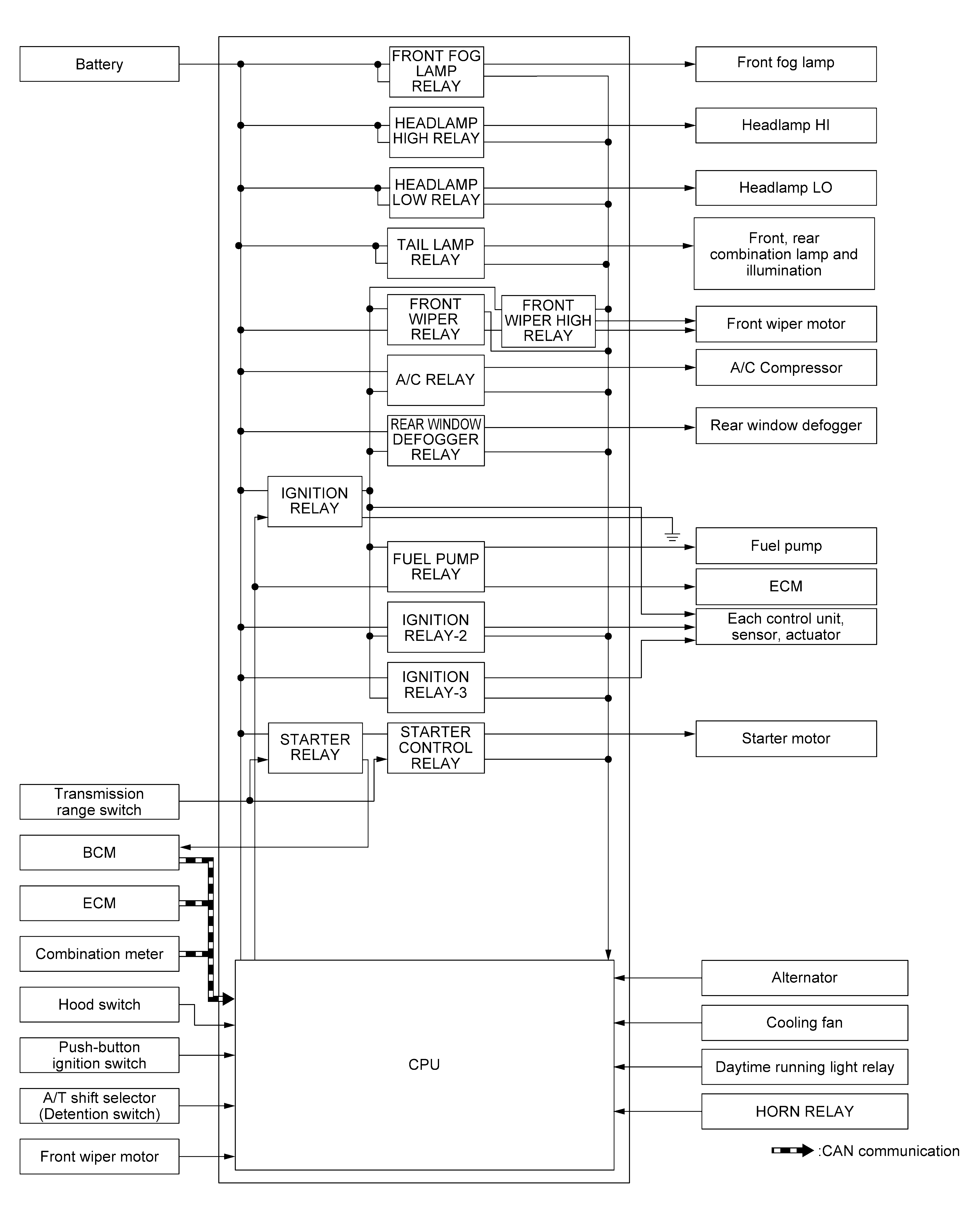
System Diagram

WARNING: This page is about a different car, the 2019 Nissan Armada and 2018 Nissan Armada. However, it is still accessible from the selected car via links, so may be relevant.
GNSJMMIA2353GB-353Courtesy of NISSAN NORTH AMERICA, INC.