LEMON Manuals: Even more car manuals for everyone: 1960-2025
Home >> Infiniti >> 2020 >> Q60 Pure, AWD >> Repair and Diagnosis >> Engine Performance >> Engine Control Systems >> Engine Control System (Service Information) >> Removal And Installation >> Fuel Pump Control Module (FPCM) >> FUEL PUMP CONTROL MODULE (FPCM) : Exploded View
April 5, 2026: LEMON Manuals is launched! Read the announcement.

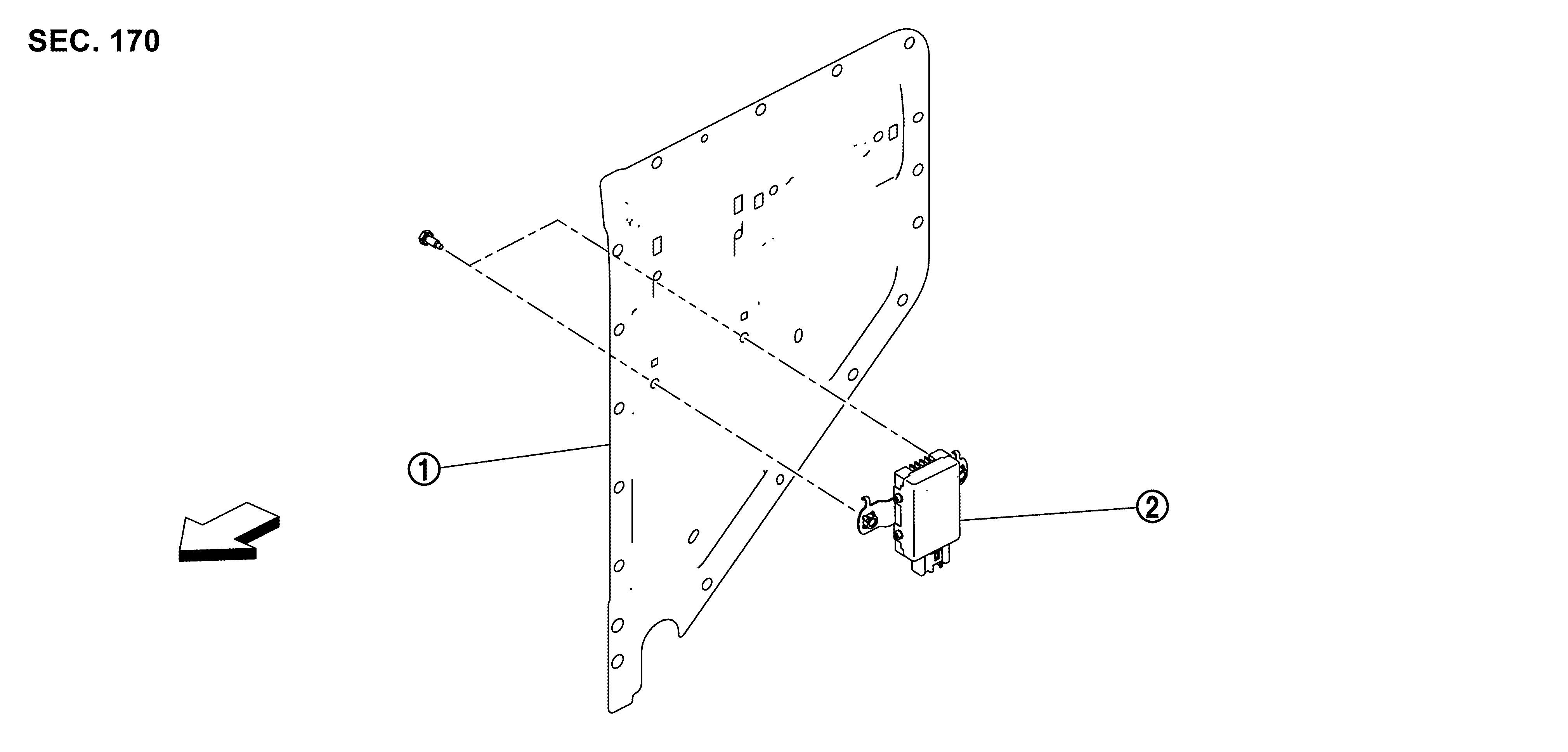
FUEL PUMP CONTROL MODULE (FPCM) : Exploded View

GNSJSBIB0545Z-545Courtesy of NISSAN NORTH AMERICA, INC.

SYMBOL

Rear pillar inner reinforcement LH

SYMBOL

Fuel pump control module

SYMBOL

: Vehicle front