LEMON Manuals: Even more car manuals for everyone: 1960-2025
Home >> Infiniti >> 2021 >> QX50 Essential, FWD >> Repair and Diagnosis >> Steering >> Steering Column >> Steering System >> Direct Adaptive Steering >> Basic Inspection >> Toe-In Adjustment >> Except Alignment Tester >> Inspection and Adjustment
April 5, 2026: LEMON Manuals is launched! Read the announcement.

Inspection and Adjustment

WARNING: Never move the vehicle during "DAST CALIBRATION (MODE1)" because the steering gear is held in neutral position until ignition switch is placed OFF.
CAUTION:
  • Be careful for the moving parts, steering wheel and front wheels are steered automatically when start "DAST CALIBRATION (MODE1)" and "DAST CALIBRATION (MODE2)".
  • Do not rotate road wheels during the "DAST CALIBRATION (MODE1)" and "DAST CALIBRATION (MODE2)" because the system is detected the vehicle running.
  1. PREPARATION 
    1. Set the front wheel on the turn table.
      NOTE: Do not lift up the vehicle during "DAST CALIBRATION (MODE1)".
    2. Connect the battery charger to protect the 12 V battery.
      NOTE: Much electricity is used in "DAST CALIBRATION (MODE1)".
    3. Place the tilt to the highest level.

    GO TO 2.

  2. DAST CALIBRATION (MODE1) [CLUTCH PHASE CALCULATION] 

    SYMBOL CONSULT

    1. Connect CONSULT to the vehicle.
    2. Ignition switch ON.
      CAUTION: Never start the engine.
    3. Select "EPS/DAST 3">>"Work support">>"DAST CALIBRATION (MODE1)". Refer to Description .
      CAUTION: Be careful for the moving parts, steering wheel and front wheels are steered automatically when start "DAST CALIBRATION (MODE1)".
    4. Ignition switch OFF.
      CAUTION: Be sure to perform this step.

    GO TO 3.

  3. ECU CONFIGURATION 

    SYMBOL CONSULT

    1. Ignition switch ON.
      CAUTION: Never start the engine.
    2. Perform configuration for steering force control module. Refer to Work Procedure .
      NOTE: The replacement of control module included in configuration is not required.
    3. Perform configuration for steering angle main control module. Refer to Work Procedure .
      NOTE: The replacement of control module included in configuration is not required.
    4. Perform configuration for steering angle sub control module. Refer to Work Procedure .
      NOTE: The replacement of control module included in configuration is not required.
    5. Check that EPS warning lamp is turned ON.
      NOTE: Direct adaptive steering transfers to EPS mode.
    6. Ignition switch OFF.
    7. Disconnect the battery charger from the 12 V battery.
    8. Lift down the vehicle and disconnect CONSULT from the vehicle.

    GO TO 4.

  4. TOE-IN ADJUSTMENT 
    1. Adjust toe-in according to the specified value.

      Toe-in

      : Refer to Wheel Alignment (Unladen1) .

      CAUTION:
      • Loosen the lock nut of steering outer socket and adjust inner socket length.
      • Always evenly adjust both toe-in alternately and adjust the difference between the left and right to the standard.
      • Always fix the steering inner socket when tightening the steering outer socket.
    2. Drive the vehicle straightly and then stop the vehicle.
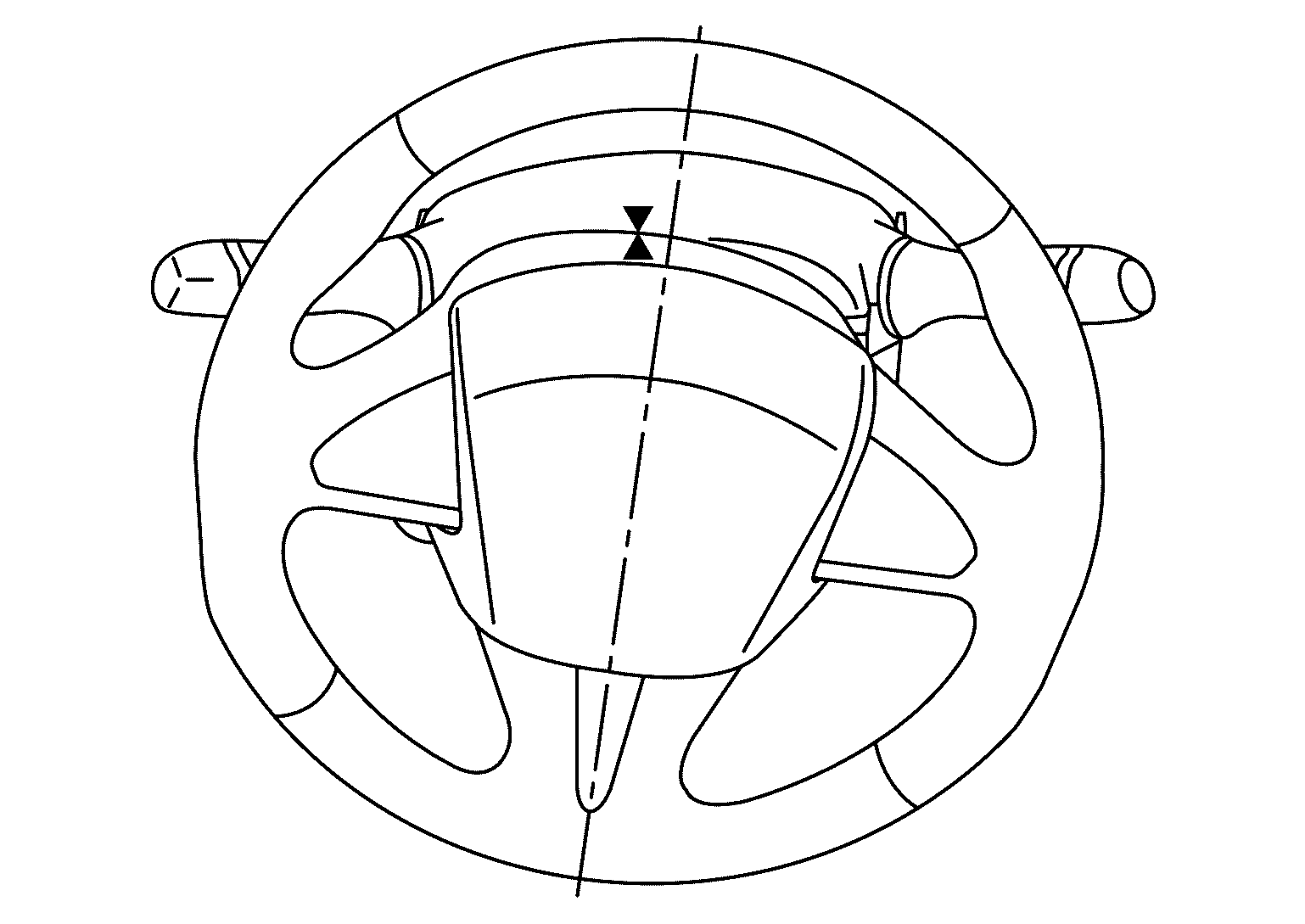
    3. Place the matching mark (SYMBOL ) on the steering wheel and steering column cover at the condition that the vehicle goes straight.
      GNSJSGIA1585Z-585Courtesy of NISSAN NORTH AMERICA, INC.

    GO TO 5.

  5. PREPARATION OF OFF-CENTER CALCULATION 
    1. Lift up the vehicle.
    2. Align matching marks (SYMBOL ) (steering wheel and steering column cover) to turn the steering wheel to the position marked in Step 4.
      GNSJSGIA1585Z-585Courtesy of NISSAN NORTH AMERICA, INC.
    3. Place the matching mark (SYMBOL ) on the steering lower shaft and steering gear.
      GNSJSGIA1586Z-586Courtesy of NISSAN NORTH AMERICA, INC.
    4. Connect the battery charger to protect the 12 V battery.
      NOTE: Much electricity is used in "DAST CALIBRATION (MODE1/MODE2)".
    5. Lift down the vehicle and then set the front wheel on the turn table.
      NOTE: Do not lift up the vehicle during "DAST CALIBRATION (MODE1/MODE2)".

    GO TO 6.

  6. DAST CALIBRATION (MODE1) [STEERING RACK NEUTRAL POSITION LEARNING] 

    SYMBOL CONSULT

    1. Ignition switch ON.
      CAUTION: Never start the engine.
    2. Select "EPS/DAST 3">>"Work support">>"DAST CALIBRATION (MODE1)". Refer to Description .
      CAUTION: Be careful for the moving parts, steering wheel and front wheels are steered automatically when start "DAST CALIBRATION (MODE1)".

    GO TO 7.

  7. ADJUSTMENT OF STEERING ANGLE SENSOR NEUTRAL POSITION 

    SYMBOL CONSULT

    1. Select "ABS">>"Work support">>"ST ANGLE SENSOR ADJUSTMENT".
    2. Touch START.
      CAUTION: Never touch steering wheel while adjusting steering angle sensor.
    3. After approx. 10 seconds, select "END".
    4. Place the ignition switch OFF, and then place it ON again.
      CAUTION:
      • Never start the engine.
      • Be sure to perform this step.

    GO TO 8.

  8. PERFORM SELF-DIAGNOSIS 

    SYMBOL CONSULT

    1. Place the ignition switch OFF and wait at least 10 seconds.
    2. Start the engine.
      CAUTION: Never drive the vehicle.
    3. Select "Self Diagnostic Result" mode of "EPS/DAST 3", "DAST 1" and "DAST 2".

    Is any DTC detected?

    YES

    Perform trouble diagnosis for the detected DTC. Refer to DTC Index (EPS/DAST 3), DTC Index (DAST 1), DTC Index (DAST 2).

    NO

    GO TO 9.

  9. LEARNING VALUE CONFIRMATION 

    SYMBOL CONSULT

    1. Place the ignition switch OFF to ON.
      CAUTION: Never start the engine.
    2. Select "EPS/DAST 3">>"Data Monitor">>"ANGLE 1", and then and then check the value.

      Monitor item

      Standard value

      ANGLE 1

      -4.4 ≤ ANGLE 1 ≤ 4.4

    Is the confirmation result normal?

    YES

    GO TO 10.

    NO

    Slightly lower the tilt position, and then re-perform "DAST CALIBRATION (MODE1)". GO TO 6.

  10. DAST CALIBRATION (MODE2) [OFF-CENTER CALCULATION] 
    CAUTION: Never start the engine.

    SYMBOL CONSULT

    1. Select "EPS/DAST 3">>"Work support">>"DAST CALIBRATION (MODE2)".
    2. Check the following condition, and then touch the "START".
      • Ignition switch is ON. (Engine is not started.)
      • Battery charger is connected to 12 V battery.
      • The front wheel is set on the turn table.
        NOTE: Do not lift up the vehicle during "DAST CALIBRATION (MODE 2)".
    3. Touch "START" to start the automatic steer.
      CAUTION: Be careful for the moving parts, steering wheel and front wheels are steered automatically when touch "START".
      NOTE: After finishing the automatic steering (After steering right and left 1.5 round trip, it returns to neutral position), steering clutch is released.
    4. Position the steering wheel with the visually neutral position and then touch "START".
      GNSJSGIA1587Z-587Courtesy of NISSAN NORTH AMERICA, INC.
      CAUTION: Since the force feedback of steering becomes smaller after the completion of auto steering, take good care for turning the steering. Also, do not turn the steering beyond 120 degrees.
    5. Align matching marks (SYMBOL ) (steering lower shaft and steering gear) to turn the steering wheel to the position marked in Step 5, and then touch "START".
      GNSJSGIA1586Z-586Courtesy of NISSAN NORTH AMERICA, INC.
    6. Record the displayed value of "off-center", and then touch "END".

    GO TO 11.

  11. STEERING RACK OFF-CENTER ADJUSTMENT 
    1. Adjust the off-center according to the off-center value calculated by "DAST CALIBRATION (MODE2)".
      • Positive value: Turn the inner socket to the SYMBOL direction (Road wheel is moving to the left).
      • Negative value: Turn the inner socket to the SYMBOL direction (Road wheel is moving to the right).
        GNSJSGIA1363Z-363Courtesy of NISSAN NORTH AMERICA, INC.
        CAUTION:
        • Loosen the lock nut of steering outer socket and adjust inner socket length.
        • Always evenly adjust both toe-in alternately and adjust the difference between the left and right to the standard.
        • Always fix the steering inner socket when tightening the steering outer socket.
    2. Ignition switch OFF.
      CAUTION: Be sure to perform this step.

    GO TO 12.

  12. CHECK INNER SOCKET LENGTH 
    1. Check that inner socket length is in the specified value. Refer to Steering Gear .

    Is the inspection result normal?

    YES

    GO TO 13.

    NO

    GO TO 1.

  13. STEERING ANGLE INSPECTION 
    1. Lift down the vehicle.
    2. Start the engine.
    3. Fully steer right and left. And check that the knock sound does not exist from the steering rack.
      CAUTION: Never confuse the knock sound with the clutch sound that is heard from nearby of steering column.

    Is the inspection result normal?

    YES

    GO TO 14.

    NO

    GO TO 16.

  14. TOE-IN INSPECTION 
    1. Check toe-in within the specified value.

      Toe-in

      : Refer to Wheel Alignment (Unladen1) .

    Is the inspection result normal?

    YES

    GO TO 15.

    NO

    GO TO 1.

  15. PERFORM SELF-DIAGNOSIS 

    SYMBOL CONSULT

    1. Place the ignition switch OFF and wait at least 10 seconds.
    2. Start the engine.
      CAUTION: Never drive the vehicle.
    3. Select "Self Diagnostic Result" mode of "EPS/DAST 3", "DAST 1" and "DAST 2".

    Is any DTC detected?

    YES

    Perform trouble diagnosis for the detected DTC. Refer to DTC Index (EPS/DAST 3), DTC Index (DAST 1), DTC Index (DAST 2).

    NO

    Work End.

  16. CHECK SUSPENSION AND STEERING PARTS INSTALLATION CONDITION 
    1. Check suspension and steering parts installation condition.

    Is the inspection result normal?

    YES

    GO TO 5

    NO

    Install suspension and steering parts properly. Then perform the toe-in adjustment again. GO TO 1.