LEMON Manuals: Even more car manuals for everyone: 1960-2025
Home >> Infiniti >> 2021 >> QX80 Premium Select, AWD >> Repair and Diagnosis >> Electrical >> Body Electrical >> Power Control System (Diagnostics) >> Description >> System >> Relay Control System >> System Description >> System Diagram
April 5, 2026: LEMON Manuals is launched! Read the announcement.

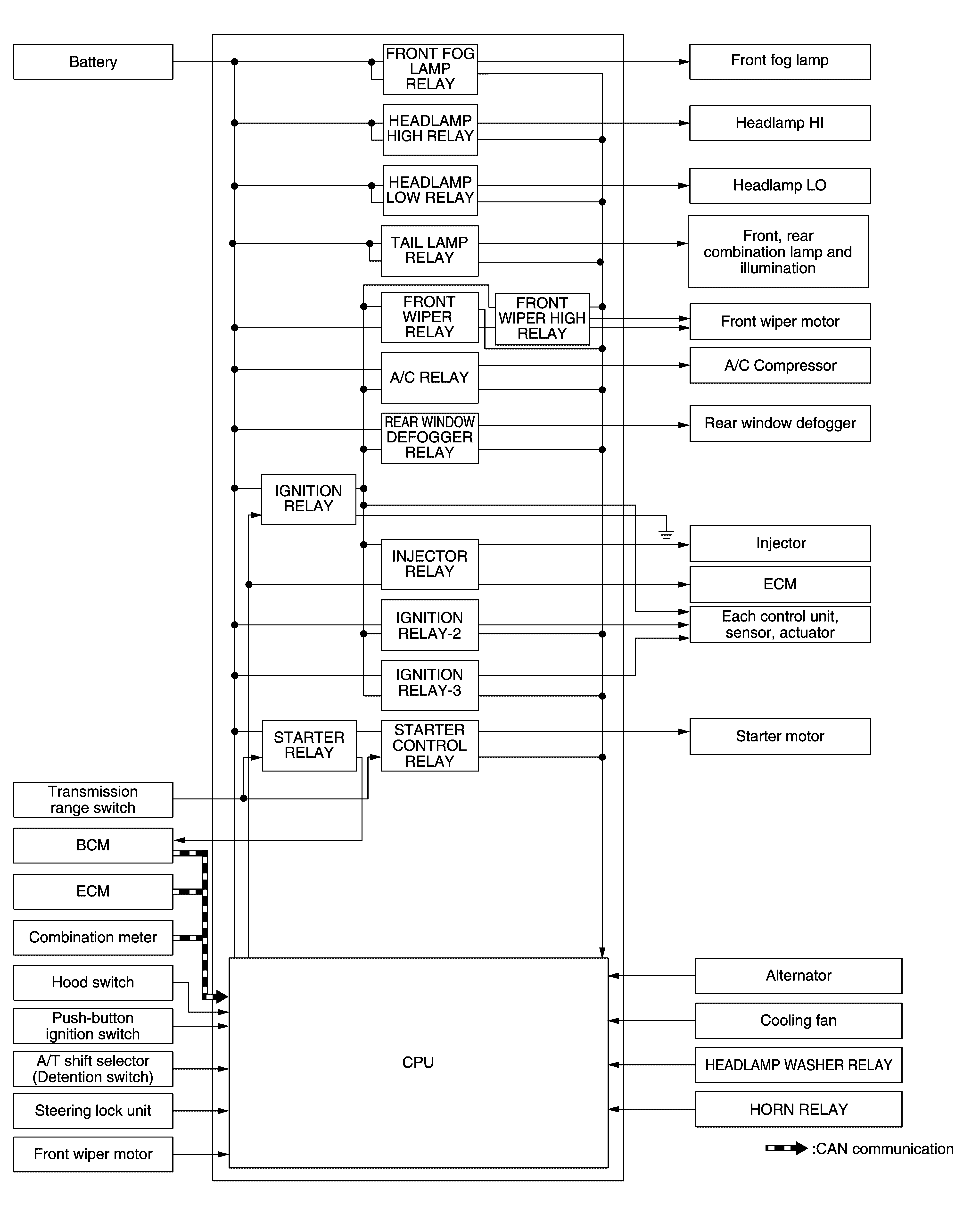
System Diagram

GNSILL0131375Courtesy of NISSAN NORTH AMERICA, INC.

IPDM E/R activates the internal control circuit to perform the relay ON-OFF control according to the input signals from various sensors and the request signals received from control units via CAN communication.

CAUTION: IPDM E/R integrated relays cannot be removed.

Control relay

Input/output

Transmit unit

Control part

Reference

  • Headlamp low relay
  • Headlamp high relay
  • Low beam request signal
  • High beam request signal

BCM (CAN)

  • Headlamp (LO)
  • Headlamp (HI)

Refer to System Description .

Front fog lamp relay

Front fog light request signal

BCM (CAN)

Front fog lamp

Refer to System Description .

Tail lamp relay

Position light request signal

BCM (CAN)

  • Parking lamp
  • License plate lamp
  • Tail lamp
  • Side marker lamp

Refer to System Description .

Illuminations

Refer to System Description .

  • Front wiper relay
  • Front wiper high relay

Front wiper request signal

BCM (CAN)

Front wiper motor

Refer to System Description .

Front wiper stop position signal

Front wiper motor

Rear window defogger relay

Rear window defogger control signal

BCM (CAN)

Rear window defogger

Refer to System Description .

  • Horn relay
  • Theft warning horn relay
  • Theft warning horn request signal
  • Horn reminder signal

BCM (CAN)

Horn (high)

Horn (low)

Refer to System Description .

  • Starter relay NOTE
  • Starter control relay

Starter control relay signal

BCM (CAN)

Starter motor

Refer to Component Description .

Refer to Component Description .

Starter relay control signal

TCM

A/C relay

A/C compressor request signal

ECM (CAN)

A/C compressor

(Magnet clutch)

Refer to System Description .

Headlamp washer relay

Headlamp washer request signal

BCM (CAN)

Headlamp washer pump

Refer to System Description .

  • Ignition relay
  • Ignition relay-2
  • Ignition relay-3

Ignition switch ON signal

BCM (CAN)

Each control unit, sensor, actuator and relay (ignition power supply)

Refer to DTC Description .

Vehicle speed signal

Combination meter (CAN)

Push-button ignition switch signal

Push-button ignition switch

NOTE: BCM controls the starter relay.