LEMON Manuals: Even more car manuals for everyone: 1960-2025
Home >> Infiniti >> 2022 >> QX55 Essential >> Repair and Diagnosis >> Brakes >> Brakes Control Systems >> Brake Control System >> System Description >> System >> System Description >> System Diagram
April 5, 2026: LEMON Manuals is launched! Read the announcement.

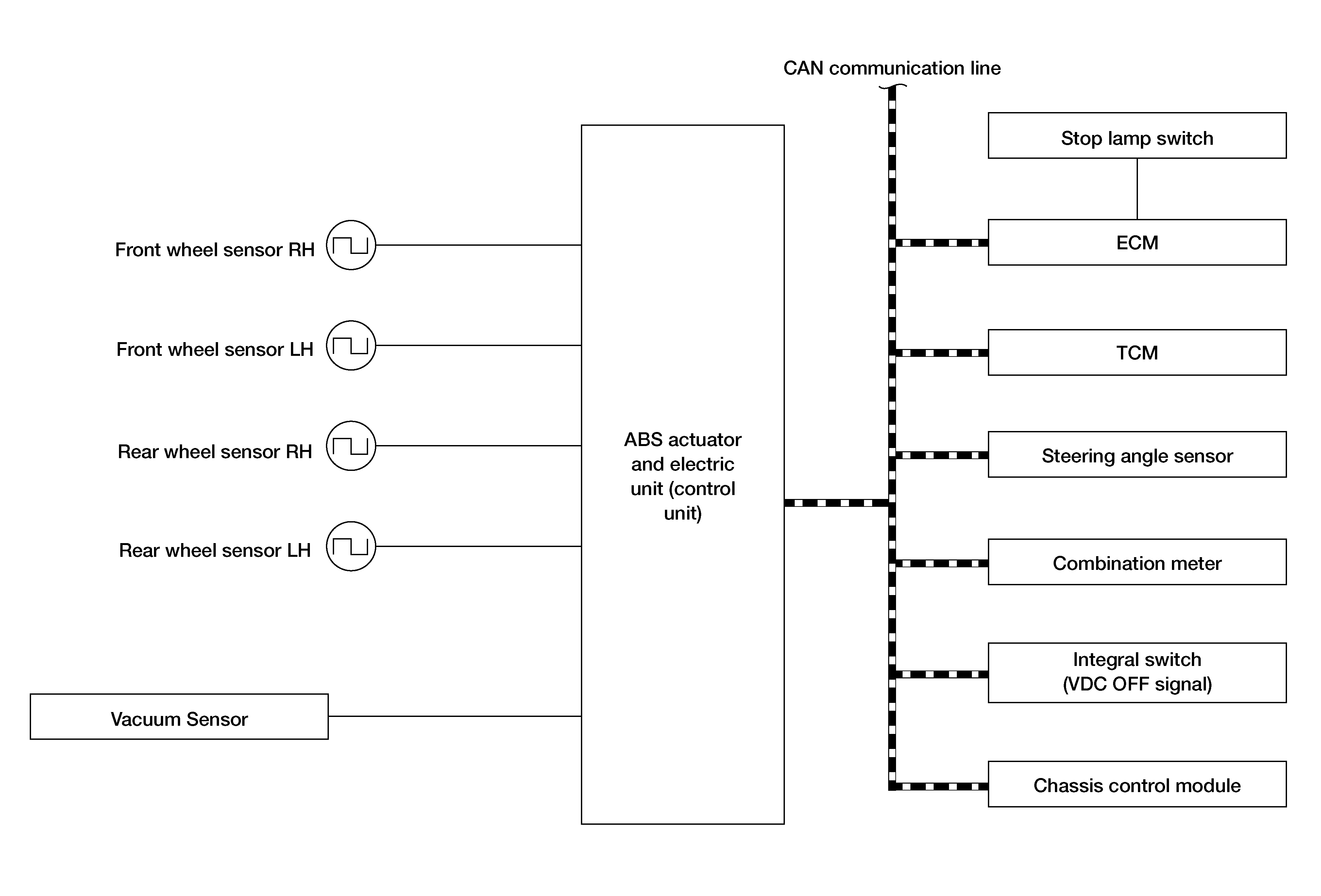
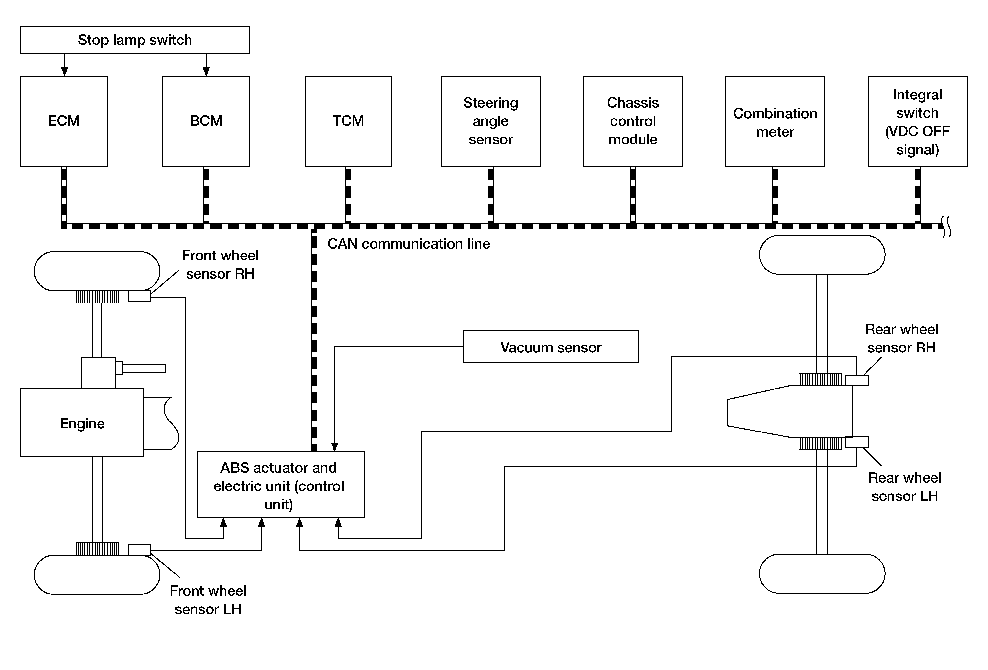
System Diagram

G05706687Courtesy of NISSAN NORTH AMERICA, INC.


G05706631Courtesy of NISSAN NORTH AMERICA, INC.