LEMON Manuals: Even more car manuals for everyone: 1960-2025
Home >> Infiniti >> 2023 >> QX55 Essential >> Repair and Diagnosis >> Engine Performance >> Fuel Delivery >> Fuel System >> Unit Disassembly And Assembly >> Fuel Level Sensor Unit >> Disassembly and Assembly >> Disassembly
April 5, 2026: LEMON Manuals is launched! Read the announcement.

Disassembly and Assembly: Disassembly

NOTE: Before disassembly, note the proper placement of the wires to the correct terminals and correct wire routing to the terminals.
  1. Disconnect fuel level sensor unit and fuel tank temperature sensor harness connectors (A).
    GNSDB38112Courtesy of NISSAN NORTH AMERICA, INC.
  2. Remove wires from wire clips (B).
    CAUTION: Be careful not to damage wires when removing them from wire clips.
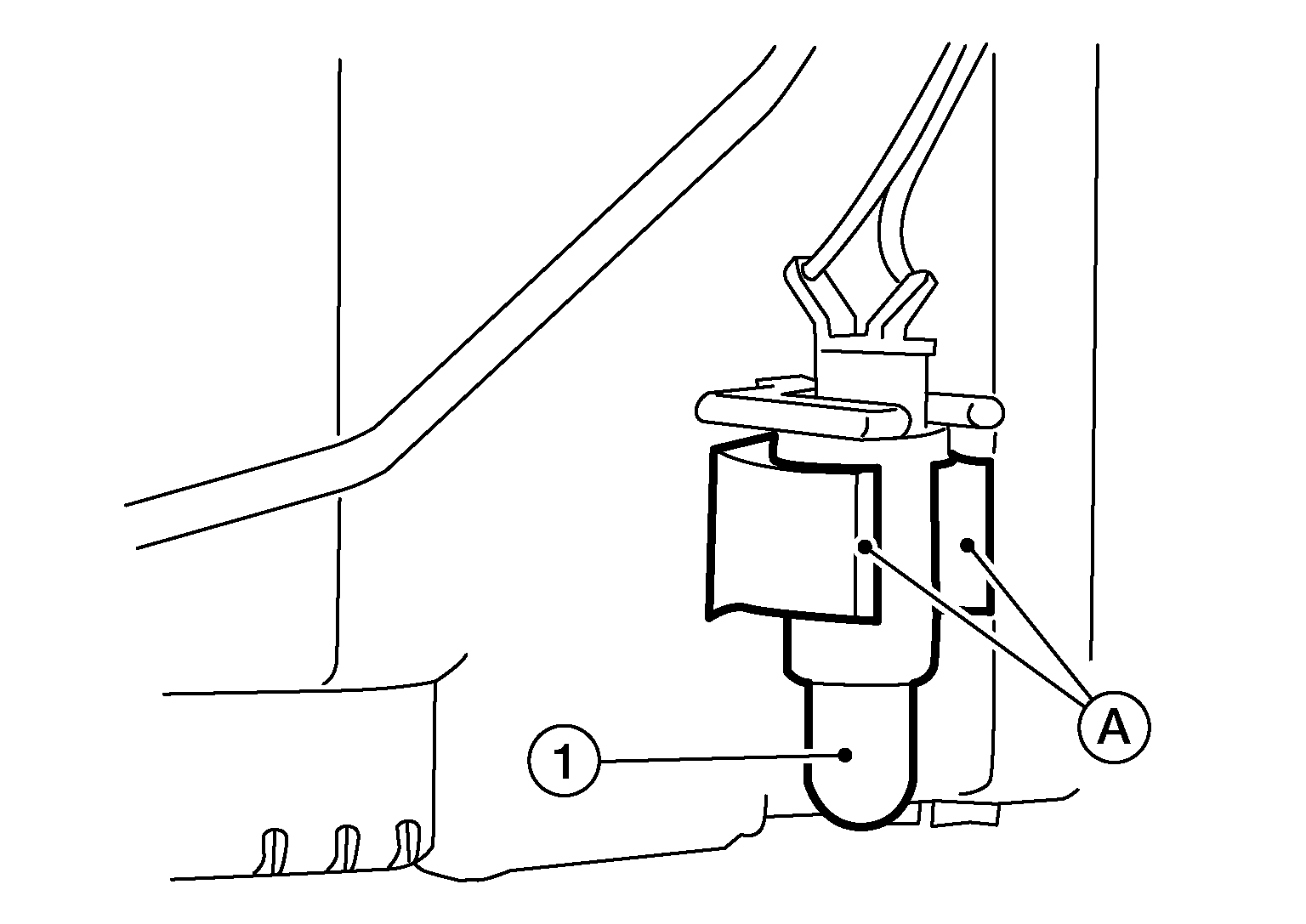
  3. Release clips (A), then remove fuel temperature sensor (1) from fuel filter and fuel pump assembly.
    GNSDB38983Courtesy of NISSAN NORTH AMERICA, INC.
  4. Release tab (A) using suitable tool, then slide fuel level sensor unit (1) in direction shown.
    GNSDB37806Courtesy of NISSAN NORTH AMERICA, INC.
    NOTE: Fuel level sensor unit shown removed from fuel filter and fuel pump assembly for clarity.