LEMON Manuals: Even more car manuals for everyone: 1960-2025
Home >> Infiniti >> 2023 >> QX55 Essential >> Repair and Diagnosis >> Steering >> Steering Control Systems >> Steering Control System (Direct Adaptive Steering) >> Basic Inspection >> DAST Calibration (Mode1) >> Description
April 5, 2026: LEMON Manuals is launched! Read the announcement.

DAST Calibration (Mode1): Description

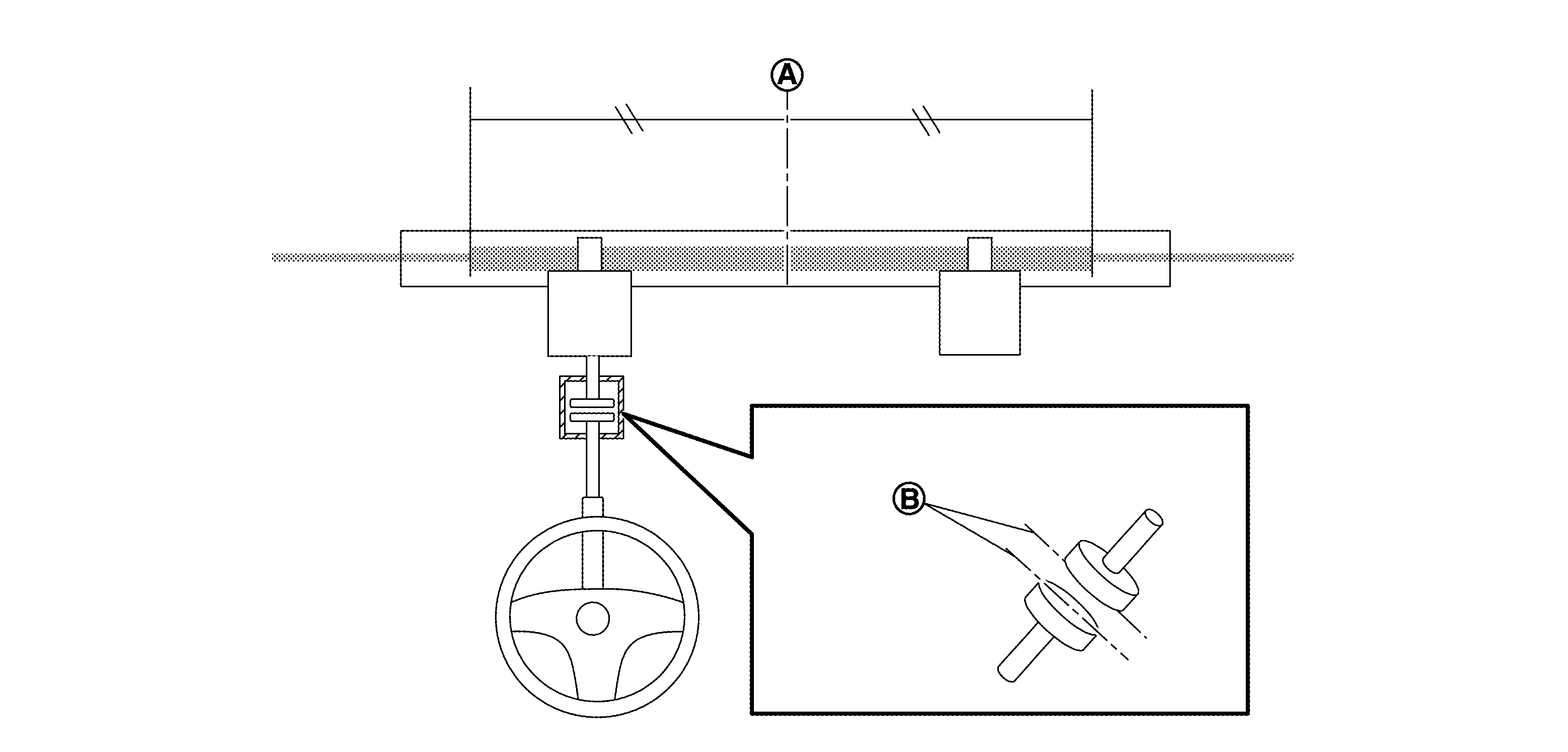
"DAST CALIBRATION (MODE1)" is a function to learn the neutral position of steering rack (A) and the clutch phase position (B) by moving the steering rack automatically. Refer to Work Procedure .

GNSDB23535Courtesy of NISSAN NORTH AMERICA, INC.