LEMON Manuals: Even more car manuals for everyone: 1960-2025
Home >> Infiniti >> 2024 >> QX55 Essential >> Repair and Diagnosis >> Engine Performance >> Engine Control Systems >> Engine Control System (2 Of 2) >> Removal And Installation >> Fuel Pump Control Module (FPCM) >> Exploded View
April 5, 2026: LEMON Manuals is launched! Read the announcement.

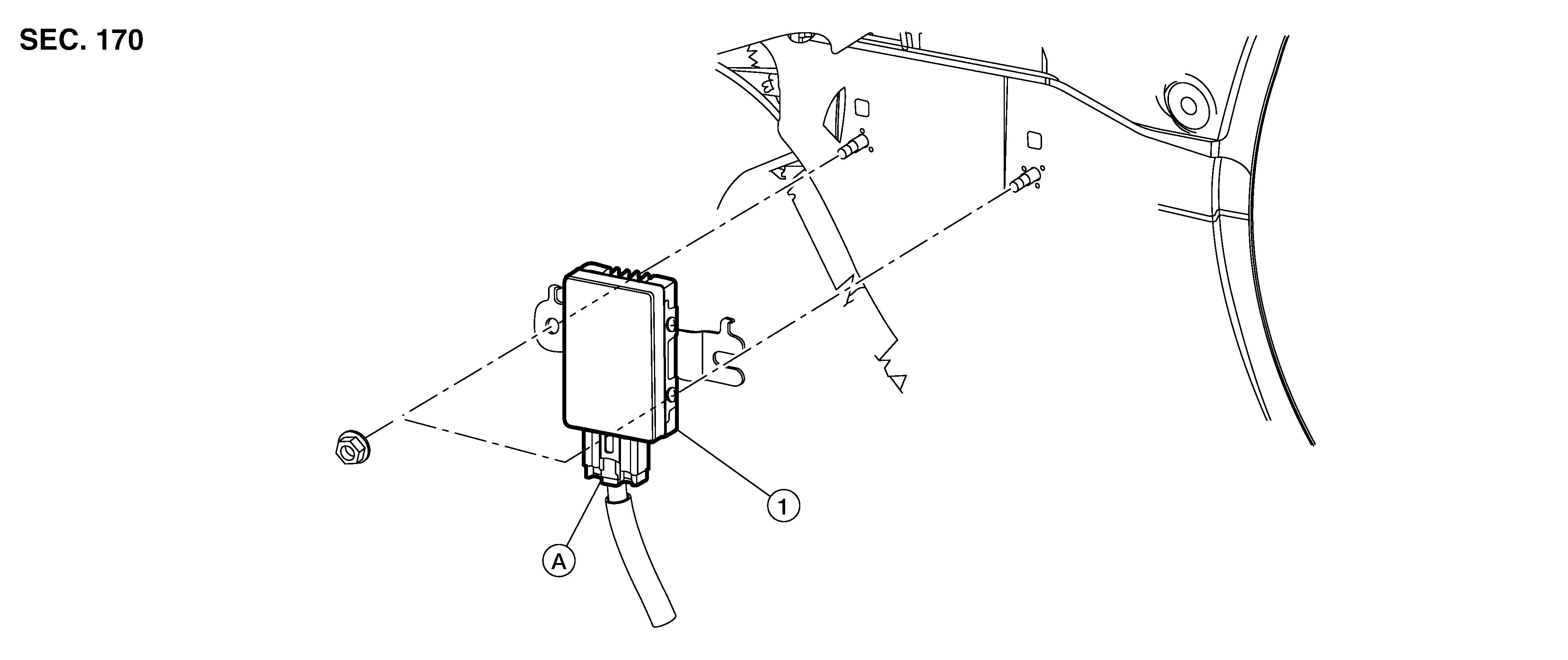
Exploded View

GNSDB138409Courtesy of NISSAN NORTH AMERICA, INC.
1. Fuel pump control module A. Fuel pump control module harness