LEMON Manuals: Even more car manuals for everyone: 1960-2025
Home >> Isuzu >> 1985 >> I-Mark 2D Hatchback, Automatic >> Repair and Diagnosis >> Engine Performance >> System >> PCV System >> Maintenance
April 5, 2026: LEMON Manuals is launched! Read the announcement.

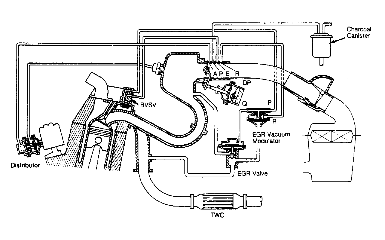
PCV System: Maintenance

Every 12 months or 15,000 miles, clean internal part of hoses and regulating orifice in detergent oil and blow away foreign matter with compressed air. Check all passages and hoses for obstructions and deterioration. Clean contamination from inside of baffle plate.

On diesel models, check PCV diaphragm for damage and sticking to seat, check oil separator element for wear (if equipped), and check one-way operation of check valve (if equipped). Flow direction should be from PCV valve assembly through check valve to oil pan. Flow in the opposite direction should be blocked.

Fig 1: Crankcase Ventilation System (P'UP - Diesel)
G37832
Fig 2: CV Valve Assembly (Diesel - Except I-Mark Federal)
G38421