LEMON Manuals: Even more car manuals for everyone: 1960-2025
Home >> Isuzu >> 1987 >> Impulse L4-1994cc 2.0L >> Repair and Diagnosis >> Powertrain Management >> Computers and Control Systems >> Throttle Position Sensor >> Testing and Inspection
April 5, 2026: LEMON Manuals is launched! Read the announcement.

Throttle Position Sensor: Testing and Inspection

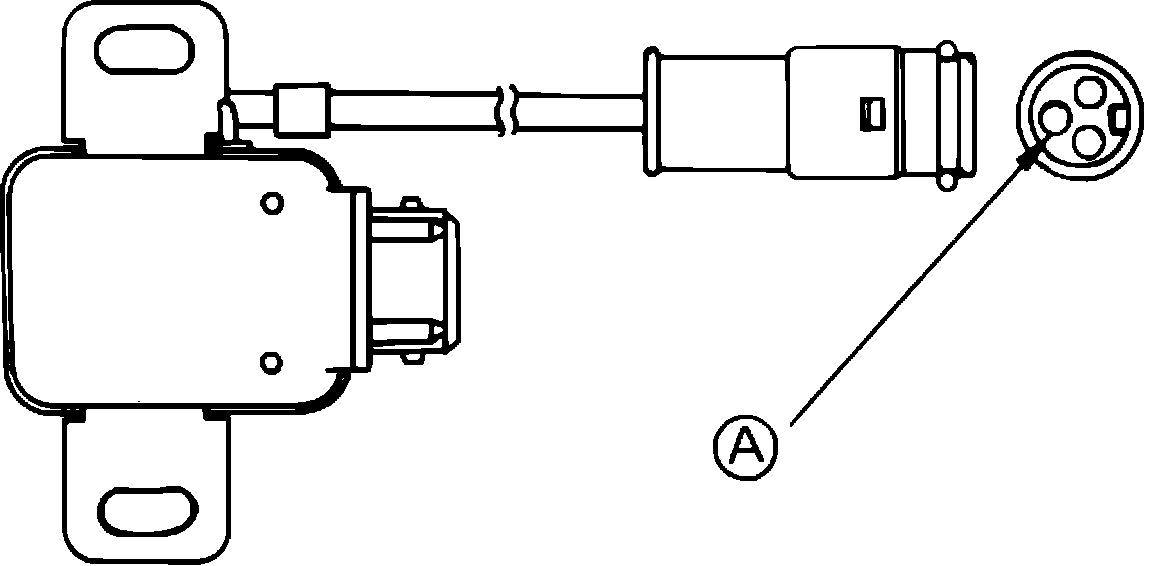
Fig. 207 Checking TPS:





1. Check that the operation of the accelerator pedal and cable is smooth.
2. Check that the stopper returns all the way to the seated position against the stopper screw.
3. Disconnect throttle position sensor harness at connector, Fig. 207.
4. Turn the ignition switch ON.
5. Place the circuit tester positive probe in terminal "A".
6. Measure the voltage at terminal "A" at idle. Readings should be higher than 4 volts.
7. Measure the readings at full throttle, the readings should be less than 2 volts.
8. If readings are out of specifications and adjustment does not fix the condition, replace the throttle sensor assembly.