LEMON Manuals: Even more car manuals for everyone: 1960-2025
Home >> Isuzu >> 1987 >> Trooper II LS, 2.3 L >> Repair and Diagnosis >> Engine Performance >> System >> Fuel Injection System - Diesel >> Testing >> Glow Plug System >> Glow Plug Relays
April 5, 2026: LEMON Manuals is launched! Read the announcement.

Glow Plug Relays

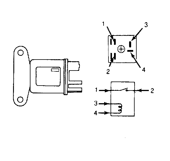
Terminal No. 1 is an input for battery voltage on both relays. Terminal No. 2 is an output to the sensing resistor on relay No. 1, and an output to the dropping resistor on relay No. 2. Terminal No. 3 is an input from controller on relay No.1, and an input from the starter switch on relay No. 2. On both relays, terminal No. 4 is ground. See Fig 1 .

Fig 1: Glow Plug Relay Testing
G62414Courtesy of ISUZU MOTOR CO.