LEMON Manuals: Even more car manuals for everyone: 1960-2025
Home >> Isuzu >> 1989 >> Impulse 2.0 F, Automatic >> Repair and Diagnosis >> Engine Performance >> System >> Tests W/Codes >> Diagnostic Circuit Check >> Code 66 - Knock Sensor
April 5, 2026: LEMON Manuals is launched! Read the announcement.

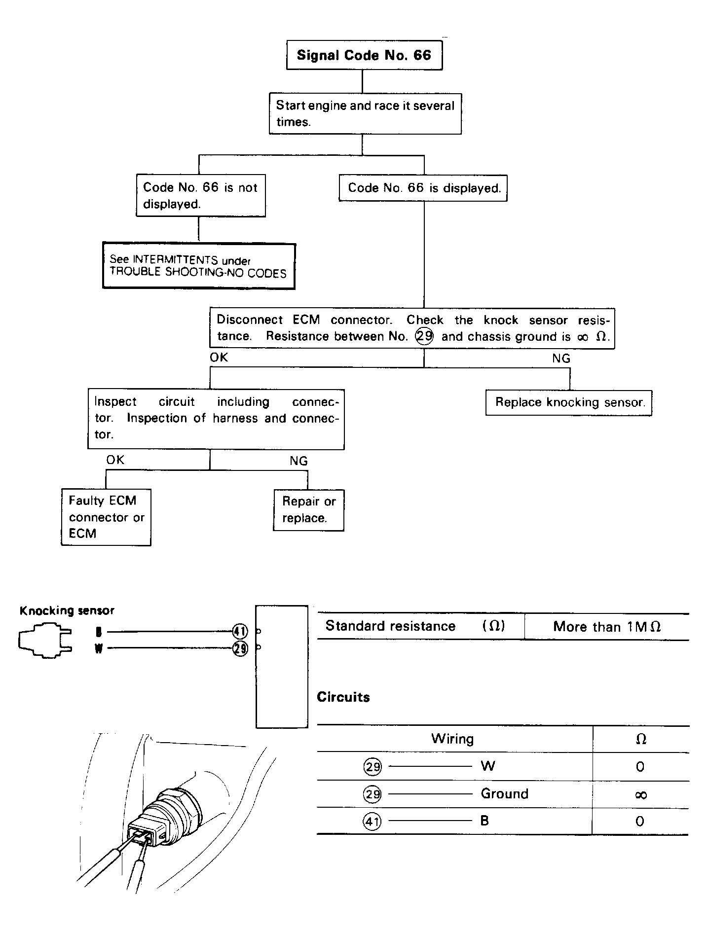
Code 66 - Knock Sensor

Fig 1: Flow Chart - Code 66, Knock Sensor
G122297Courtesy of ISUZU MOTOR CO.