LEMON Manuals: Even more car manuals for everyone: 1960-2025
Home >> Isuzu >> 1998 >> Trooper LS V6-3.5L >> Repair and Diagnosis >> Powertrain Management >> Transmission Control Systems >> Diagrams
April 5, 2026: LEMON Manuals is launched! Read the announcement.

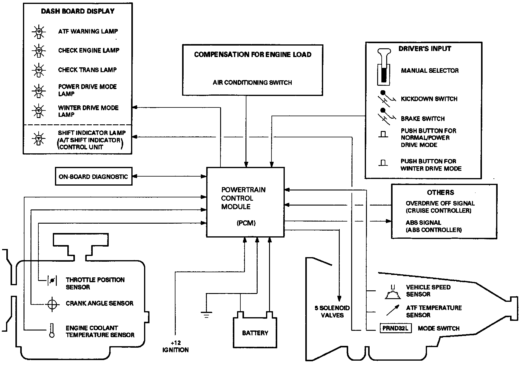
Transmission Control Systems: Diagrams