LEMON Manuals: Even more car manuals for everyone: 1960-2025
Home >> Isuzu >> 1999 >> Rodeo LSE 4WD V6-3.2L >> Repair and Diagnosis >> Powertrain Management >> Computers and Control Systems >> Relays and Modules - Computers and Control Systems >> Engine Control Module >> Diagrams >> Diagram Information and Instructions >> Parts For Electrical Circuit
April 5, 2026: LEMON Manuals is launched! Read the announcement.

Parts For Electrical Circuit




Wiring - Wire color
All wires have color-coded insulation
Wires belonging to a system's main harness will have a single color (1). Wires belonging to a system's subcircuits will have a colored stripe (2). Striped wires use the following code to show wire size and colors.




Wiring - Wire Color Coding
Abbreviations are used to indicate wire color within a circuit diagram. Refer to the table.




Wiring - Wire Size
The size of wire used in a circuit is determined by the amount of current (amperage), the length of the circuit, and the voltage drop allowed. The following wire size and load capacity, shown below, are specified by AWG (American Wire Gauge) (Nominal size means approximate cross sectional area (1).)




Wiring - Wire Size Table

Fuse
Fuses are the most common form of circuit protection used in vehicle wiring. A fuse is a thin piece of wire or strip of metal encased in a glass it or plastic housing. It is wired in series with the circuit in protects. When there is an overload of current in a circuit, such as a short of a ground, the metal strip is designed to burn out and interrupt the flow of current. This prevents a surge of high current from reaching and damaging other components in the circuit. Determine the cause of the overloaded before replacing the fuse.

The replacement fuse must have the same amperage specification as the original fuse. Never replace a blown fuse with a fuse of a different amperage specification.




Doing so can result in an electrical fire or other serious circuit damage. A blown fuse is easily identified as shown in the figure.





Fusible Link
The fusible link is primarily used to protect circuits where high amounts of current flow and where it would not be practical to use a fuse. For example, the starter circuit. When a current overload occurs, the fusible link melts open and interrupts the flow of current so as to prevent the rest of the wiring harness from burning.

Determine the cause of the overload before replacing the fusible link. The replacement fusible link must have the same amperage specification as the original fusible link. Never replace a blown fusible link with fusible link of a different amperage specification. Doing so can result in an electrical fire or other serious circuit damage.

A blown fusible link is easily identified as shown in the figure.




Fusible Link Specifications




Circuit Breaker
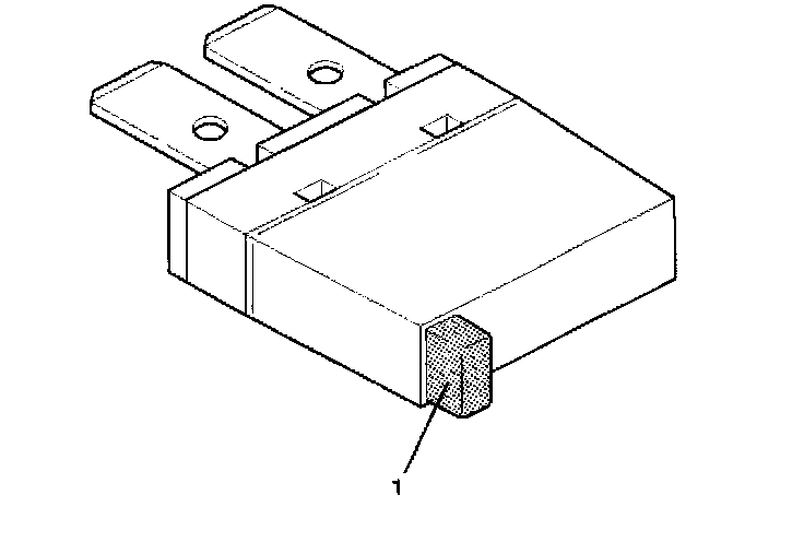
The circuit breaker is a protective device designed to open the circuit when a current load is in excess of rated breaker capacity. If there is a short or other type of overload condition in the circuit, the excessive current will open the circuit between the circuit breaker terminals. The reset knob (1) pops out when the circuit is open. Push the reset knob in place to restore the circuit after repairing it.




Relay
Battery and load location may require that a switch be placed some distance from either component. This means a longer wire and a higher voltage drop (1).

The installation of a relay between the battery and the load reduces the voltage drop (2). Because the switch controls the relay, amperage through the switch can be reduced.




Relay Specifications and Configurations







Diode - Diode Specifications and Configurations




Diode - Maximum Rating (Temp. 77° F (25° C))

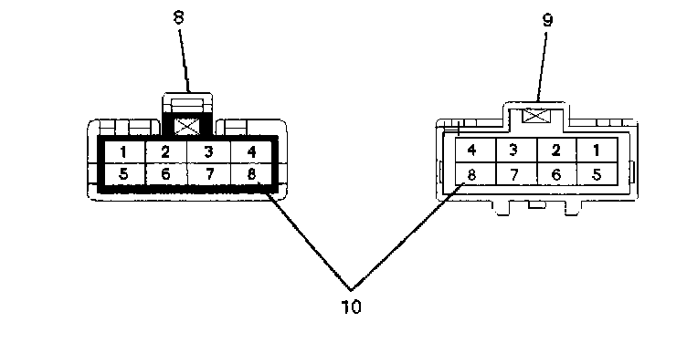
Connector




^ The connector pin shape (2) determines whether the connector is male (3) or female (1).




^ The symbol illustrated in the figure is used as connector, in the circuit.




^ Connector is identified with a connector number (6)




^ The applicable terminal number (7) is shown for each connector.
^ Connector terminal numbers (10) are clearly shown.
Make side connector (9) terminal numbers are in sequence from upper right to lower left.




Female side connector (8) terminal numbers are in sequence from upper left to lower right.

NOTE:




1. For those connectors on which specific terminal numbers or symbols are shown (such as PCM), the terminal numbers or symbols are used in the circuit diagram, irrespective of the above rule.
Refer to the figure.




2. The connectors used for relays have their own terminal number assignment, irrespective of the above rule. Refer to the figure.




Double Lock Type Connector
Doublelock type yellow color connectors are used for supplemental restraint system-air bag circuit. When removing the cable harness, disconnect the connector by unlocking at two places, outside (1) and inside (2). In such a case, do not pull the cables. Otherwise, cable disconnection may occur.

When connecting the connector, insert the connector completely and lock at outside. Imperfect locking may cause malfunction of SRS system circuit.