LEMON Manuals: Even more car manuals for everyone: 1960-2025
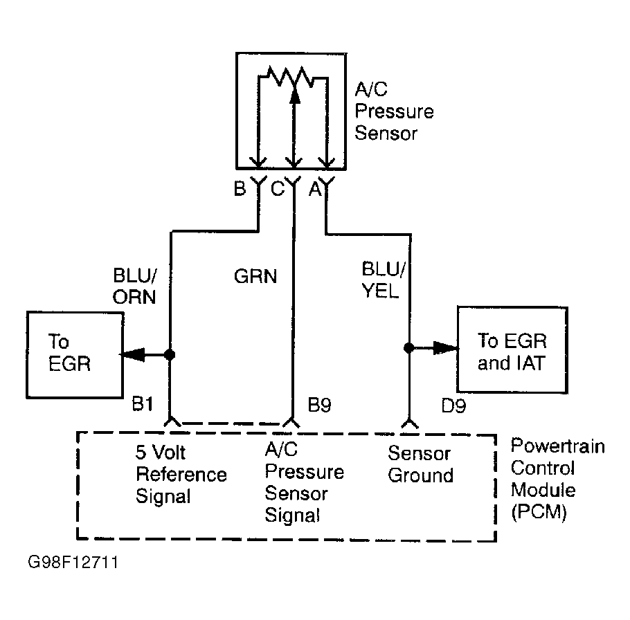
Home >> Isuzu >> 2000 >> Rodeo S, 2.2 D >> Repair and Diagnosis (Single Page) >> Engine Performance >> System >> Engine Controls - Self-Diagnostics - 2.2L >> Diagnostic Trouble Code Identification >> DTC P0533: A/C Refrigerant Pressure Sensor Circuit High >> Notes
April 5, 2026: LEMON Manuals is launched! Read the announcement.

DTC P0533: A/C Refrigerant Pressure Sensor Circuit High: Notes

NOTE: Use illustration for circuit reference. See Figure.