LEMON Manuals: Even more car manuals for everyone: 1960-2025
Home >> Isuzu >> 2002 >> Axiom Base, RWD >> Repair and Diagnosis >> Transmission >> Automatic Trans >> Automatic Transmission >> Select Cable >> Installation
April 5, 2026: LEMON Manuals is launched! Read the announcement.

Select Cable: Installation

  1. Set selector lever in "P" position.
  2. Let out select cable transmission side end from floor hole.
  3. Fit outer cable into bracket in selector lever assembly.
    Fig 1: Fitting Outer Cable Into Bracket In Selector Lever Assembly
    G02808357Courtesy of ISUZU MOTOR CO.
  4. Set inner cable end in selector lever and push pin into selector lever hole and inner cable end.
    Fig 2: Setting Inner Cable End In Selector Lever & Push Pin
    G02808358Courtesy of ISUZU MOTOR CO.
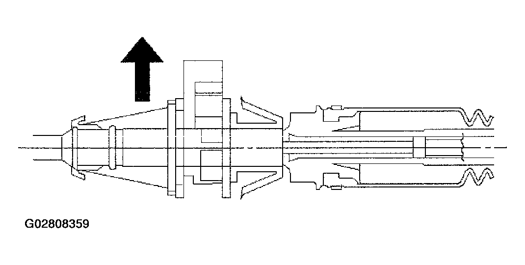
  5. Check that lock projects.
    Fig 3: Checking Lock Projection
    G02808359Courtesy of ISUZU MOTOR CO.
  6. Connect adjust end fitting attachment to the bracket on transmission.
  7. Set select lever "P" position and connect inner cable to select lever.
    Fig 4: Setting Select Lever "P" Position & Connecting Inner Cable To Select Lever
    G02808360Courtesy of ISUZU MOTOR CO.
  8. Push lock into adjust end fitting attachment.
    Fig 5: Pushing Lock Into Adjust End Fitting Attachment
    G02808361Courtesy of ISUZU MOTOR CO.
  9. Install grommet.
  10. About following installation steps, refer to SELECTOR LEVER .