LEMON Manuals: Even more car manuals for everyone: 1960-2025
Home >> Isuzu >> 2002 >> Trooper LS, RWD >> Repair and Diagnosis >> Suspension >> Wheel Alignment >> Power-Assisted Steering System >> Steering Column >> Inspection >> Column Capsule
April 5, 2026: LEMON Manuals is launched! Read the announcement.

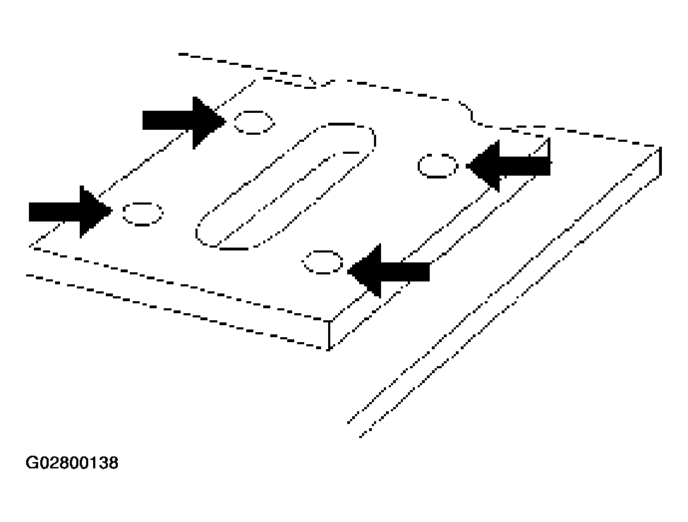
Column Capsule

Check capsules on steering column bracket assembly; all must be securely seated in bracket slots and checked for any loose conditions when pushed or pulled by hand.

Fig 1: Checking Capsules On Steering Column Bracket Assembly
G02800138Courtesy of ISUZU MOTOR CO.

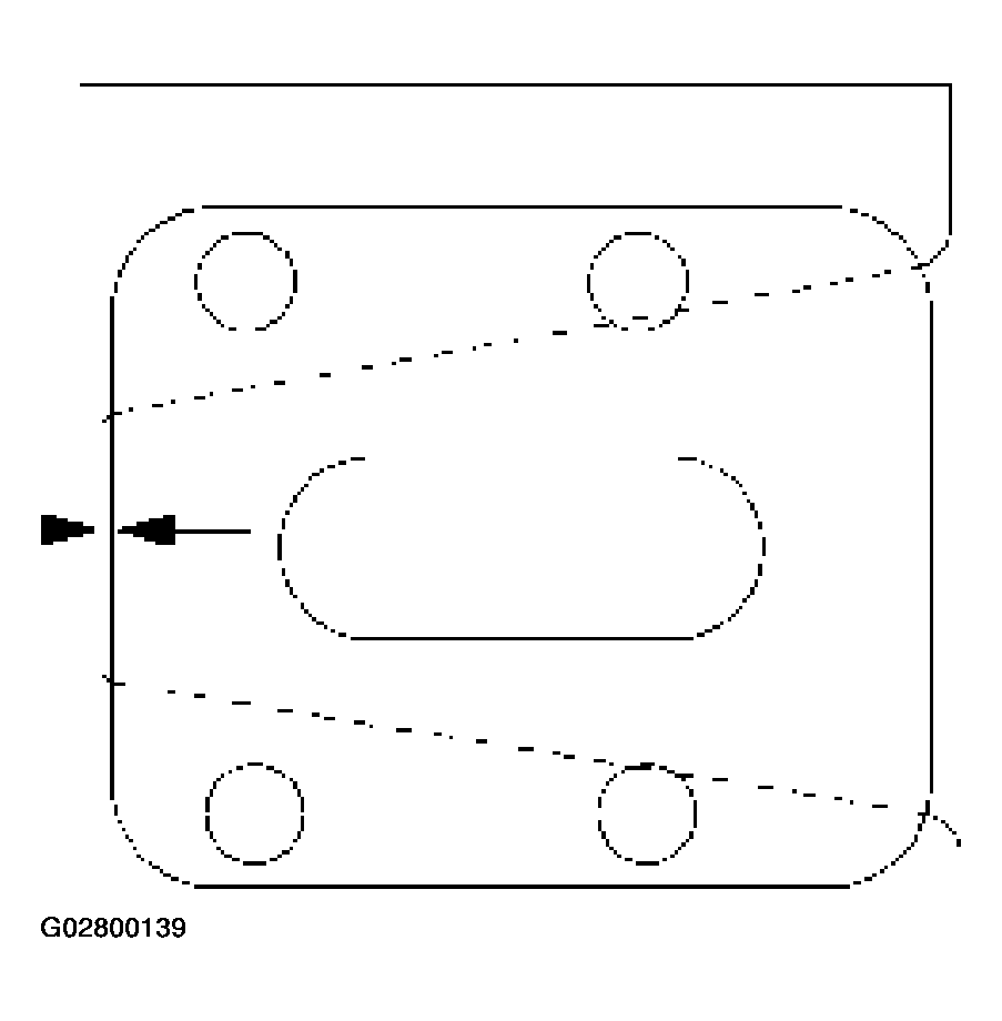
Check clearance between capsule and bracket. It must be within 1 mm (0.039 in).

Fig 2: Checking Clearance Between Capsule And Bracket
G02800139Courtesy of ISUZU MOTOR CO.