LEMON Manuals: Even more car manuals for everyone: 1960-2025
Home >> Isuzu >> 2003 >> Axiom Base, RWD >> Repair and Diagnosis >> Steering >> Power Steering >> Power-Assisted Steering System >> Steering Column >> Inspection >> Column Capsule
April 5, 2026: LEMON Manuals is launched! Read the announcement.

Column Capsule

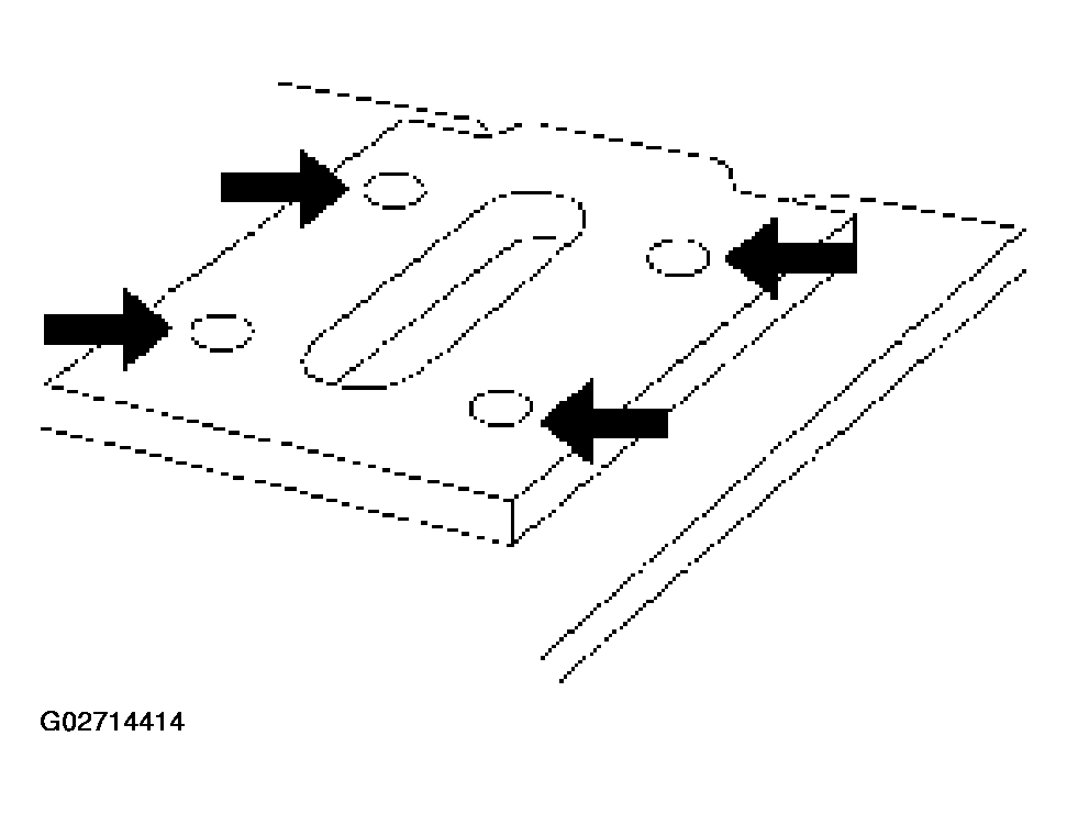
Check capsules on steering column bracket assembly; all must be securely seated in bracket slots and checked for any loose conditions when pushed or pulled by hand.

Fig 1: Checking Column Capsules On Steering Column Bracket Assembly
G02714414Courtesy of ISUZU MOTOR CO.

Check clearance between capsule and bracket. If must be within 1 mm (0.039 in).

Fig 2: Checking Clearance Between Capsule And Bracket
G02714415Courtesy of ISUZU MOTOR CO.