LEMON Manuals: Even more car manuals for everyone: 1960-2025
Home >> Isuzu >> 2007 >> Ascender 4WD >> Repair and Diagnosis >> Brakes >> Antilock Brake System, Traction Control System & Stability Control System >> Component Locator >> Antilock Brake System Connectors >> Electronic Brake Control Module (EBCM)
April 5, 2026: LEMON Manuals is launched! Read the announcement.

Electronic Brake Control Module (EBCM)

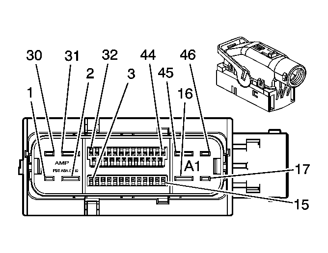
Fig 1: Electronic Brake Control Module (EBCM) Connector End View
GM1671570Courtesy of GENERAL MOTORS CORP.
Electronic Brake Control Module (EBCM) Connector Parts Information

Connector Part Information 
  • OEM: 13551457
  • Service: 88988940
  • Description: 46-Way F EBC-440 (BK)
Terminal Part Information 
  • Pins: 2, 16, 31, 45
  • Terminal/Tray: 7116-4142-02/10
  • Core/Insulation Crimp: D/3
  • Release Tool/Test Probe: 12094430/J-35616-42 (RD)
  • Pins: 5-6, 8, 10-15, 22-28, 32, 37, 38, 39, 41-44
  • Terminal/Tray: 638551-1/16
  • Core/Insulation Crimp: J/J
  • Release Tool/Test Probe: 15315247/J-35616-64B (L-BU)
  • Pins: 29
  • Terminal/Tray: 638551-1/16
  • Core/Insulation Crimp: K/K
  • Release Tool/Test Probe: 15315247/J-35616-64B (L-BU)
Electronic Brake Control Module (EBCM) Connector Terminal Identification

Pin Wire Color Circuit No. Function
1 - - Not Used
2 RD 4042 Battery Positive Voltage
3-4 - - Not Used
5 L-BU 2206 Traction Control Preference Switch Signal
6 PU 420 TCC Brake Switch/Cruise Control Release Signal
7 - - Not Used
8 L-BU 715 Lateral Accelerometer Signal
9 - - Not Used
10 L-BU 1764 Steering Wheel Position Signal B
11 L-BU 1059 Steering Wheel Position Sensor Signal
12 L-BU 830 Left Front Wheel Speed Sensor Signal
13 YE 873 Left Front Wheel Speed Sensor Low Reference
14 TN/BK 464 Delivered Torque Signal
15 YE 5353 Yaw Ring Raster Control
16 BK 1850 Ground
17-21 - - Not Used
22 L-BU 2088 Steering Wheel Position Sensor Low Reference
23 D-GN 2087 5-Volt Reference
24 OG/BK 556 Low Reference
25 GY 626 Steering Wheel Position Sensor 5-Volt Reference
26 D-GN 872 Right Front Wheel Speed Sensor Signal
27 TN 833 Right Front Wheel Speed Sensor Low Reference
28 OG/BK 463 Requested Torque Signal
29 PU 333 Brake Fluid Level Sensor Signal
30 - - Not Used
31 RD 642 Battery Positive Voltage
32 BN 441 Ignition 3 Voltage
33-36 - - Not Used
37 D-BU 716 Yaw Rate Sensor Signal
38 YE 5353 Yaw Ring Raster Control
39 L-GN 1763 Steering Wheel Position Signal A
40 - - Not Used
41 RD 885 Left Rear Wheel Speed Sensor Low Reference
42 BK 884 Left Rear Wheel Speed Sensor Signal
43 BN 882 Right Rear Wheel Speed Sensor Signal
44 WH 883 Right Rear Wheel Speed Sensor Low Reference
45 BK 1850 Ground
46 - - Not Used