LEMON Manuals: Even more car manuals for everyone: 1960-2025
Home >> Isuzu >> 2007 >> Ascender 4WD >> Repair and Diagnosis >> Engine Performance >> System >> Engine Control System & Fuel System - 4.2L - Introduction (2 Of 2) >> Component Locator >> Powertrain Control Module Connectors >> Powertrain Control Module (PCM) C2
April 5, 2026: LEMON Manuals is launched! Read the announcement.

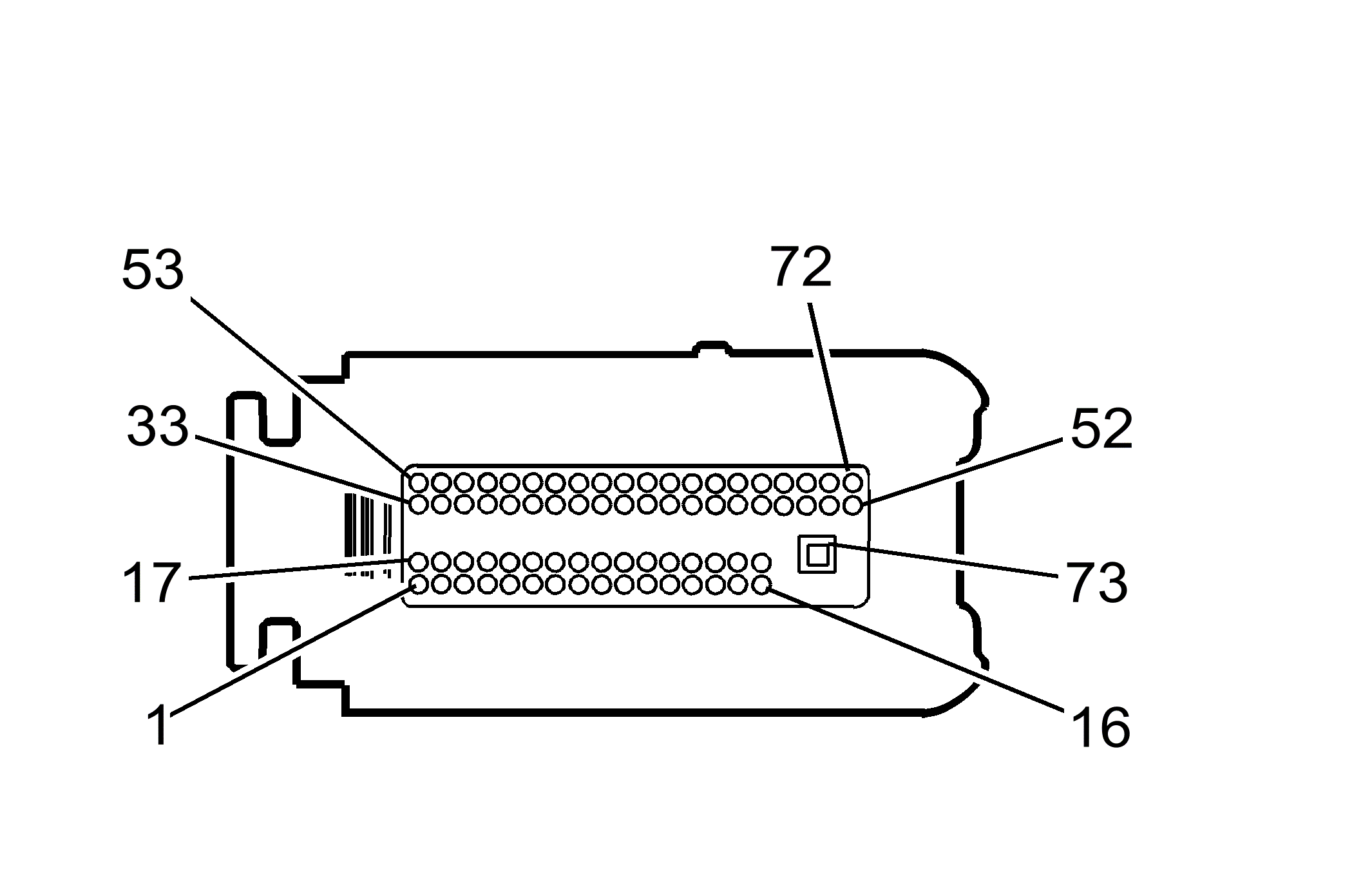
Powertrain Control Module (PCM) C2

Fig 1: Powertrain Control Module (PCM) C2 Connector End View
GM1671569Courtesy of GENERAL MOTORS CORP.
Powertrain Control Module (PCM) C2 Connector Parts Information

Connector Part Information 
  • OEM: 15452126
  • Service: 88953274
  • Description: 73-Way F GT 280 Micro 64 Series Unsealed (BK)
Terminal Part Information 
  • Pins: 1-2, 4-10, 14, 17-22, 26, 28, 30, 32-33, 35-37, 39-42, 44-45, 47-48, 51-60, 64-66, 68-69, 71-72
  • Terminal/Tray: 15359541/4
  • Core/Insulation Crimp: M/M
  • Release Tool/Test Probe: 15381651-2/J-35616-64B (L-BU)
  • Pins: 73
  • Terminal/Tray: 15304720/19
  • Core/Insulation Crimp: 4/5
  • Release Tool/Test Probe: 15315247/J-35616-4A (PU)
Powertrain Control Module (PCM) C2

Pin Wire Color Circuit No. Function
1 PU 5428 Generator Regulator Control
2 D-GN 485 TP Sensor 1 Signal
3 - - Not Used
4 GY 597 5-Volt Reference
5 BN/WH 6789 Air Injection Reaction Control Valve #1 Volt Reference (K18)
6 GY 2701 5-Volt Reference
7 PU 486 TP Sensor 2 Signal
8 GY 2704 5-Volt Reference
9 L-BU/BK 1688 5-Volt Reference
10 D-GN/WH 2124 IC 4 Control
11-13 - - Not Used
14 PK/BK 632 Low Reference
15-16 - - Not Used
17 YE 573 CKP Sensor
18 PU 574 Low Reference
19 BK 2199 Low Reference
20 OG/BK 469 Low Reference
21 GY 2365 Low Reference
22 RD 631 12-Volt Reference
23-25 - - Not Used
26 BN/WH 633 CMP Sensor Signal
27 - - Not Used
28 PU 421 Air Injection Reaction Solenoid Relay Coil Control (K18)
29 - - Not Used
30 D-BU/WH 6785 Air Injection Reaction Control Valve #1 Low Reference (K18)
31 - - Not Used
32 TN 1664 HO2S Low Signal
33 BK 1744 Fuel Injector 1 Control
34 - - Not Used
35 YE 410 ECT Sensor Signal
36 BK/WH 1704 Low Reference
37 L-GN 432 MAP Sensor Signal
38 - - Not Used
39 BK 2752 Low Reference
40 PU 2121 IC 1 Control
41 YE 492 MAF Sensor Signal
42 L-BU 2123 IC 3 Control
43 - - Not Used
44 RD/WH 2122 IC 2 Control
45 GY 23 Generator Field Duty Cycle Signal
46 - - Not Used
47 BN 2198 Camshaft Position Actuator Solenoid High Control
48 PU/WH 1665 HO2S High Signal
49-50 - - Not Used
51 TN 472 IAT Sensor Signal
52 BK 2761 Low Reference
53 BK/WH 845 Fuel Injector 5 Control
54 YE/BK 846 Fuel Injector 6 Control
55 PK/BK 1746 Fuel Injector 3 Control
56 L-GN/BK 1745 Fuel Injector 2 Control
57 L-BU/BK 844 Fuel Injector 4 Control
58 D-GN 676 HO2S Heater Low Control
59 D-GN 2125 IC 5 Control
60 L-BU/WH 2126 IC 6 Control
61-63 - - Not Used
64 BK 2760 Low Reference
65 BN 582 TAC Motor Control - 2
66 YE 581 TAC Motor Control - 1
67 - - Not Used
68 D-BU 496 Knock Sensor 1 Signal
69 GY 1716 Knock Sensor Signal
70 - - Not Used
71 GY 2303 Knock Sensor Signal
72 L-BU 1876 Knock Sensor 2 Signal
73 BK 450 Ground