LEMON Manuals: Even more car manuals for everyone: 1960-2025
Home >> Jaguar >> 2005 >> S-Type (X200) V8-4.2L SC >> Repair and Diagnosis >> Diagrams >> Connector Views >> Control Module Pin Identification
April 5, 2026: LEMON Manuals is launched! Read the announcement.

Control Module Pin Identification



Control Module Pin Identification


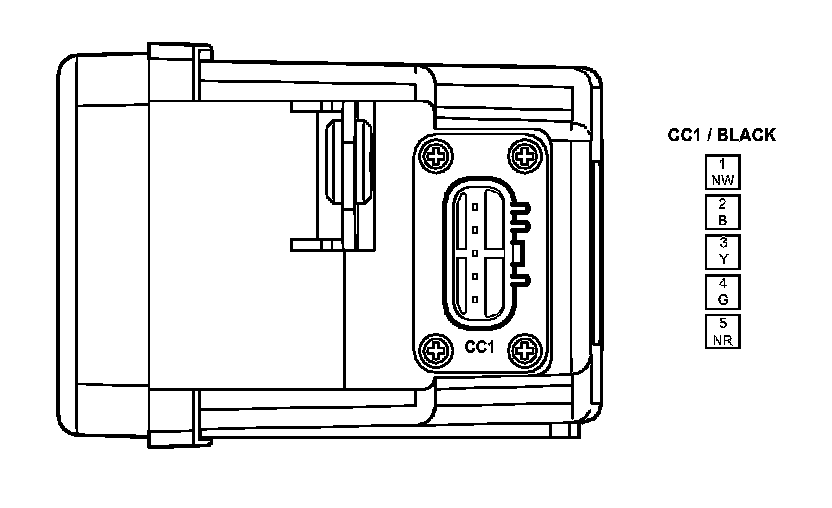
Engine Control Module:






Instrument Cluster:






Front Electronic Module:






Rear Electronic Module:






Electronic Parking Brake Module:






Adapitive Damping Control Module:






Dynamic Stability Control Module:






Air Conditioning Control Module - Panel:






Air Conditioning Control Module - Remote:






Driver Seat Module:






Driver Door Module:






Speed Control Sensor:






Speed Control Module:






Tire Pressure Monitoring System Module:






Tire Pressure Receiver Module:






Glow Plug Control Module:






Fuel-Fired Auxiliary Heate Module: