LEMON Manuals: Even more car manuals for everyone: 1960-2025
Home >> Jeep >> 1989 >> Wagoneer >> Repair and Diagnosis >> Engine Performance >> System >> 4.0L MPFI CEC Testing >> System Testing >> Relay Test
April 5, 2026: LEMON Manuals is launched! Read the announcement.

Relay Test

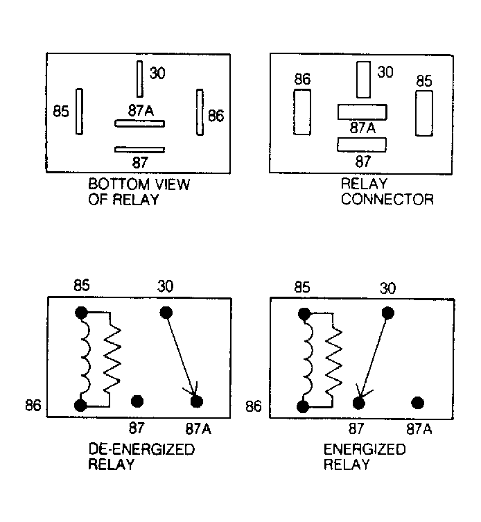
Each relay in the de-energized position should have continuity between terminals No. 87A and 30. See Fig 1 . Resistance value between terminals No. 85 and 86 (electromagnet) is 70-80 ohms for resistor type relays, and 81-91 ohms for diode type relays.

NOTE: Not all relays have battery voltage connected to terminal No. 30. Some may have battery voltage connected to terminals No. 87 or 87A. See Fig 1 .
Fig 1: Relay Terminals Showing Internal Wiring
G113139Courtesy of CHRYSLER MOTORS.