LEMON Manuals: Even more car manuals for everyone: 1960-2025
Home >> Jeep >> 1999 >> Cherokee Limited, 2.5 P >> Repair and Diagnosis >> Body & Frame >> Body, Cab Control Systems >> Body Control Computer - Introduction >> Connector Identification
April 5, 2026: LEMON Manuals is launched! Read the announcement.

Connector Identification

NOTE: For terminal identification of body control system connectors, see Fig 1 -Fig 40 . Connector terminal numbers are molded into connectors. If connector terminal identification differs from that shown in figure, use wire colors to ensure correct circuit is being tested.
CONNECTOR IDENTIFICATION DIRECTORY

Connector See Fig.
Air Bag Control Module (Cherokee & Wrangler) Fig 1
Air Bag Control Module (Grand Cherokee) Fig 2
Automatic Headlight Sensor/VTSS LED (Grand Cherokee) Fig 3
Automatic Zone Control "C1" (Grand Cherokee) Fig 4
Automatic Zone Control "C2" (Grand Cherokee) Fig 5
Body Control Module "C1" (Grand Cherokee) Fig 6
Compass Mini-Trip Computer (Cherokee & Wrangler) Fig 7
Data Link Connector Fig 8
Diagnostic Junction Port (Grand Cherokee) Fig 9
Driver's Door Lock Motor/Ajar Switch (Grand Cherokee) Fig 10
Driver's Door Module "C1"(Grand Cherokee) Fig 11
Driver's Door Module "C2"(Grand Cherokee) Fig 12
Driver's Rear Door Lock Motor/Ajar Switch (Grand Cherokee) Fig 13
Driver's Rear Power Window Switch (Grand Cherokee) Fig 14
Front Lighting Module (Grand Cherokee) Fig 15
Ignition Switch (Grand Cherokee) Fig 16
Instrument Cluster (Cherokee & Wrangler) Fig 17
Instrument Cluster (Grand Cherokee) Fig 18
ISO Relay Fig 19
Junction Block "C1", "C2" & "C3" (Grand Cherokee) Fig 20
Junction Block-Front View (Grand Cherokee) Fig 21
Junction Block-Rear View (Grand Cherokee) Fig 22
Left Multi-function Switch (Grand Cherokee) Fig 23
Manual Temperature Control "C1" (Grand Cherokee) Fig 24
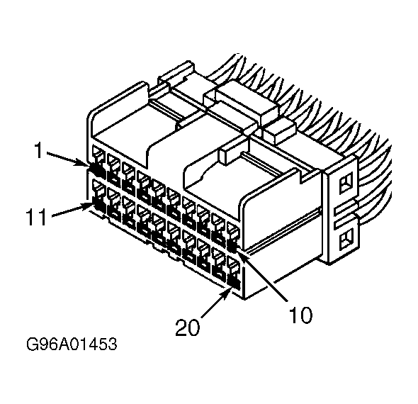
Memory Seat Module "C1" (Grand Cherokee) Fig 25
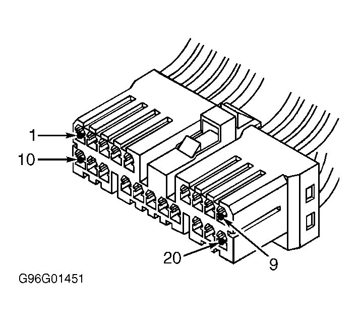
Memory Seat Module "C2" (Grand Cherokee) Fig 26
Powertrain Control Module Fig 27
Passenger's Door Lock Motor/Window Switch (Cherokee) Fig 28
Passenger's Door Lock Motor/Ajar Switch (Grand Cherokee) Fig 29
Passenger Door Module "C1" (Grand Cherokee) Fig 30
Passenger Door Module "C2" (Grand Cherokee) Fig 31
Passenger Rear Power Window Switch (Grand Cherokee) Fig 32
Power Distribution Center (Grand Cherokee) Fig 33
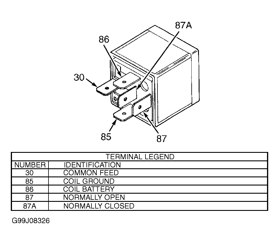
Relay (Typical) Fig 34
Right Multi-Function Switch Fig 35
Sentry Key Immobilizer Module Fig 36
Sunroof Control Module (Grand Cherokee) Fig 37
Sunroof Switch (Grand Cherokee) Fig 38
Vehicle Information Center (Grand Cherokee) Fig 39
Wiper Motor (Grand Cherokee) Fig 40
Fig 1: Identifying Air Bag Control Module Connector Terminals (Cherokee & Wrangler)
G98B00091Courtesy of CHRYSLER CORP.
Fig 2: Identifying Airbag Control Module Connector Terminals (Grand Cherokee)
G98F00093Courtesy of CHRYSLER CORP.
Fig 3: Identifying Automatic Headlight Sensor/VTSS LED Connector Terminals (Grand Cherokee)
G98A00095Courtesy of CHRYSLER CORP.
Fig 4: Identifying Automatic Zone Control "C1" Connector Terminals (Grand Cherokee)
G99J02145Courtesy of CHRYSLER CORP.
Fig 5: Identifying Automatic Zone Control "C2" Connector Terminals (Grand Cherokee)
G99B02146Courtesy of CHRYSLER CORP.
Fig 6: Identifying Body Control Module "C1" Connector Terminals (Grand Cherokee)
G99A02075Courtesy of CHRYSLER CORP.
Fig 7: Identifying Compass Mini-Trip Computer Connector Terminals (Cherokee & Warngler)
G98H00094Courtesy of CHRYSLER CORP.
Fig 8: Identifying Data Link Connector Terminals
G95I35319Courtesy of CHRYSLER CORP.
Fig 9: Identifying Diagnostic Junction Port Connector Terminals (Grand Cherokee)
G99F02148Courtesy of CHRYSLER CORP.
Fig 10: Identifying Driver's Door Lock Motor/Ajar Switch Connector Terminals (Grand Cherokee)
G99H02149Courtesy of CHRYSLER CORP.
Fig 11: Identifying Driver's Door Module "C1" Connector Terminals (Grand Cherokee)
G99J02150Courtesy of CHRYSLER CORP.
Fig 12: Identifying Driver's Door Module "C2" Connector Terminals (Grand Cherokee)
G99B02151Courtesy of CHRYSLER CORP.
Fig 13: Identifying Driver's Rear Door Lock Motor/Ajar Switch Connector Terminals (Grand Cherokee)
G99D02152Courtesy of CHRYSLER CORP.
Fig 14: Identifying Driver's Rear Power Window Switch Connector Terminals (Grand Cherokee)
G99F02153Courtesy of CHRYSLER CORP.
Fig 15: Identifying Front Lighting Module Connector Terminals (Grand Cherokee)
G99H02154Courtesy of CHRYSLER CORP.
Fig 16: Identifying Ignition Switch Connector Terminals (Grand Cherokee)
G99A02155Courtesy of CHRYSLER CORP.
Fig 17: Identifying Instrument Cluster Connector Terminals (Cherokee & Wrangler)
G96J01443Courtesy of CHRYSLER CORP.
Fig 18: Identifying Instrument Cluster Connector Terminals (Grand Cherokee)
G99G02139Courtesy of CHRYSLER CORP.
Fig 19: Identifying ISO Relay Terminals (Typical)
G98J00090Courtesy of CHRYSLER CORP.
Fig 20: Identifying Junction Block "C1", "C2" & "C3" Connector Terminals (Grand Cherokee)
G99C02156Courtesy of CHRYSLER CORP.
Fig 21: Identifying Junction Block - Front View (Grand Cherokee)
G99E02157Courtesy of CHRYSLER CORP.
Fig 22: Identifying Junction Block - Rear View (Grand Cherokee)
G99G02158Courtesy of CHRYSLER CORP.
Fig 23: Identifying Left Multi-Function Switch Connector Terminals (Grand Cherokee)
G99I02159Courtesy of CHRYSLER CORP.
Fig 24: Identifying Manual Temperature Control "C1" Connector (Grand Cherokee)
G99G08320Courtesy of CHRYSLER CORP.
Fig 25: Identifying Memory Seat Module "C1" Connector Terminals (Grand Cherokee)
G96A01453Courtesy of CHRYSLER CORP.
Fig 26: Identifying Memory Seat Module "C2" Connector Terminals (Grand Cherokee)
G96G01451Courtesy of CHRYSLER CORP.
Fig 27: Identifying Powertrain Control Module Connector Terminals
G99C02137Courtesy of CHRYSLER CORP.
Fig 28: Idenifying Passenger Door Lock/Window Switch Connector Terminals (Cherokee)
G97B28325Courtesy of CHRYSLER CORP.
Fig 29: Identifying Passenger's Door Lock Motor/Ajar Switch Connector Terminals (Grand Cherokee)
G99I08321Courtesy of CHRYSLER CORP.
Fig 30: Identifying Passenger's Door Module "C1" Connector Terminals (Grand Cherokee)
G99A08322Courtesy of CHRYSLER CORP.
Fig 31: Identifying Passenger's Door Module "C2" Connector Terminals (Grand Cherokee)
G99C08323Courtesy of CHRYSLER CORP.
Fig 32: Identifying Passenger's Rear Power Window Switch (Grand Cherokee)
G99E08324Courtesy of CHRYSLER CORP.
Fig 33: Top View Of Power Distribution Center (Grand Cherokee)
G99H08325Courtesy of CHRYSLER CORP.
Fig 34: Identifying Relay (Typical) Terminals
G99J08326Courtesy of CHRYSLER CORP.
Fig 35: Identifying Right Multi-Function Switch Connector Terminals (Grand Cherokee)
G99B08327Courtesy of CHRYSLER CORP.
Fig 36: Identifying Sentry Key Immobilizer Module Connector Terminals
G99B02132Courtesy of CHRYSLER CORP.
Fig 37: Identifying Sunroof Control Module Connector Terminals (Grand Cherokee)
G99D08328Courtesy of CHRYSLER CORP.
Fig 38: Identifying Sunroof Switch Connector Terminals (Grand Cherokee)
G99F08329Courtesy of CHRYSLER CORP.
Fig 39: Identifying Vehicle Information Center Connector Terminals (Grand Cherokee)
G99J02126Courtesy of CHRYSLER CORP.
Fig 40: Identifying Wiper Motor Connector Terminals (Grand Cherokee)
G98C00721Courtesy of CHRYSLER CORP.