LEMON Manuals: Even more car manuals for everyone: 1960-2025
Home >> Jeep >> 2004 >> Grand Cherokee Overland, AWD >> Repair and Diagnosis >> Engine Performance >> Ignition System >> Ignition Control >> Coil Rail >> Removal
April 5, 2026: LEMON Manuals is launched! Read the announcement.

Coil Rail: Removal

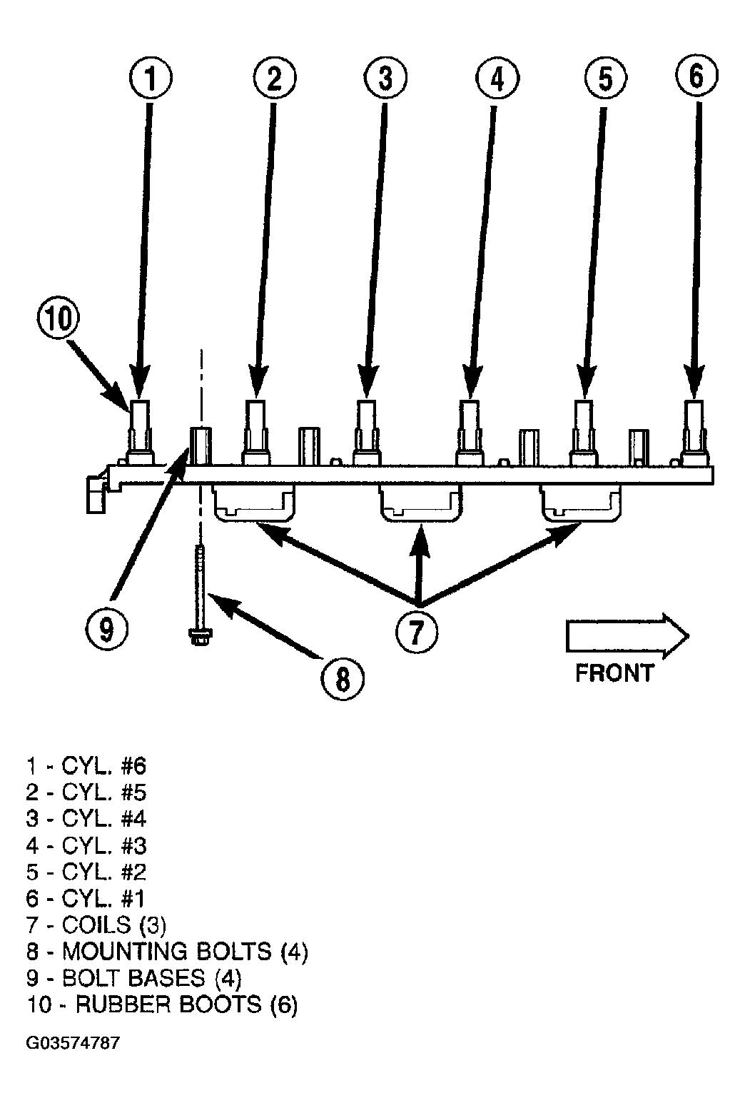
A one-piece coil rail assembly containing three individual coils is used on the 4.0L engine (Fig 1 ). The coil rail must be replaced as one assembly. The bottom of the coil is equipped with 6 individual rubber boots (Fig 1 ) to seal the 6 spark plugs to the coil. Inside each rubber boot is a spring. The spring is used for an electrical contact between the coil and the top of the spark plug. These rubber boots and springs are a permanent part of the coil and are not serviced separately.

Fig 1: Ignition Coil Assembly - 4.0L 6-Cylinder Engine
G03574787Courtesy of DAIMLERCHRYSLER CORP.
  1. Disconnect negative battery cable at battery.
  2. The coil is bolted directly to the cylinder head. Remove 4 coil mounting bolts (Fig 2 ).
    Fig 2: Ignition Coil Rail Location - 4.0L 6-Cylinder Engine
    G03574788Courtesy of DAIMLERCHRYSLER CORP.
  3. Carefully pry up coil assembly from spark plugs. Do this by prying alternately at each end of coil until rubber boots have disengaged from all spark plugs. If boots will not release from spark plugs, use a commercially available spark plug boot removal tool. Twist and loosen a few boots from a few spark plugs to help remove coil.
  4. After coil has cleared spark plugs, position coil for access to primary electrical connector. Disconnect connector from coil by pushing slide tab outwards to right side of vehicle (Fig 3 ). After slide tab has been positioned outwards, push in on secondary release lock (Fig 3 ) on side of connector and pull connector from coil.
  5. Remove coil from vehicle.
    Fig 3: Ignition Coil Electrical Connector - 4.0L 6-Cylinder Engine
    G03574789Courtesy of DAIMLERCHRYSLER CORP.