LEMON Manuals: Even more car manuals for everyone: 1960-2025
Home >> Jeep >> 2006 >> Commander Base, 3.7 K, AWD >> Repair and Diagnosis >> Engine Mechanical >> Fuel System >> Fuel Delivery >> Fitting-Quick Connect >> Standard Procedure >> Disconnecting
April 5, 2026: LEMON Manuals is launched! Read the announcement.

Standard Procedure: Disconnecting

WARNING: The fuel system is under a constant pressure (even with engine off). Before servicing any fuel system hose, fitting or line, fuel system pressure must be released. Refer to (FUEL SYSTEM PRESSURE RELEASE)  procedure.
CAUTION: Before separating a quick-connect fitting, pay attention to what type of fitting is being used by referring to Quick-Connect Fitting Removal. This will prevent unnecessary fitting or fitting latch breakage.
CAUTION: The interior components (O-rings, clips) of quick-connect fittings are not serviced separately, but new plastic spacers and latches are available for some types. If service parts are not available, do not attempt to repair the damaged fitting or fuel line (tube). If repair is necessary, replace the complete fuel line (tube) assembly.
  1. Perform fuel pressure release procedure. (Refer to FUEL SYSTEM PRESSURE RELEASE) .
  2. Disconnect negative battery cable from battery.
  3. Clean fitting of any foreign material before disassembly.
    Fig 1: Single Button Fitting
    GC0010078Courtesy of DAIMLERCHRYSLER CORP.
    1 - QUICK-CONNECT FITTING
    2 - SINGLE PUSH-BUTTON
  4. Single-Button Type Fitting:  This type of fitting is equipped with a single push-button (2) located on the quick-connect fitting.
    Fig 2: Fitting Latches
    GC0010079Courtesy of DAIMLERCHRYSLER CORP.
    1 - LATCHES
    2 - QUICK-CONNECT FITTING
  5. The push-button is attached to two internal latches (1). To disconnect, press on push-button with your thumb and unlatch fitting from fuel line. Tools are not required for disconnection. DO NOT ATTEMPT TO PRY OR PULL UP ON PUSH-BUTTON. LATCHES WILL BE BROKEN. 
    Fig 3: 2-Button Type Fitting
    GC0010076Courtesy of DAIMLERCHRYSLER CORP.
    1 - QUICK-CONNECT FITTING
    2 - PUSH-BUTTONS (2)
  6. Perform fuel pressure release procedure. (Refer to FUEL SYSTEM PRESSURE RELEASE) .
  7. Disconnect negative battery cable from battery.
  8. Clean fitting of any foreign material before disassembly.
  9. 2-Button Type Fitting:  This type of fitting (1) is equipped with a push-button located on each side of quick-connect fitting (2). Press on both buttons simultaneously for removal. Tools are not required for disconnection.
    Fig 4: Pinch Type Quick-Connect Fitting
    GC0010077Courtesy of DAIMLERCHRYSLER CORP.
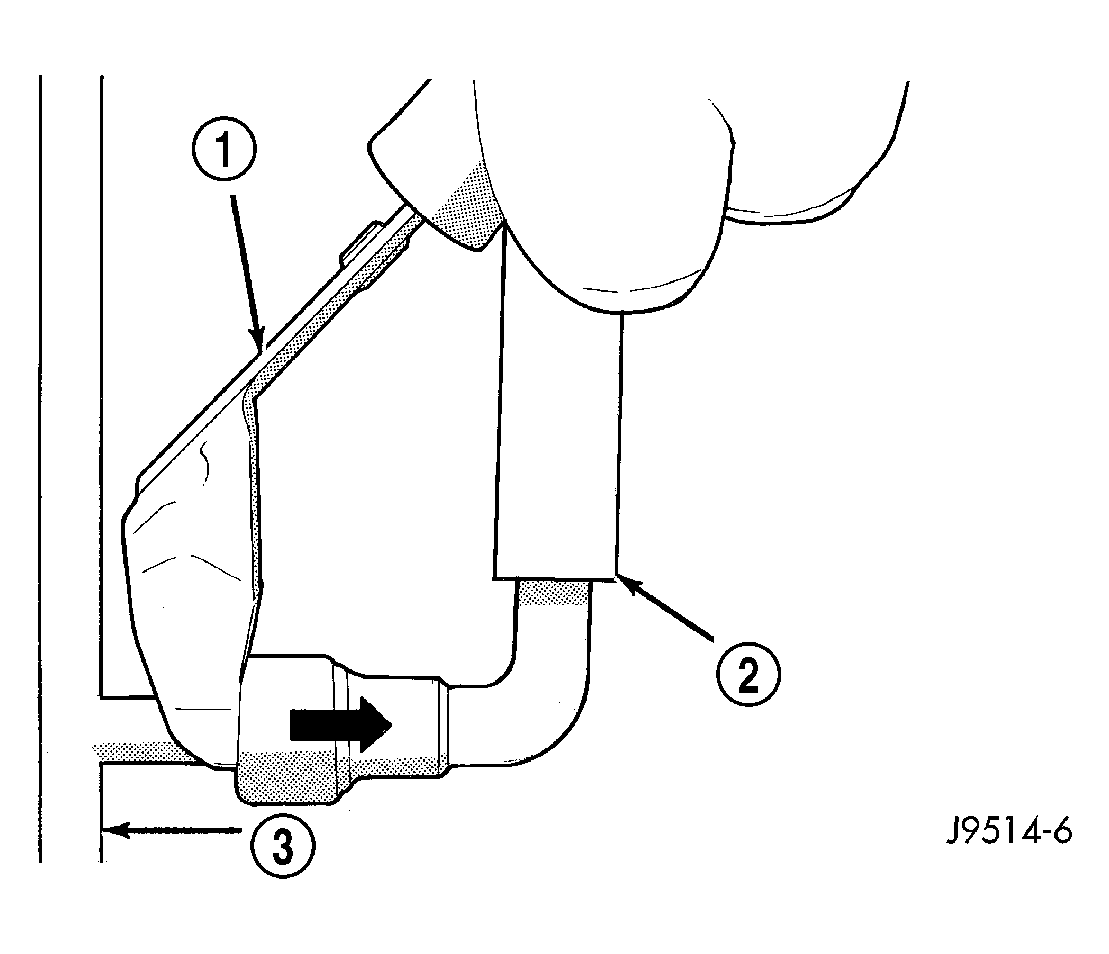
    1 - QUICK-CONNECT FITTINGS
    2 - PINCH TABS
  10. Pinch-Type Fitting:  This fitting (1) is equipped with two finger tabs (2). Pinch both tabs together while removing fitting. Tools are not required for disconnection.
    Fig 5: Single-Tab Type Fitting
    GC0010068Courtesy of DAIMLERCHRYSLER CORP.
    1 - PULL TAB
    2 - QUICK-CONNECT FITTING
    3 - PRESS HERE TO REMOVE PULL TAB
    4 - INSERTED TUBE END
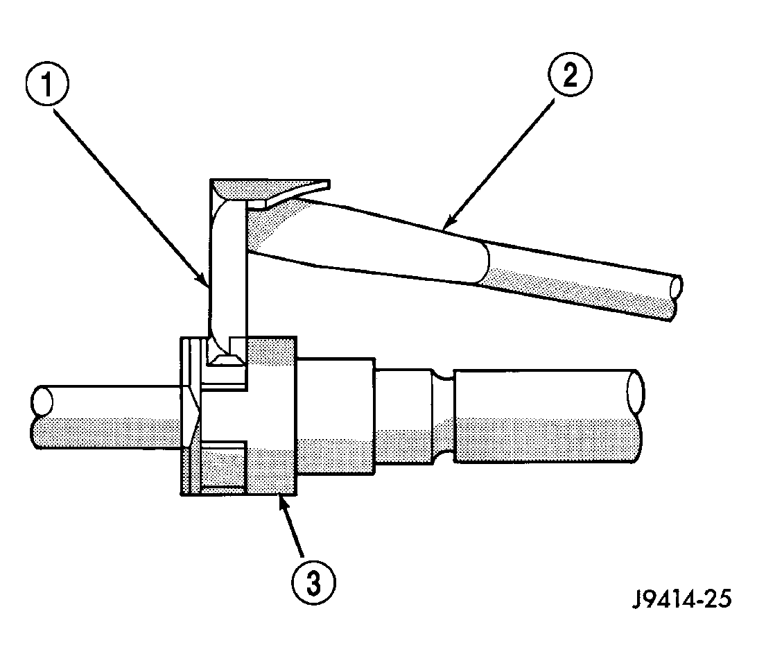
  11. Single-Tab Type Fitting:  This type of fitting (3) is equipped with a single pull tab (1). The tab is removable. After tab is removed, quick-connect fitting can be separated from fuel system component. Tools are not required for disconnection.
    Fig 6: Disconnecting Single-Tab Type Fitting
    GC0010069Courtesy of DAIMLERCHRYSLER CORP.
    1 - PULL TAB
    2 - SCREWDRIVER
    3 - QUICK-CONNECT FITTING
  12. Press release tab on side of fitting to release pull tab (1). If release tab is not pressed prior to releasing pull tab, pull tab will be damaged. 
  13. While pressing release tab on side of fitting, use screwdriver (2) to pry up pull tab.
  14. Raise pull tab until it separates from quick-connect fitting.
    Fig 7: Typical 2-Tab Type Fitting
    GC0010071Courtesy of DAIMLERCHRYSLER CORP.
    1 - TAB(S)
    2 - QUICK-CONNECT FITTING
  15. Two-Tab Type Fitting:  This type of fitting (2) is equipped with tabs located on both sides of fitting (1). The tabs are supplied for disconnecting quick-connect fitting from component being serviced.
    • To disconnect quick-connect fitting, squeeze plastic retainer tabs (1) against sides of quick-connect fitting with your fingers. Tool use is not required for removal and may damage plastic retainer.
    • Pull fitting from fuel system component being serviced.
    • The plastic retainer will remain on component being serviced after fitting is disconnected. The O-rings and spacer will remain in quick-connect fitting connector body.
    Fig 8: Plastic Retainer Ring Type Fitting
    GC0010072Courtesy of DAIMLERCHRYSLER CORP.
    1 - FUEL TUBE
    2 - QUICK CONNECT FITTING
    3 - PUSH
    4 - PLASTIC RETAINER
    5 - PUSH
    6 - PUSH
    7 - PUSH
    8 - PUSH
  16. Plastic Retainer Ring Type Fitting:  This type of fitting can be identified by the use of a full-round plastic retainer ring (4) usually black in color.
    • To release fuel system component from quick-connect fitting, firmly push fitting towards component being serviced while firmly pushing plastic retainer ring into fitting (6). With plastic ring depressed, pull fitting from component. The plastic retainer ring must be pressed squarely into fitting body. If this retainer is cocked during removal, it may be difficult to disconnect fitting. Use an open-end wrench on shoulder of plastic retainer ring to aid in disconnection. 
    • After disconnection, plastic retainer ring will remain with quick-connect fitting connector body.
    • Inspect fitting connector body, plastic retainer ring and fuel system component for damage. Replace as necessary.
    Fig 9: Latch Clip-Type 1
    GC0010073Courtesy of DAIMLERCHRYSLER CORP.
    1 - TETHER STRAP
    2 - FUEL LINE
    3 - SCREWDRIVER
    4 - LATCH CLIP
    5 - FUEL RAIL
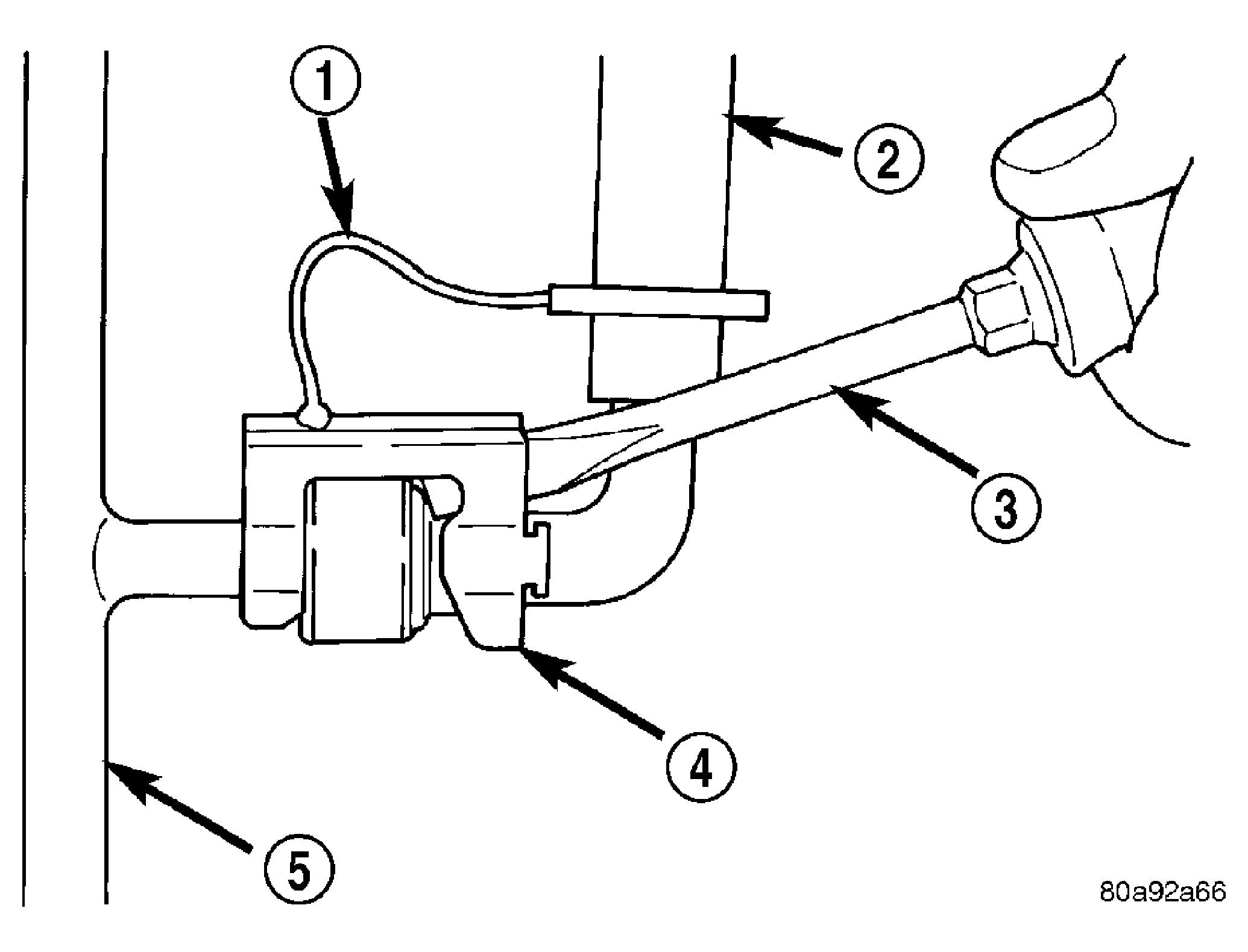
  17. Latch Clips - Type 1:  Depending on vehicle model and engine, 2 different types of safety latch clips are used. Type-1 (4) is tethered to fuel line and type-2 is not. A special tool will be necessary to disconnect fuel line after latch clip is removed. The latch clip may be used on certain fuel line/fuel rail connection, or to join fuel lines together.
  18. Pry up on latch clip with a screwdriver (3).
  19. Slide latch clip toward fuel rail while lifting with screwdriver.
    Fig 10: Fuel Line Disconnection Using Special Tool
    GC0010075Courtesy of DAIMLERCHRYSLER CORP.
    1 - SPECIAL FUEL LINE TOOL
    2 - FUEL LINE
    3 - FUEL RAIL
  20. Insert fuel line removal tool (Snap-On number FIH 9055-1 or equivalent) into fuel line (1). Use tool to release locking fingers in end of line.
  21. With tool still inserted, pull fuel line from fuel rail.
  22. After disconnection, locking fingers will remain within quick-connect fitting at end of fuel line.
  23. Disconnect quick-connect fitting from fuel system component being serviced.
    Fig 11: Latch Clip-Type 2
    GC0010074Courtesy of DAIMLERCHRYSLER CORP.
    1 - LATCH CLIP
  24. Latch Clips - Type 2:  Depending on vehicle model and engine, 2 different types of safety latch clips are used. Type-1 is tethered to fuel line and type-2 is not. A tool will be necessary to disconnect fuel line after latch clip is removed. The latch clip may be used on certain fuel line/fuel rail connection, or to join fuel lines together.
  25. Type 2: Separate and unlatch 2 small arms (1) on end of clip and swing away from fuel line.
  26. Slide latch clip toward fuel rail while lifting with screwdriver.
    Fig 12: Fuel Line Disconnection Using Special Tool
    GC0010075Courtesy of DAIMLERCHRYSLER CORP.
    1 - SPECIAL FUEL LINE TOOL
    2 - FUEL LINE
    3 - FUEL RAIL
  27. Insert fuel line removal tool (Snap-On number FIH 9055-1 or equivalent) into fuel line (1). Use tool to release locking fingers in end of line.
  28. With tool still inserted, pull fuel line from fuel rail.
  29. After disconnection, locking fingers will remain within quick-connect fitting at end of fuel line.
  30. Disconnect quick-connect fitting from fuel system component being serviced.