LEMON Manuals: Even more car manuals for everyone: 1960-2025
Home >> Jeep >> 2007 >> Commander Base, 4.7 P, 4WD >> Repair and Diagnosis >> Engine Performance >> System >> DTCS P0325 To P0501 >> P0405-EGR Position Sensor Circuit Low >> Diagnostic Test
April 5, 2026: LEMON Manuals is launched! Read the announcement.

Diagnostic Test

  1. 1) ACTIVE DTC 

    Start the engine and allow it to reach normal operating temperature.

    WARNING: When the engine is operating, do not stand in direct line with the fan. Do not put your hands near the pulleys, belts, or fan. Do not wear loose clothing. Failure to follow these instructions can result in personal injury or death.
    NOTE: Diagnose and repair any system voltage or sensor supply voltage DTCs before continuing with this test.

    With the scan tool, select View DTCs.

    Is the DTC Active at this time? 

    Yes 

    1. Go to  2).

    No 

    1. Refer to INTERMITTENT CONDITION Diagnostic Procedure.
  2. 2) (F856) 5-VOLT SUPPLY CIRCUIT 
    Fig 1: Checking EGR Position Sensor 5-Volt Supply Circuit
    GC0014979Courtesy of CHRYSLER LLC

    Turn the ignition off.

    Disconnect the EGR Solenoid harness connector.

    Ignition on, engine not running.

    Measure the voltage of the (F856) 5-volt Supply circuit in the EGR Solenoid harness connector.

    Is the voltage between 4.5 to 5.2 volts? 

    Yes 

    1. Go to  3).

    No 

    1. Go to  7).
  3. 3) (K34) EGR POSITION SENSOR SIGNAL CIRCUIT SHORTED TO GROUND 
    Fig 2: Checking EGR Position Sensor Circuits For Short To Ground
    GC0014975Courtesy of CHRYSLER LLC

    Turn the ignition off.

    Disconnect the C2 PCM harness connector.

    Measure the resistance between ground and the (K34) EGR Position Sensor Signal circuit in the EGR Solenoid harness connector.

    Is the resistance below 100 ohms? 

    Yes 

    1. Repair the short to ground circuit in the (K34) EGR Position Sensor Signal circuit.
    2. Perform POWERTRAIN VERIFICATION TEST .

    No 

    1. Go to  4).
  4. 4) (K34) EGR SENSOR SIGNAL CIRCUIT SHORTED TO THE (K900) SENSOR GROUND CIRCUIT 
    Fig 3: Checking EGR Position Sensor Signal Circuit & Ground Circuit
    GC0014980Courtesy of CHRYSLER LLC

    Measure the resistance between the (K34) EGR Position Sensor Signal circuit and (K900) Sensor ground circuit in the EGR Solenoid harness connector.

    Is the resistance below 100 ohms? 

    Yes 

    1. Repair the short between the (K900) Sensor ground and the (K34) EGR Position Sensor Signal circuit.
    2. Perform POWERTRAIN VERIFICATION TEST .

    No 

    1. Go to  5).
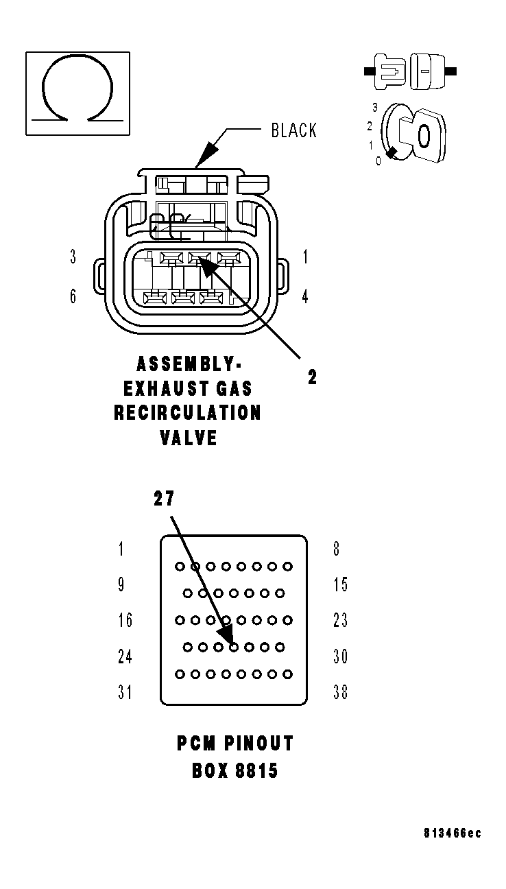
  5. 5) EXCESSIVE RESISTANCE IN THE (K34) EGR SIGNAL CIRCUIT 
    Fig 4: Measuring Resistance Of EGR Signal Circuit
    GC0050930Courtesy of CHRYSLER LLC
    CAUTION: Do not probe the PCM harness connectors. Probing the PCM harness connectors will damage the PCM terminals, resulting in poor terminal to pin connection. Install Miller Special Tool #8815 to perform diagnosis.

    Measure the resistance of the (K34) EGR Signal circuit between the Exhaust Gas Recirculation Valve harness connector and the appropriate terminal of special tool #8815.

    Is the resistance below 5.0 ohms? 

    Yes 

    1. Go to  6).

    No 

    1. Repair the excessive resistance in the (K34) EGR Signal circuit.
    2. Perform POWERTRAIN VERIFICATION TEST .
  6. 6) EXHAUST GAS RECIRCULATION VALVE 

    Turn the ignition off.

    Connect the C2 PCM harness connector.

    Turn the ignition on.

    With the scan tool, read the Exhaust Gas Recirculation Valve signal voltage.

    NOTE: The sensor voltage should be approximately 5.0 volts (plus or minus .1 volt) with the connector disconnected.

    Does the scan tool display the voltage as described above? 

    Yes 

    1. Verify that there is good pin to terminal contact in the Solenoid and the Powertrain Control Module connectors. Replace the EGR Valve Assembly in accordance with the Service Information if no problems were found with the connectors.
    2. Perform POWERTRAIN VERIFICATION TEST .

    No 

    1. Go to  9).
  7. 7) (F856) 5-VOLT SUPPLY CIRCUIT SHORTED TO GROUND 
    Fig 5: Measuring Resistance Between Ground And 5-Volt Supply Circuit
    GC0014981Courtesy of CHRYSLER LLC

    Turn the ignition off.

    Disconnect the C1 PCM harness connector.

    Measure the resistance between ground and the (F856) 5-volt Supply circuit in the EGR Solenoid harness connector.

    Is the resistance below 100 ohms? 

    Yes 

    1. Repair the short to ground in the (F856) 5-volt Supply circuit.
    2. Perform POWERTRAIN VERIFICATION TEST .

    No 

    1. Go to  8).
  8. 8) (F856) 5-VOLT SUPPLY CIRCUIT OPEN 
    Fig 6: Checking EGR Position Sensor 5-Volt Supply Circuit
    GC0014974Courtesy of CHRYSLER LLC
    CAUTION: Do not probe the PCM harness connectors. Probing the PCM harness connectors will damage the PCM terminals resulting in poor terminal to pin connection. Install Miller Special Tool #8815 to perform diagnosis.

    Measure the resistance of the (F856) 5-volt Supply circuit from the EGR Solenoid harness connector to the appropriate terminal of special tool #8815.

    Is the resistance below 5.0 ohms? 

    Yes 

    1. Go to  9).

    No 

    1. Repair the open in the (F856) 5-volt Supply circuit.
    2. Perform POWERTRAIN VERIFICATION TEST .
  9. 9) POWERTRAIN CONTROL MODULE (PCM) 

    Using the wiring diagram/schematic as a guide, inspect the wiring and connectors between the EGR Solenoid Assembly and the Powertrain Control Module (PCM).

    Look for any chafed, pierced, pinched, or partially broken wires.

    Look for broken, bent, pushed out or corroded terminals. Verify that there is good pin to terminal contact in the Solenoid and the Powertrain Control Module connectors.

    Refer to any Technical Service Bulletins that may apply.

    Were there any problems found? 

    Yes 

    1. Repair as necessary.
    2. Perform POWERTRAIN VERIFICATION TEST .

    No 

    1. Replace and program the Powertrain Control Module per Service Information.
    2. Perform POWERTRAIN VERIFICATION TEST .