LEMON Manuals: Even more car manuals for everyone: 1960-2025
Home >> Jeep >> 2007 >> Commander Overland, 4WD >> Repair and Diagnosis (Single Page) >> Quick Lookups >> Wiring Diagrams >> Connector End Views >> Connector Pin-Outs >> Memory Seat Module Connector End View (C2)
April 5, 2026: LEMON Manuals is launched! Read the announcement.

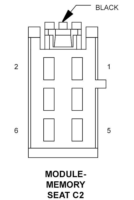
Memory Seat Module Connector End View (C2)

MODULE-MEMORY SEAT C2 - BLACK 6-WAY

GXK780240Courtesy of CHRYSLER CORP.
CAV  CIRCUIT  FUNCTION 
1 G493 20OR/VT DRIVER SEAT RECLINER POSITION SENSOR GROUND
2 P141 16LG/BR DRIVER SEAT RECLINER UP DRIVER
3 - -
4 P143 16LG/GY DRIVER SEAT RECLINER DOWN DRIVER
5 G403 20VT/OR DRIVER SEAT RECLINER POSITION SENSE
6 - -