LEMON Manuals: Even more car manuals for everyone: 1960-2025
Home >> Jeep >> 2007 >> Compass Limited, AWD, Standard >> Repair and Diagnosis >> Engine Performance >> System >> DTCS P0137 To P0270 >> P0221-Throttle Position Sensor 2 Circuit Performance >> Diagnostic Test
April 5, 2026: LEMON Manuals is launched! Read the announcement.

Diagnostic Test

  1. 1) DTC IS ACTIVE 

    Start the engine and allow it to reach normal operating temperature.

    WARNING: When the engine is operating, do not stand in direct line with the fan. Do not put your hands near the pulleys, belts, or fan. Do not wear loose clothing. Failure to follow these instructions can result in personal injury or death.

    With the scan tool, select View DTCs.

    Is the status Active for this DTC? 

    Yes 

    1. Go to  2).

    No 

    1. Refer to the *CHECKING FOR AN INTERMITTENT CONDITION Diagnostic Procedure.
  2. 2) (F855) 5 VOLT SUPPLY CIRCUIT VOLTAGE 
    Fig 1: Measuring Voltage Of (F855) 5-Volt Supply Circuit In Throttle Body Harness Connector
    GC0053886Courtesy of CHRYSLER LLC

    Turn the ignition off.

    Disconnect the Throttle Body connector.

    Turn the ignition on.

    Measure the voltage of the (F855) 5 Volt Supply circuit in the Throttle Body harness connector.

    Is the voltage between 4.5 and 5.5 volts? 

    Yes 

    1. Go to  3).

    No 

    1. Go to  7).
  3. 3) (K122) TP SIGNAL 2 CIRCUIT VOLTAGE 
    Fig 2: Measuring Voltage Of (K122) TP Signal 2 Circuit In Throttle Body Harness Connector
    GC0054090Courtesy of CHRYSLER LLC

    Measure the voltage of the (K122) TP Signal 2 circuit in the Throttle Body harness connector.

    Is the voltage between 4.5 and 5.5 volts? 

    Yes 

    1. Go to  4).

    No 

    1. Go to  11).
  4. 4) (K922) TP SENSOR GROUND CIRCUIT TEST 
    Fig 3: Checking (K922) TP Sensor Ground In Throttle Body Harness Connector
    GC0054091Courtesy of CHRYSLER LLC

    Turn the ignition off.

    Using a 12 volt test light connected to 12 volts, check the (K922) TP Sensor Ground in the Throttle Body harness connector.

    NOTE: The test light should be illuminated and bright. Compare the brightness to that of a direct connection to the battery.

    Is the test light illuminated and bright? 

    Yes 

    1. Go to  5).

    No 

    1. Go to  15).
  5. 5) (F855) 5 VOLT SUPPLY CIRCUIT SHORTED TO THE (K122) TP SIGNAL 2 CIRCUIT 
    Fig 4: Checking TP Sensor 5 Volt Supply Circuit For Short To Signal 2 Circuit
    GC0054092Courtesy of CHRYSLER LLC

    Measure the resistance between the (F855) 5 Volt Supply circuit and the (K122) TP Signal 2 circuit in the Throttle Body harness connector.

    Is the resistance above 100 ohms? 

    Yes 

    1. Go to  6).

    No 

    1. Repair the (F855) 5 Volt Supply circuit for a short to the (K122) TP Signal 2 circuit.
    2. Perform PCM VERIFICATION TEST .
  6. 6) THROTTLE BODY 

    Using the wiring diagram/schematic as a guide, inspect the wiring and connectors between the Throttle Body and the Powertrain Control Module (PCM).

    Look for any chafed, pierced, pinched, or partially broken wires.

    Look for broken, bent, pushed out or corroded terminals.

    Inspect the Throttle Body for any condition that would result in an incorrect signal, such as damage or contamination.

    Were any problems found? 

    Yes 

    1. Repair as necessary.
    2. Perform PCM VERIFICATION TEST .

    No 

    1. Replace the Throttle Body.
    2. Perform PCM VERIFICATION TEST .
  7. 7) (F855) 5 VOLT SUPPLY CIRCUIT SHORTED TO VOLTAGE 
    Fig 5: Measuring Voltage Of (F855) 5-Volt Supply Circuit In Throttle Body Harness Connector
    GC0053886Courtesy of CHRYSLER LLC

    Turn the ignition off.

    Disconnect the Powertrain Control Module (PCM) connector.

    Turn the ignition on.

    Measure the voltage of the (F855) 5 Volt Supply circuit in the Throttle Body harness connector.

    Is there any voltage present? 

    Yes 

    1. Repair the (F855) 5 Volt Supply circuit for a short to voltage.
    2. Perform PCM VERIFICATION TEST .

    No 

    1. Go to  8).
  8. 8) (F855) 5 VOLT SUPPLY CIRCUIT SHORTED TO GROUND 
    Fig 6: Measuring Resistance Between Ground And (F855) 5-Volt Supply Circuit In Throttle Body Harness Connector
    GC0053991Courtesy of CHRYSLER LLC

    Turn the ignition off.

    Measure the resistance between ground and the (F855) 5 Volt Supply circuit in the Throttle Body harness connector.

    Is the resistance above 100 ohms? 

    Yes 

    1. Go to  9).

    No 

    1. Repair the (F855) 5 Volt Supply circuit for a short to ground.
    2. Perform PCM VERIFICATION TEST .
  9. 9) (F855) 5 VOLT SUPPLY CIRCUIT SHORTED TO THE (K922) TP SENSOR GROUND CIRCUIT 
    Fig 7: Checking TP Sensor 5 Volt Supply Circuit For Short To Sensor Ground Circuit
    GC0053992Courtesy of CHRYSLER LLC

    Measure the resistance between the (F855) 5 Volt Supply circuit and the (K922) TP Sensor Ground circuit in the Throttle Body harness connector.

    Is the resistance above 100 ohms? 

    Yes 

    1. Go to  10).

    No 

    1. Repair the (F855) 5 Volt Supply circuit for a short to the (K922) TP Sensor Ground circuit.
    2. Perform PCM VERIFICATION TEST .
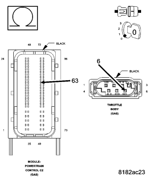
  10. 10) (F855) 5 VOLT SUPPLY CIRCUIT OPEN OR HIGH RESISTANCE 
    Fig 8: Checking TP Sensor 5 Volt Supply Circuit For Open Or High Resistance
    GC0053993Courtesy of CHRYSLER LLC

    Measure the resistance of the (F855) 5 Volt Supply circuit between the Throttle Body harness connector and the Powertrain Control Module (PCM) harness connector.

    Is the resistance below 5.0 ohms? 

    Yes 

    1. Go to  16).

    No 

    1. Repair the (F855) 5 Volt Supply circuit for an open circuit or high resistance.
    2. Perform PCM VERIFICATION TEST .
  11. 11) (K122) TP SIGNAL 2 CIRCUIT SHORTED TO VOLTAGE 
    Fig 9: Measuring Voltage Of (K122) TP Signal 2 Circuit In Throttle Body Harness Connector
    GC0054090Courtesy of CHRYSLER LLC

    Turn the ignition off.

    Disconnect the Powertrain Control Module (PCM) connector.

    Turn the ignition on.

    Measure the voltage of the (K122) TP Signal 2 circuit in the Throttle Body harness connector.

    Is there any voltage present? 

    Yes 

    1. Repair the (K122) TP Signal 2 circuit for a short to voltage.
    2. Perform PCM VERIFICATION TEST .

    No 

    1. Go to  12).
  12. 12) (K122) TP SIGNAL 2 CIRCUIT SHORTED TO GROUND 
    Fig 10: Measuring Resistance Between Ground And (K122) TP Signal 2 Circuit In Throttle Body Harness Connector
    GC0054093Courtesy of CHRYSLER LLC

    Turn the ignition off.

    Measure the resistance between ground and the (K122) TP Signal 2 circuit in the Throttle Body harness connector.

    Is the resistance above 100 ohms? 

    Yes 

    1. Go to  13).

    No 

    1. Repair the (K122) TP Signal 2 circuit for a short to ground.
    2. Perform PCM VERIFICATION TEST .
  13. 13) (K122) TP SIGNAL 2 CIRCUIT SHORTED TO (K922) TP SENSOR GROUND CIRCUIT 
    Fig 11: Checking TP Sensor Signal 2 Circuit For Short To Sensor Ground Circuit
    GC0054094Courtesy of CHRYSLER LLC

    Measure the resistance between the (K122) TP Signal 2 circuit and the (K922) TP Sensor Ground circuit in the Throttle Body harness connector.

    Is the resistance above 100 ohms? 

    Yes 

    1. Go to  14).

    No 

    1. Repair the (K122) TP Signal 2 circuit for a short to the (K922) TP Sensor Ground circuit.
    2. Perform PCM VERIFICATION TEST .
  14. 14) (K122) TP SIGNAL 2 CIRCUIT OPEN OR HIGH RESISTANCE 
    Fig 12: Checking TP Sensor Signal 2 Circuit For Open Or High Resistance
    GC0054095Courtesy of CHRYSLER LLC

    Measure the resistance of the (K122) TP Signal 2 circuit between the Throttle Body harness connector and the Powertrain Control Module (PCM) harness connector.

    Is the resistance below 5.0 ohms? 

    Yes 

    1. Go to  16).

    No 

    1. Repair the (K122) TP Signal 2 circuit for an open circuit or high resistance.
    2. Perform PCM VERIFICATION TEST .
  15. 15) (K922) TP SENSOR GROUND CIRCUIT OPEN OR HIGH RESISTANCE 
    Fig 13: Checking TP Sensor Ground Circuit For Open Or High Resistance
    GC0053892Courtesy of CHRYSLER LLC

    Turn the ignition off.

    Disconnect the Powertrain Control Module (PCM) connector.

    Measure the resistance of the (K922) TP Sensor Ground circuit between the Throttle Body harness connector and the Powertrain Control Module (PCM) harness connector.

    Is the resistance below 5.0 ohms? 

    Yes 

    1. Go to  16).

    No 

    1. Repair the circuit for an open circuit or high resistance.
    2. Perform PCM VERIFICATION TEST .
  16. 16) POWERTRAIN CONTROL MODULE (PCM) 

    Using the wiring diagram/schematic as a guide, inspect the wiring and connectors between the Throttle Body and the Powertrain Control Module (PCM).

    Look for any chafed, pierced, pinched, or partially broken wires.

    Look for broken, bent, pushed out or corroded terminals.

    Monitor the scan tool data relative to this circuit and wiggle test the wiring and connectors.

    Look for the data to change or for the DTC to reset during the wiggle test.

    Refer to any Technical Service Bulletins that may apply.

    Were any problems found? 

    Yes 

    1. Repair as necessary.
    2. Perform PCM VERIFICATION TEST .

    No 

    1. Replace and program the Powertrain Control Module (PCM) in accordance with the Service Information.
    2. Perform PCM VERIFICATION TEST .