LEMON Manuals: Even more car manuals for everyone: 1960-2025
Home >> Jeep >> 2008 >> Commander 2WD V8-4.7L >> Repair and Diagnosis >> Diagrams >> Connector Views >> Air Bag Control Module
April 5, 2026: LEMON Manuals is launched! Read the announcement.

Air Bag Control Module




Component ID: 228
Component : MODULE-OCCUPANT RESTRAINT CONTROLLER

Connector:
Name : MODULE-OCCUPANT RESTRAINT CONTROLLER C1
Color :
# of pins : 32




Pin Circuit Description
1 R53 20LG/YL DRIVER SEAT BELT TENSIONER LINE 2
2 R55 20LG/DG DRIVER SEAT BELT TENSIONER LINE 1
3 R56 20LB/DG PASSENGER SEAT BELT TENSIONER LINE 1
4 R54 20LB/YL PASSENGER SEAT BELT TENSIONER LINE 2
5 - -
6 - -
7 - -
8 - -
9 - -
10 - -
11 - -
12 - -
13 R261 20LB/BK DRIVER SEAT POSITION SENSOR DATA
14 - -
15 R13 20LG/TN LEFT SIDE IMPACT SENSOR 1 SIGNAL
16 R16 20BR/LG RIGHT SIDE IMPACT SENSOR 1 GROUND
17 R263 20LB/VT DRIVER SEAT POSITION SENSOR VOLTAGE
18 - -
19 R15 20LG/BR LEFT SIDE IMPACT SENSOR 1 GROUND
20 R19 20LG/WT LEFT SIDE IMPACT SENSOR 2 GROUND
21 R20 20WT/LG RIGHT SIDE IMPACT SENSOR 2 GROUND
22 R17 20LG LEFT SIDE IMPACT SENSOR 2 SIGNAL
23 R18 20LB RIGHT SIDE IMPACT SENSOR 2 SIGNAL
24 R14 20TN/LG RIGHT SIDE IMPACT SENSOR 1 SIGNAL
25 - -
26 - -
27 - -
28 - -
29 R1 20LB/WT LEFT CURTAIN SQUIB 1 LINE 2
30 R3 20LB/OR LEFT CURTAIN SQUIB 1 LINE 1
31 R4 20OR/LB RIGHT CURTAIN SQUIB 1 LINE 1
32 R2 20WT/LB RIGHT CURTAIN SQUIB 1 LINE 2

Component Location - 53




Component Location - 56






Connector:
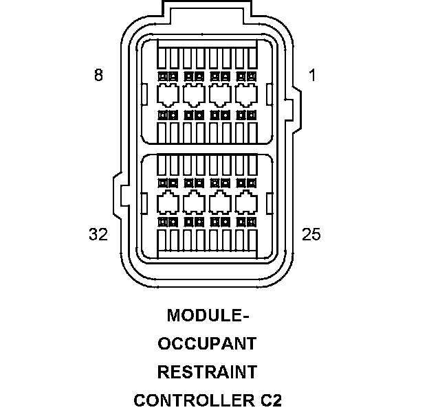
Name : MODULE-OCCUPANT RESTRAINT CONTROLLER C2
Color :
# of pins : 32




Pin Circuit Description
1 R43 20LG/BR DRIVER SQUIB 1 LINE 2
2 R45 20LG/OR DRIVER SQUIB 1 LINE 1
3 R63 20LG/WT DRIVER SQUIB 2 LINE 1
4 R61 20LG/VT DRIVER SQUIB 2 LINE 2
5 R42 20LB/BR PASSENGER SQUIB 1 LINE 2
6 R44 20LB/OR PASSENGER SQUIB 1 LINE 1
7 R64 20LB/WT PASSENGER SQUIB 2 LINE 1
8 R62 20LB/VT PASSENGER SQUIB 2 LINE 2
9 - -
10 - -
11 - -
12 R82 20WT/LB RIGHT FRONT IMPACT SENSOR GROUND
13 - -
14 - -
15 D65 20WT/LG CAN C BUS (+)
16 F201 20PK/OR FUSED IGNITION SWITCH OUTPUT (RUN-START)
17 - -
18 - -
19 R80 20VT/LB RIGHT FRONT IMPACT SENSOR SIGNAL.
20 R81 20LB/WT LEFT FRONT IMPACT SENSOR GROUND
21 R79 20LB/VT LEFT FRONT IMPACT SENSOR SIGNAL
22 Z104 20BK/LG GROUND
23 D64 20WT/LB CAN C BUS (-)
24 F100 20PK/VT FUSED RUN RELAY OUTPUT
25 R22 20WT/LB RIGHT SIDE IMPACT SENSOR 3 SIGNAL
26 R23 20LB/YL LEFT SIDE IMPACT SENSOR 3 GROUND
27 R21 20LB/WT LEFT SIDE IMPACT SENSOR 3 SIGNAL
28 R24 20YL/LB RIGHT SIDE IMPACT SENSOR 3 GROUND
29 - -
30 - -
31 - -
32 - -

Component Location - 53




Component Location - 56