LEMON Manuals: Even more car manuals for everyone: 1960-2025
Home >> Jeep >> 2008 >> Commander 2WD V8-5.7L >> Repair and Diagnosis >> Diagrams >> Connector Views >> Power Distribution Module >> Module-Front Control
April 5, 2026: LEMON Manuals is launched! Read the announcement.

Module-Front Control




Component ID: 218
Component : MODULE-FRONT CONTROL

Connector:
Name : MODULE-FRONT CONTROL C1
Color :
# of pins : 24




Pin Circuit Description
1 Z131 18BK/DG GROUND
2 D55 20WT/OR CAN B BUS (+)
3 D54 20WT CAN B BUS (-)
4 F26 18PK/OR IGNITION SWITCH OUTPUT (START)
5 D72 20WT/LB DIAGNOSTIC CAN C (+)
6 D71 20WT/DB DIAGNOSTIC CAN C (-)
7 - -
8 D65 20WT/LG CAN C BUS (+)
9 D64 20WT/LB CAN C BUS (-)
10 B20 20DG/OR BRAKE FLUID LEVEL SWITCH SENSE
11 C18 20LB/BR A/C PRESSURE SIGNAL
12 - -
13 L91 20WT/DB HAZARD SWITCH SENSE
14 - -
15 - -
16 F891 20PK/GY 5 VOLT SUPPLY
17 - -
18 W1 20BR/TN WASHER FLUID LEVEL SENSOR SIGNAL
19 - -
20 - -
21 L50 18WT/TN BRAKE LAMP SWITCH OUTPUT
22 Z387 18BK GROUND
23 - -
24 Z131 18BK/DG GROUND

Component Location - 6






Connector:
Name : MODULE-FRONT CONTROL C2
Color :
# of pins : 12




Pin Circuit Description
1 L44 18WT/TN RIGHT LOW BEAM DRIVER
2 P807 20LG/LB INVERTER SWITCH SIGNAL
3 W14 20BR/LB REAR WIPER MOTOR DELAY SIGNAL
4 G31 20VT/OR AAT SIGNAL
5 G931 20VT/BR SENSOR GROUND
6 L43 18WT/DB LEFT LOW BEAM DRIVER
7 L33 18WT/LG LEFT HIGH BEAM DRIVER
8 L60 20WT/TN RIGHT TURN SIGNAL
9 W13 20BR/LG FUSED REAR WIPER MOTOR CONTROL OUTPUT
10 L61 20WT/LG LEFT TURN SIGNAL
11 Z387 18BK GROUND
12 L34 18WT/GY RIGHT HIGH BEAM DRIVER

Component Location - 6






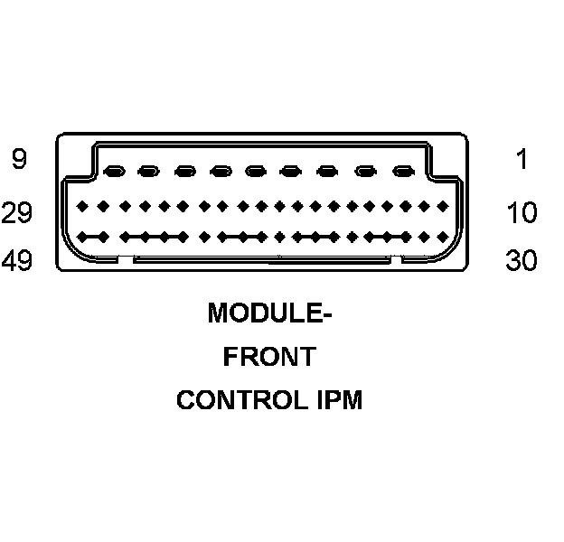
Connector:
Name : MODULE-FRONT CONTROL IPM
Color :
# of pins : 49




Pin Circuit Description
1 - -
2 INTERNAL FUSED B(+)
3 INTERNAL FUSED B(+)
4 INTERNAL FUSED B(+)
5 INTERNAL FUSED B(+)
6 - -
7 INTERNAL BACKUP LAMP FEED
8 - -
9 - -
10 K360 20GY/BR PTC NO. 1 RELAY CONTROL
11 W20 18BR/YL REAR WASHER PUMP MOTOR CONTROL
12 W10 18BR FRONT WASHER PUMP MOTOR CONTROL
13 INTERNAL FUSED IGNITION SWITCH OUTPUT (RUN-START)
14 K361 20BR/WT PTC NO. 2 RELAY CONTROL
15 INTERNAL FUSED B(+) (I.O.D.)
16 - -
17 INTERNAL FUSED IGNITION SWITCH OUTPUT (RUN-START)
18 INTERNAL GROUND
19 Z131 18BK/DG GROUND
20 - -
21 INTERNAL RIGHT TRAILER TOW BRAKE LAMP RELAY CONTROL
22 INTERNAL LEFT TRAILER TOW BRAKE LAMP RELAY CONTROL
23 - -
24 INTERNAL GROUND
25 INTERNAL GROUND
26 INTERNAL FRONT FOG LAMP RELAY CONTROL
27 INTERNAL WIPER ON/OFF RELAY CONTROL
28 INTERNAL REAR FOG LAMP RELAY CONTROL
29 INTERNAL HIGH/LOW WIPER RELAY CONTROL
30 A15 16RD/TN FUSED ASD RELAY OUTPUT
31 W7 20BR/GY FRONT WIPER PARK SWITCH SENSE
32 Z131 18BK/DG GROUND
33 INTERNAL GROUND
34 L62 18WT/OR RIGHT REAR TURN SIGNAL CONTROL
35 C918 20BK/LB FCM SENSOR RETURN
36 - -
37 W12 20BR/OR REAR WIPER RELAY CONTROL
38 P305 20LG/LB ACCESSORY DELAY RELAY CONTROL
39 INTERNAL LOW SPEED RADIATOR FAN RELAY CONTROL
40 - -
41 Z387 18BK GROUND
42 - -
43 L63 18WT/DG LEFT REAR TURN SIGNAL CONTROL
44 G70 20VT/LB HOOD AJAR SWITCH SENSE
45 K173 20BR/VT HYDRAULIC RADIATOR FAN SOLENOID CONTROL
46 INTERNAL ADJUSTABLE PEDALS RELAY CONTROL
47 INTERNAL HORN RELAY CONTROL
48 INTERNAL PARK LAMP RELAY CONTROL
49 INTERNAL RADIATOR FAN HIGH RELAY CONTROL

Component Location - 6