LEMON Manuals: Even more car manuals for everyone: 1960-2025
Home >> Jeep >> 2009 >> Commander 4WD V6-3.7L >> Repair and Diagnosis >> Diagrams >> Connector Views >> Body Control Module >> Front Control Module (IPM) 49 Way
April 5, 2026: LEMON Manuals is launched! Read the announcement.

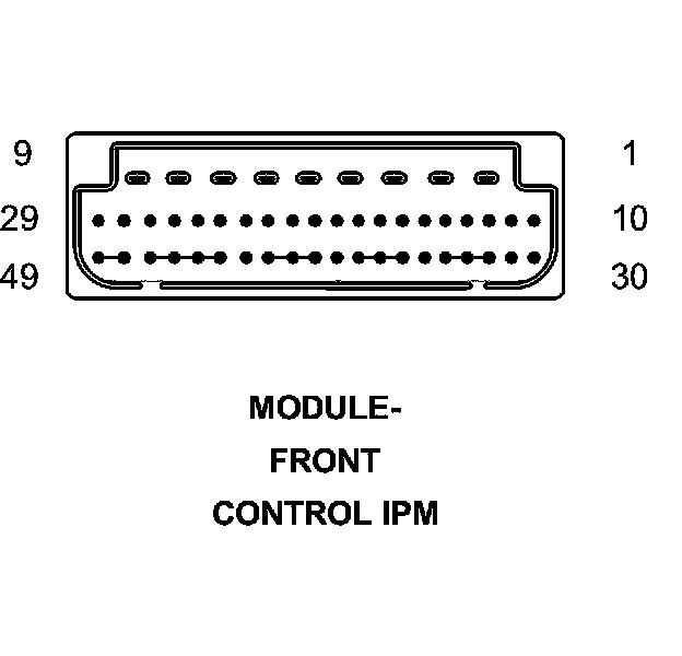
Front Control Module (IPM) 49 Way






Connector - (IPM) 49 WAY




MODULE-FRONT CONTROL - (IPM) 49 WAY