LEMON Manuals: Even more car manuals for everyone: 1960-2025
Home >> Jeep >> 2010 >> Liberty Limited, 4WD, Part Time >> Repair and Diagnosis >> Restraints >> Restraints Control Systems >> Occupant Classification Module (OCM) - Electrical Diagnostics >> DTC Troubleshooting >> U1419-Implausible Data Received From OCS Sensor 3 - Left Front >> Circuit Schematic
April 5, 2026: LEMON Manuals is launched! Read the announcement.

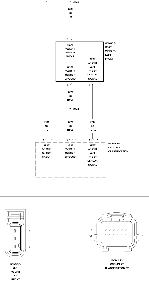
Circuit Schematic

Fig 1: Seat Weight Left Front Sensor Signal Circuit Schematic
GC0101823Courtesy of CHRYSLER LLC