LEMON Manuals: Even more car manuals for everyone: 1960-2025
Home >> Jeep >> 2011 >> Compass Limited, FWD, Automatic CVT >> Repair and Diagnosis >> Transmission >> Transmission Control Systems >> (Transmission Control Module (TCM) - Electrical Diagnostics) >> DTC Troubleshooting >> P0717-Input Speed Sensor 1 Circuit No Signal >> Diagnostic Test
April 5, 2026: LEMON Manuals is launched! Read the announcement.

Diagnostic Test

  1. CHECK IF THE DTC IS ACTIVE 
    1. With the scan tool, read Transmission DTCs.

      Is the status Active or is the Starts Since Set counter 2 or less for this DTC?

      Yes 

      • Go To  2.

      No 

      • Go To  9.
  2. CHECK IF BOTH SPEED SENSORS SHOW NO SIGNAL 
    1. With the scan tool, read Transmission DTCs.

      Are both the Input and Output Speed Sensor No Signal DTCs set?

      Yes 

      • Check the C106 connector for improper connection and repair as necessary.
      • Perform CVT VERIFICATION TEST. Refer to Standard Procedure .
      • If no problem is found with the C106 connector - Go To  3.

      No 

      • Go To  3.
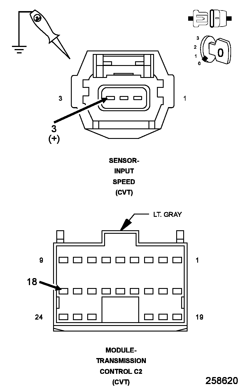
  3. CHECK THE (T16) TRANSMISSION CONTROL OUTPUT CIRCUIT FOR AN OPEN 
    Fig 1: Checking Transmission Control Output Circuit For An Open (High Resistance)
    GC0100317Courtesy of CHRYSLER LLC
    1. Turn the ignition off to the lock position.
    2. Disconnect the Input Speed Sensor harness connector.
    3. Ignition on, engine not running.
    4. With the scan tool under TIPM, actuate the Transmission.
    5. Using a 12-volt test light connected to ground, check the (T16) Transmission Control Output circuit at the Input Speed Sensor harness connector.
      NOTE:

      The test light must illuminate brightly. Compare the brightness to that of a direct connection to the battery.

      Does the test light illuminate brightly?

      Yes 

      • Go To  4.

      No 

      • Repair the (T16) Transmission Control Output circuit for an open or high resistance.
      • Perform CVT VERIFICATION TEST. Refer to Standard Procedure .
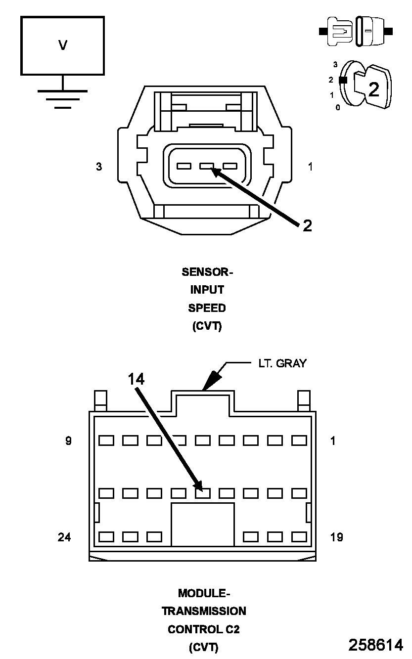
  4. CHECK THE (T14) INPUT SPEED SENSOR SIGNAL CIRCUIT SHORT TO VOLTAGE 
    Fig 2: Measuring Voltage Of Input Speed Sensor Signal Circuit
    GC0100320Courtesy of CHRYSLER LLC
    1. Turn the ignition off to the lock position.
    2. Disconnect the TCM C2 harness connector.
    3. Ignition on, engine not running.
    4. Measure the voltage of the (T14) Input Speed Sensor Signal circuit.

      Is the voltage above 0.5 volts?

      Yes 

      • Repair the (T14) Input Speed Sensor Signal circuit for a short to voltage.
      • Perform CVT VERIFICATION TEST. Refer to Standard Procedure .

      No 

      • Go To  5.
  5. CHECK THE (T14) INPUT SPEED SENSOR SIGNAL CIRCUIT FOR AN OPEN 
    Fig 3: Measuring Resistance Of Input Speed Sensor Signal Circuit Between TCM Harness Connector & Input Speed Sensor harness Connector
    GC0100321Courtesy of CHRYSLER LLC
    1. Turn the ignition off to the lock position.
    2. Measure the resistance of the (T14) Input Speed Sensor Signal circuit between the TCM C2 harness connector and the Input Speed Sensor harness connector.

      Is the resistance below 5.0 ohms?

      Yes 

      • Go To  6.

      No 

      • Repair the (T14) Input Speed Sensor Signal circuit for an open.
      • Perform CVT VERIFICATION TEST. Refer to Standard Procedure .
  6. CHECK THE (T14) INPUT SPEED SENSOR SIGNAL CIRCUIT FOR A SHORT TO GROUND 
    Fig 4: Measuring Resistance Between Ground & Input Speed Sensor Signal Circuit
    GC0100322Courtesy of CHRYSLER LLC
    1. Measure the resistance between ground and the (T14) Input Speed Sensor Signal circuit.

      Is the resistance below 5.0 ohms?

      Yes 

      • Repair the (T14) Input Speed Sensor Signal circuit for a short to ground.
      • Perform CVT VERIFICATION TEST. Refer to Standard Procedure .

      No 

      • Go To  7.
  7. CHECK THE (T13) SENSOR GROUND CIRCUIT FOR AN OPEN (HIGH RESISTANCE) 
    Fig 5: Checking Sensor Ground Circuit In TCM Harness Connector Using 12-Volt Test Light Connected To Ground
    GC0100323Courtesy of CHRYSLER LLC
    1. Turn the ignition off to the lock position.
    2. Disconnect the TCM C2 harness connector.
    3. Connect a jumper wire between the (T13) Sensor Ground circuit in the Input Speed Sensor harness connector and B(+).
    4. Using a 12-volt test light connected to ground, check the (T13) Sensor Ground circuit in the TCM C2 harness connector.

      Does the test light illuminate brightly?

      Yes 

      • Go To  8.

      No 

      • Repair the (T13) Sensor Ground circuit for an open or high resistance.
      • Perform CVT VERIFICATION TEST. Refer to Standard Procedure .
  8. CHECK THE INPUT SPEED SENSOR 
    1. Turn the ignition off to the lock position
    2. Replace the Input Speed Sensor in accordance with the Service Information.
    3. Reconnect all previously disconnected connectors.
    4. Ignition on, engine not running.
    5. With the scan tool, erase all Transmission DTCs.
    6. Perform CVT VERIFICATION TEST. Refer to Standard Procedure .
      NOTE:

      Make sure to perform a test drive of the vehicle.

    7. With the scan tool, read Transmission DTCs.

      Did the DTC P0717 reset?

      Yes 

      • Using the schematics as a guide, check the Transmission Control Module (TCM) terminals for corrosion, damage, or terminal push out. Pay particular attention to all power and ground circuits. Check for any Service Bulletins for possible causes that may apply. If no problems are found, replace the TCM in accordance with the Service Information.
      • Perform CVT VERIFICATION TEST. Refer to Standard Procedure .

      No 

      • Repair is complete.
  9. CHECK THE WIRING AND CONNECTORS 
    1. The conditions necessary to set this DTC are not present at this time.
    2. Using the schematics as a guide, inspect the wiring and connectors specific to this circuit.
    3. Wiggle the wires while checking for shorted and open circuits.

      Were there any problems found?

      Yes 

      No 

      • Test Complete.