LEMON Manuals: Even more car manuals for everyone: 1960-2025
Home >> Jeep >> 2012 >> Compass Limited, FWD, Automatic CVT >> Repair and Diagnosis >> External Pages >> Different car >> Section 297 (Vehicle System Interface Module (VSIM) Module - Electrical Diagnostics) >> DTC Troubleshooting >> B17D2-Emergency Flashing Lamp Request 2 Circuit High >> Diagnostic Test
April 5, 2026: LEMON Manuals is launched! Read the announcement.

Diagnostic Test

WARNING: This page is about a different car, the 2012 Dodge Charger. However, it is still accessible from the selected car via links, so may be relevant.
  1. CHECK FOR ANY OF THE FOLLOWING ACTIVE DTCS 
    1. With the scan tool, read all active DTCs from all modules.
    2. Record all communication and low system voltage DTCs.

      Does the scan tool display any active DTCs to the conditions listed above?

      Yes 

      • Diagnose and repair the DTC.
      • Refer to STANDARD PROCEDURE and perform the BODY VERIFICATION TEST.

      No 

      • Go To  2.
  2. CHECK FOR ACTIVE DIAGNOSTIC TROUBLE CODE (DTC) 
    1. With the scan tool, read the active DTCs.
    2. Erase the DTCs.
    3. Turn the ignition off, wait 10 seconds, then turn the ignition on.
    4. With the scan tool, read the active DTCs.

      Does the scan tool display this DTC as active?

      Yes 

      • Go To  3.

      No 

      • If the DTC is stored, check for an intermittent condition. Visually inspect the related wiring harness connectors. Look for broken, bent, pushed out, or corroded terminals, and repair any obvious problems.
      • Refer to STANDARD PROCEDURE and perform the BODY VERIFICATION TEST.
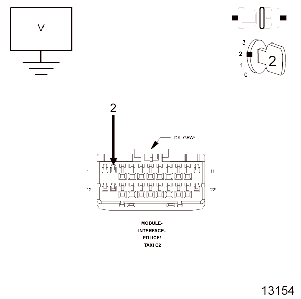
  3. CHECK THE (W501) REAR FLASHING LIGHTS SIGNAL CIRCUIT FOR A SHORT TO VOLTAGE 
    Fig 1: Checking Rear Flashing Lights Signal Circuit For A Short To Voltage
    GC0097229Courtesy of CHRYSLER GROUP, LLC
    1. Turn the ignition off.
    2. Disconnect the VSIM C1 harness connector.
    3. Turn the ignition on.
    4. Measure the voltage of the (W501) Rear Flashing Lights Signal circuit between ground and the VSIM C1 harness connector.

      Is there any voltage present?

      Yes 

      • Go To  4.

      No 

      • Go To  5.
  4. ISOLATE THE SHORT TO VOLTAGE IN THE (W501) REAR FLASHING LIGHTS SIGNAL CIRCUIT 
    Fig 2: Checking Rear Flashing Lights Signal Circuit For A Short To Voltage
    GC0097229Courtesy of CHRYSLER GROUP, LLC
    1. Turn the ignition off.
    2. Disconnect the VSIM 24 way harness connector (aftermarket light/siren controller side).
    3. Turn the ignition on.
    4. Measure the voltage of the (W501) Rear Flashing Lights Signal circuit between ground and the VSIM C1 harness connector.

      Is there any voltage present?

      Yes 

      • Repair the (W501) Rear Flashing Lights Signal circuit for a short to voltage.
      • Refer to STANDARD PROCEDURE and perform the BODY VERIFICATION TEST.

      No 

      • Refer to DIAGNOSTIC CODE INDEX  for the aftermarket light/siren controller, and repair or replace the aftermarket light siren controller in accordance with the manufacturer's Service Information.
      • Refer to STANDARD PROCEDURE and perform the BODY VERIFICATION TEST.
  5. CHECK THE (W501) REAR FLASHING LIGHTS SIGNAL CIRCUIT FOR AN OPEN 
    Fig 3: Checking Rear Flashing Lights Signal Circuit For An Open
    GC0097230Courtesy of CHRYSLER GROUP, LLC
    1. Turn the ignition off.
    2. Disconnect the VSIM 24 way harness connector (aftermarket light/siren controller side).
    3. Measure the resistance of the (W501) Rear Flashing Lights Signal circuit between the VSIM 24 way and the VSIM C1 harness connectors.

      Is the resistance below 5.0 ohms?

      Yes 

      • Go To  6.

      No 

      • Repair the (W501) Rear Flashing Lights Signal circuit for an open or high resistance.
      • Refer to STANDARD PROCEDURE and perform the BODY VERIFICATION TEST.
  6. CHECK THE VSIM 
    1. Turn the ignition off.
    2. Disconnect all VSIM and aftermarket light/siren controller harness connectors.
    3. Check for damaged or corroded pins, pinched wires, or damaged connectors, and repair any obvious problems.
    4. Connect all VSIM and aftermarket light/siren controller harness connectors.
    5. Turn the ignition on.
    6. With the scan tool monitor active codes as you work through the following step.
    7. Wiggle the wiring harness and connectors of the VSIM and aftermarket light/siren controller.
    8. If only stored codes return continue the test until the problem area has been isolated, and repair any obvious problems.

      Is B17D2-EMERGENCY FLASHING LAMP REQUEST 2 CIRCUIT HIGH still displayed?

      Yes 

      • Replace the VSIM in accordance with the Service Information.
      • Refer to STANDARD PROCEDURE and perform the BODY VERIFICATION TEST.

      No 

      • Repair is complete. The problem may have been caused by a loose or corroded terminal.
      • Refer to STANDARD PROCEDURE and perform the BODY VERIFICATION TEST.