LEMON Manuals: Even more car manuals for everyone: 1960-2025
Home >> Jeep >> 2012 >> Wrangler Sport, Standard Trans >> Repair and Diagnosis >> External Pages >> Different car >> Section 13 (Rear Driveline Module) >> Case Assembly, Differential >> Operation >> Operation
April 5, 2026: LEMON Manuals is launched! Read the announcement.

Case Assembly, Differential: Operation: Operation

WARNING: This page is about a different car, the 2014 Dodge Journey. However, it is still accessible from the selected car via links, so may be relevant.
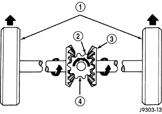
Fig 1: Differential Operation-Straight Ahead Driving
GC0128468Courtesy of CHRYSLER GROUP, LLC
1 - IN STRAIGHT AHEAD DRIVING EACH WHEEL ROTATES AT 100% OF CASE SPEED
2 - PINION GEAR
3 - SIDE GEAR
4 - PINION GEARS ROTATE WITH CASE

In operation, power flow occurs as follows:

During straight-ahead driving, the differential pinion gears do not rotate on the pinion mate shaft. This occurs because input torque applied to the gears is divided and distributed equally between the two side gears. As a result, the pinion gears revolve with the pinion mate shaft but do not rotate around it.

Fig 2: Differential Operation-On Turns
GC0128469Courtesy of CHRYSLER GROUP, LLC
1 - PINION GEARS ROTATE ON PINION SHAFT

When turning corners, the outside wheel must travel a greater distance than the inside wheel to complete a turn. The difference must be compensated for to prevent the tires from scuffing and skidding through turns. To accomplish this, the differential allows the axle shafts to turn at unequal speeds. In this instance, the input torque applied to the pinion gears is not divided equally. The pinion gears now rotate around the pinion mate shaft in opposite directions. This allows the side gear and axle shaft attached to the outside wheel to rotate at a faster speed.