LEMON Manuals: Even more car manuals for everyone: 1960-2025
Home >> Kia >> 2001 >> Rio L4-1.5L >> Repair and Diagnosis >> Diagrams >> Exploded Views >> Exhaust System
April 5, 2026: LEMON Manuals is launched! Read the announcement.

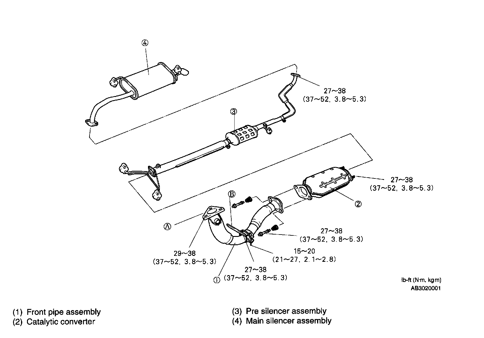
Exhaust System