LEMON Manuals: Even more car manuals for everyone: 1960-2025
Home >> Kia >> 2002 >> Optima L4-2.4L >> Repair and Diagnosis >> Starting and Charging >> Starting System >> Testing and Inspection
April 5, 2026: LEMON Manuals is launched! Read the announcement.

Starting System: Testing and Inspection




CHECK CLUTCH PEDAL
Check that pedal height, pedal freeplay and clutch pedal clevis pin play are correct.







CHECK STARTER RELAY
Remove the starter relay and check continuity between the terminals. If the continuity is not as specified, replace the relay.







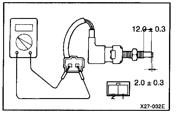
CHECK IGNITION LOCK SWITCH
Remove the ignition lock switch and check continuity between the terminals. If the continuity is not as specified, replace the switch.